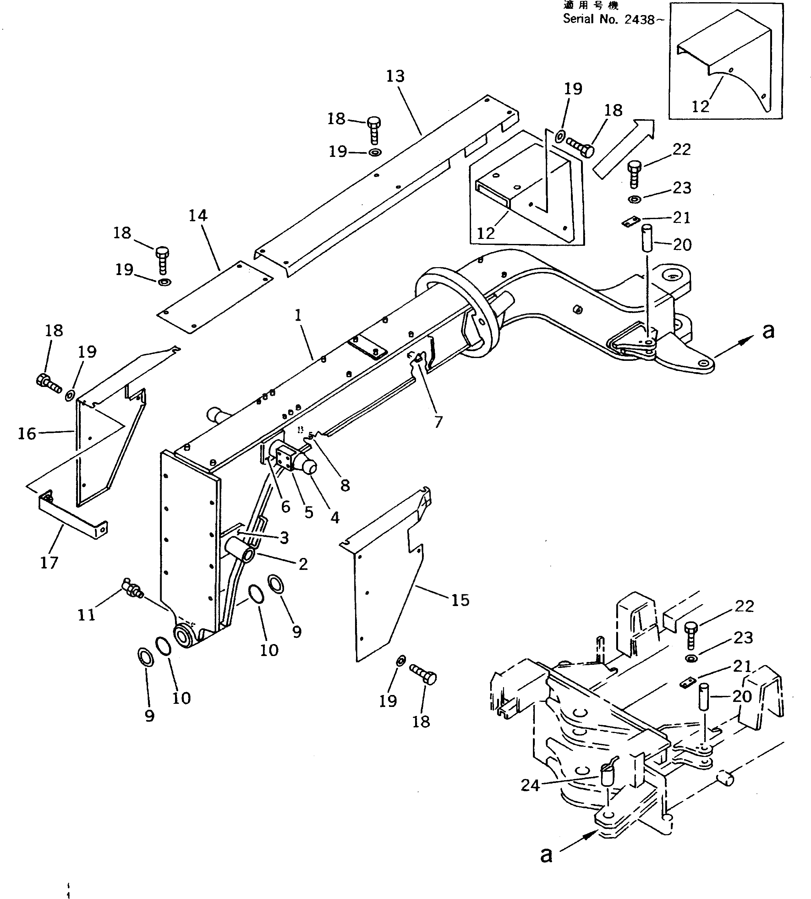
Запчасти Komatsu GD405A-2 ПЕРЕДН. РАМА (ДЛЯ 9 DEG. ГРУПП.)(№-) РАМА И ЧАСТИ КОРПУСА

Схема запчастей Komatsu GD405A-2 - ПЕРЕДН. РАМА (ДЛЯ 9 DEG. ГРУПП.)(№-) РАМА И ЧАСТИ КОРПУСА
FIT
1:1
100%

Артикул

Название

Примечание

Количество

|1

23D-46-11031

FRAME ASS'Y,FRONT

SN: 2001-3400

1шт.

1

0

FRAME,FRONT

SN: 2001-3400

1шт.

2

23E-71-11120

TUBE (WELDED)

SN: 2001-@

1шт.

3

23D-71-11110

PLATE (WELDED)

SN: 2001-@

2шт.

4

23D-71-11170

SHAFT (WELDED)

SN: 2001-3400

1шт.

5

23D-71-11180

BRACKET (WELDED)

SN: 2001-@

2шт.

6

23D-71-11190

PLATE (WELDED)

SN: 2001-3400

2шт.

7

233-60-29470

SEAT (WELDED)

SN: 2001-@

1шт.

8

01571-00814

SEAT (WELDED)

SN: 2001-3400

1шт.

9

23D-46-11320

WASHER

SN: 2001-@

2шт.

10

07000-15090

O-RING

SN: 2001-@

2шт.

11

07020-00675

FITTING,GREASE

SN: 2001-@

1шт.

12

23D-60-14390

COVER

SN: 2438-@

1шт.

|12

23D-60-14370

COVER

SN: 2001-2437

1шт.

13

23D-60-17762

COVER

SN: 2438-@

1шт.

|13

23D-60-17761

COVER

SN: 2001-2437

1шт.

14

23D-60-14320

COVER

SN: 2001-@

1шт.

15

23D-60-14881

COVER

SN: 2438-@

1шт.

|15

23D-60-14880

COVER

SN: 2001-2437

1шт.

16

23D-60-14871

COVER

SN: 2438-@

1шт.

|16

23D-60-14870

COVER

SN: 2001-2437

1шт.

17

23D-60-14310

PLATE

SN: 2001-@

1шт.

18

01010-51020

BOLT

SN: 2001-@

24шт.

19

01643-31032

WASHER

SN: 2001-@

24шт.

20

23D-46-11390

PIN

SN: 2001-@

4шт.

21

04082-00206

LOCK

SN: 2001-@

4шт.

22

01010-51225

BOLT

SN: 2001-@

8шт.

23

01643-31232

WASHER

SN: 2001-@

8шт.

24

23D-46-11410

PIN

SN: 2001-@

1шт.

Выбрано товаров: 29