Запчасти Komatsu GD405A-2 ДВИГАТЕЛЬ И ЧАСТИ КРЕПЛЕНИЯ ТРАНСМИССИИ КОМПОНЕНТЫ ДВИГАТЕЛЯ И ЭЛЕКТРИКА

Схема запчастей Komatsu GD405A-2 - ДВИГАТЕЛЬ И ЧАСТИ КРЕПЛЕНИЯ ТРАНСМИССИИ КОМПОНЕНТЫ ДВИГАТЕЛЯ И ЭЛЕКТРИКА
FIT
1:1
100%

Артикул

Название

Примечание

Количество

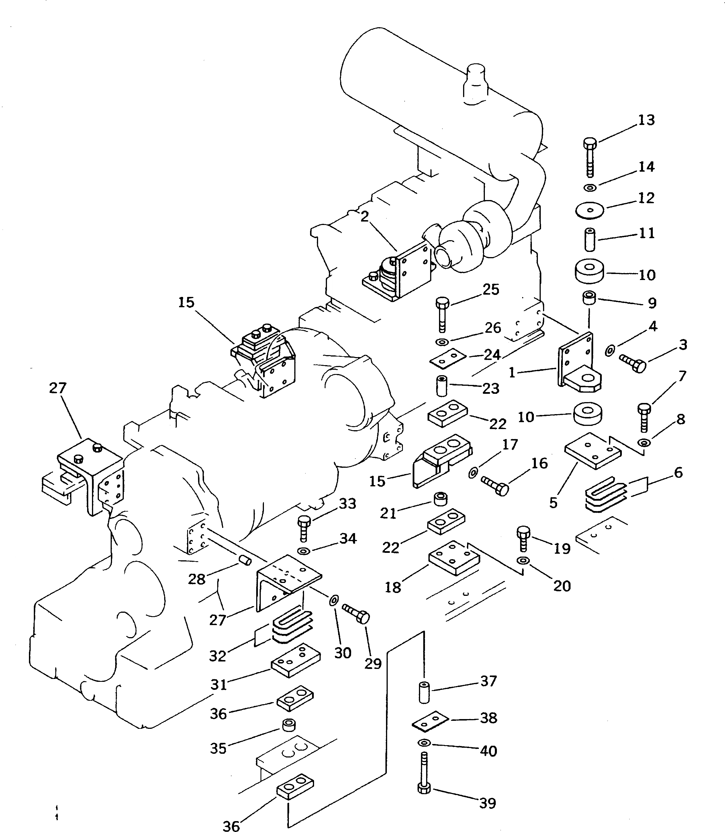
1

23A-01-12230

BRACKET,L.H.

SN: 1001-UP

1шт.

2

23A-01-12220

BRACKET,R.H.

SN: 1001-UP

1шт.

3

01010-51035

BOLT

SN: 1001-UP

8шт.

4

01643-31032

WASHER

SN: 1001-UP

8шт.

5

23A-01-12240

PLATE

SN: 1001-UP

2шт.

6

23A-01-00080

SHIM ASS'Y

SN: 1001-UP

1шт.

|6

0

SHIM¤ 0.2MM

SN: 1001-UP

15шт.

|6

0

SHIM¤ 0.5MM

SN: 1001-UP

6шт.

|6

0

SHIM¤ 1.0MM

SN: 1001-UP

10шт.

7

01010-51660

BOLT

SN: 1001-UP

4шт.

8

01643-31645

WASHER

SN: 1001-UP

4шт.

9

23B-01-11240

CUSHION

SN: 1001-UP

2шт.

10

23A-01-11210

CUSHION

SN: 1001-UP

4шт.

11

23A-01-11250

SPACER

SN: 1001-UP

2шт.

12

23A-01-11260

PLATE

SN: 1001-UP

2шт.

13

01010-51695

BOLT

SN: 1001-UP

2шт.

14

01643-31645

WASHER

SN: 1001-UP

2шт.

15

23D-01-11340

BRACKET

SN: 1001-UP

2шт.

16

01010-51240

BOLT

SN: 1001-UP

8шт.

17

01643-31232

WASHER

SN: 1001-UP

8шт.

18

23D-01-11350

PLATE

SN: 1001-UP

2шт.

19

01010-51650

BOLT

SN: 1001-UP

4шт.

20

01643-31645

WASHER

SN: 1001-UP

4шт.

21

23B-01-11240

CUSHION

SN: 1001-UP

4шт.

22

23A-01-11410

CUSHION

SN: 1001-UP

4шт.

23

23A-01-11250

SPACER

SN: 1001-UP

4шт.

24

23A-01-11440

PLATE

SN: 1001-UP

2шт.

25

01010-51695

BOLT

SN: 1001-UP

4шт.

26

01643-31645

WASHER

SN: 1001-UP

4шт.

27

23D-01-11330

BRACKET,L.H.

SN: 1001-UP

1шт.

|27

23D-01-11320

BRACKET,R.H.

SN: 1001-UP

1шт.

28

04020-01024

PIN,DOWEL

SN: 1001-UP

4шт.

29

01010-51240

BOLT

SN: 1001-UP

8шт.

30

01643-31232

WASHER

SN: 1001-UP

8шт.

31

23D-01-11370

PLATE

SN: 1001-UP

2шт.

32

23E-01-00030

SHIM ASS'Y

SN: 1001-UP

1шт.

|32

0

SHIM¤ 0.2MM

SN: 1001-UP

10шт.

|32

0

SHIM¤ 0.5MM

SN: 1001-UP

4шт.

|32

0

SHIM¤ 1.0MM

SN: 1001-UP

8шт.

33

01010-51650

BOLT

SN: 1001-UP

4шт.

34

01643-31645

WASHER

SN: 1001-UP

4шт.

35

23B-01-11240

CUSHION

SN: 1001-UP

4шт.

36

23A-01-11410

CUSHION

SN: 1001-UP

4шт.

37

23A-01-11250

SPACER

SN: 1001-UP

4шт.

38

23A-01-11440

PLATE

SN: 1001-UP

2шт.

39

01010-51695

BOLT

SN: 1001-UP

4шт.

40

01643-31645

WASHER

SN: 1001-UP

4шт.

Выбрано товаров: 0