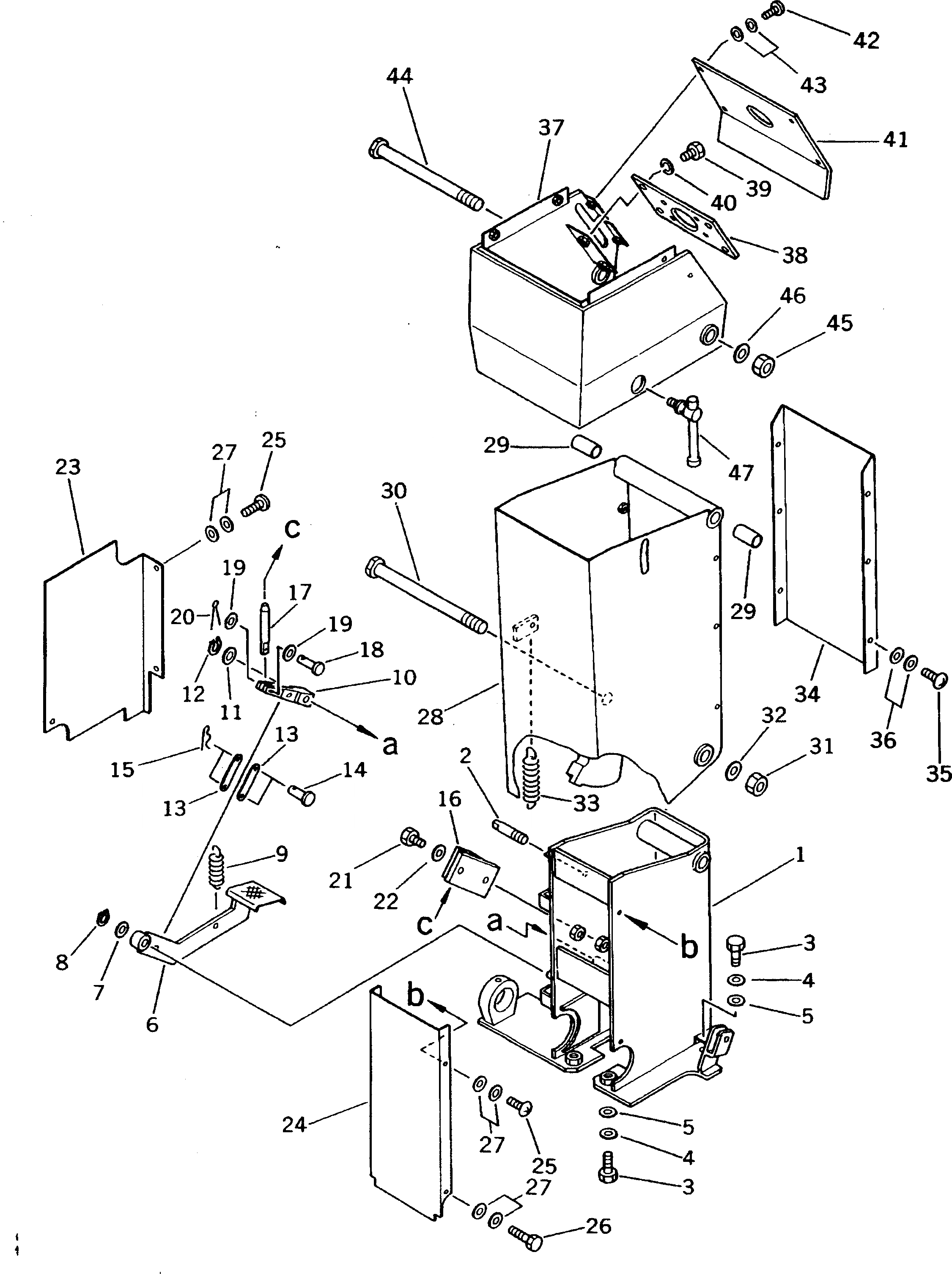
Запчасти Komatsu GD405A-2S КОНСОЛЬН. БЛОК (/)(№-) СИСТЕМА УПРАВЛЕНИЯ

Схема запчастей Komatsu GD405A-2S - КОНСОЛЬН. БЛОК (/)(№-) СИСТЕМА УПРАВЛЕНИЯ
FIT
1:1
100%

Артикул

Название

Примечание

Количество

1

23D-43-18410

BRACKET

SN: 4001-4500

1шт.

2

238-43-38280

BOLT

SN: 4001-@

1шт.

3

01010-51235

BOLT

SN: 4001-4500

4шт.

4

01643-31232

WASHER

SN: 4001-4500

4шт.

5

01640-21223

WASHER

SN: 4001-4500

4шт.

6

238-43-38220

PEDAL

SN: 4001-@

1шт.

7

01643-31232

WASHER

SN: 4001-@

1шт.

8

04064-01210

RING,SNAP

SN: 4001-@

1шт.

9

234-835-2230

SPRING

SN: 4001-@

1шт.

10

238-43-38210

LEVER

SN: 4001-@

1шт.

11

01643-31232

WASHER

SN: 4001-@

1шт.

12

04064-01210

RING,SNAP

SN: 4001-@

1шт.

13

234-43-38770

PLATE

SN: 4001-4500

2шт.

14

04205-10822

PIN

SN: 4001-@

2шт.

15

234-43-18710

PIN,SNAP

SN: 4001-@

2шт.

16

238-43-38180

BLOCK

SN: 4001-@

1шт.

17

238-43-38190

PIN

SN: 4001-@

1шт.

18

04205-10628

PIN

SN: 4001-@

1шт.

19

01643-30623

WASHER

SN: 4001-4500

2шт.

20

233-43-27750

PIN,SNAP

SN: 4001-@

1шт.

21

01010-51030

BOLT

SN: 4001-@

2шт.

22

01643-31032

WASHER

SN: 4001-@

2шт.

23

238-43-38250

COVER

SN: 4001-4500

1шт.

24

238-43-38240

COVER

SN: 4001-4500

1шт.

25

01220-40616

SCREW

SN: 4001-@

4шт.

26

01010-50616

BOLT

SN: 4001-@

2шт.

27

01643-30623

WASHER

SN: 4001-4500

12шт.

28

235-43-28210

BOX

SN: 4001-4500

1шт.

29

234-885-1610

BUSHING

SN: 4001-@

2шт.

30

238-43-38160

SHAFT

SN: 4001-@

1шт.

31

233-43-27860

NUT

SN: 4001-@

1шт.

32

01643-31845

WASHER

SN: 4001-@

1шт.

33

230-43-13120

SPRING

SN: 4001-@

1шт.

34

238-43-38260

COVER

SN: 4001-4500

1шт.

35

01220-40616

SCREW

SN: 4001-@

6шт.

36

01643-30623

WASHER

SN: 4001-4500

12шт.

37

235-43-28111

BOX

SN: 4028-4500

1шт.

|37

235-43-28110

BOX

SN: 4001-4027

1шт.

38

23D-43-18551

PLATE

SN: 4001-4500

1шт.

39

01010-51025

BOLT

SN: 4001-4500

4шт.

40

01602-21030

WASHER,SPRING

SN: 4001-4500

4шт.

41

23D-43-12220

COVER

SN: 4028-4500

1шт.

|41

235-43-28120

COVER

SN: 4001-4027

1шт.

42

01220-40620

SCREW

SN: 4001-@

4шт.

43

01643-30623

WASHER

SN: 4001-4500

8шт.

44

238-43-38170

SHAFT

SN: 4001-4500

1шт.

45

233-43-27860

NUT

SN: 4001-4500

1шт.

46

01643-31845

WASHER

SN: 4001-4500

1шт.

47

238-43-38230

HANDLE

SN: 4001-@

1шт.

Выбрано товаров: 49