Запчасти Komatsu GD405A-2S ПЕРЕДН. РАМА(№-) РАМА И ЧАСТИ КОРПУСА

Схема запчастей Komatsu GD405A-2S - ПЕРЕДН. РАМА(№-) РАМА И ЧАСТИ КОРПУСА
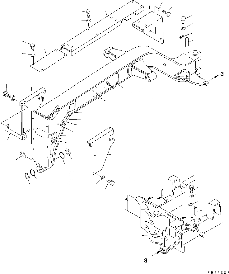
1
2
3
4
5
5
6
7
8
9
9
10
10
11
12
13
14
15
16
17
18
18
18
18
18
19
19
19
19
19
20
20
21
21
22
22
23
23
24
FIT
1:1
100%

Артикул

Название

Примечание

Количество

1

23D-46-11010

FRAME ASS'Y,FRONT

SN: 4001-4500

1шт.

2

23E-71-11120

TUBE (WELDED)

SN: 4001-@

1шт.

3

23D-71-11110

PLATE (WELDED)

SN: 4001-@

2шт.

4

23E-71-11221

PLATE (WELDED)

SN: 4001-4500

2шт.

5

23E-71-11330

PLATE (WELDED)

SN: 4001-4500

4шт.

6

23E-71-11321

PLATE (WELDED)

SN: 4001-4500

2шт.

7

23E-71-11230

BRACKET (WELDED)

SN: 4001-4500

1шт.

8

233-60-29470

SEAT (WELDED)

SN: 4001-@

1шт.

9

23D-46-11320

WASHER

SN: 4001-@

2шт.

10

07000-15090

O-RING

SN: 4001-@

2шт.

11

07020-00675

FITTING,GREASE

SN: 4001-@

1шт.

12

23D-60-14370

COVER

SN: 4001-@

1шт.

13

23D-60-14361

COVER

SN: 4028-4500

1шт.

|13

23D-60-14360

COVER

SN: 4001-4027

1шт.

14

23D-60-14320

COVER

SN: 4001-@

1шт.

15

23D-60-14350

COVER

SN: 4001-4500

1шт.

16

23D-60-14340

COVER

SN: 4001-4500

1шт.

17

23D-60-14310

PLATE

SN: 4001-@

1шт.

18

01010-51020

BOLT

SN: 4001-@

26шт.

19

01643-31032

WASHER

SN: 4001-@

26шт.

20

23D-46-11390

PIN

SN: 4001-@

4шт.

21

04082-00206

LOCK

SN: 4001-@

4шт.

22

01010-51225

BOLT

SN: 4001-@

8шт.

23

01643-31232

WASHER

SN: 4001-@

8шт.

24

23D-46-11410

PIN

SN: 4001-@

1шт.

Выбрано товаров: 25