Запчасти Komatsu GD405A-2SПАНЕЛЬ (/) РАМА И ЧАСТИ КОРПУСА

Схема запчастей Komatsu GD405A-2S -  ПАНЕЛЬ (/) РАМА И ЧАСТИ КОРПУСА
FIT
1:1
100%

Артикул

Название

Примечание

Количество

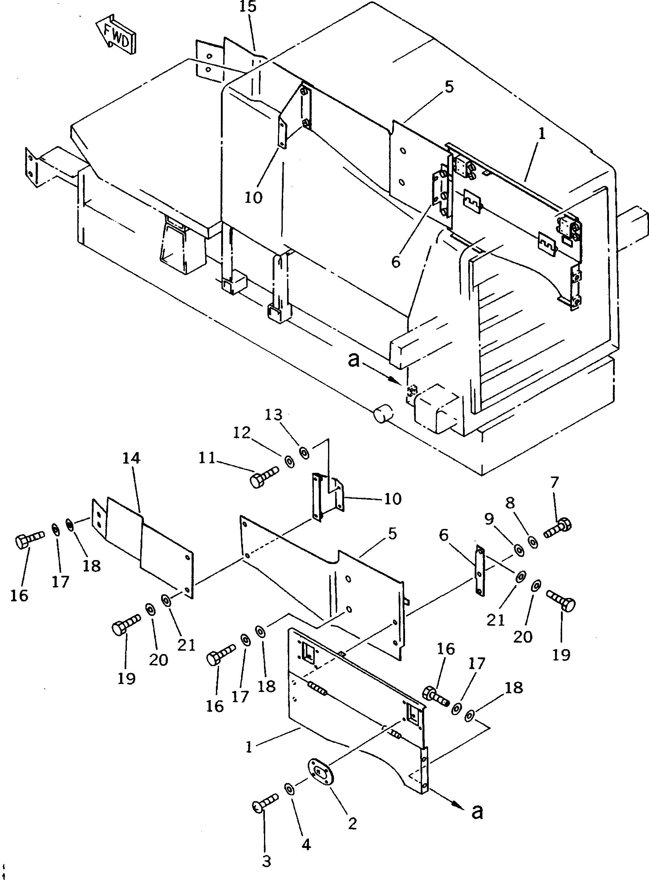
1

23E-54-11240

COVER,L.H.

SN: 4001-UP

1шт.

|1

23E-54-11250

COVER,R.H.

SN: 4001-UP

1шт.

2

23E-54-12270

CATCH

SN: 4001-UP

4шт.

3

01220-40812

SCREW

SN: 4001-UP

16шт.

4

01643-30823

WASHER

SN: 4001-UP

16шт.

5

23E-54-11270

COVER,L.H.

SN: 4001-UP

1шт.

|5

23E-54-11280

COVER,R.H.

SN: 4001-UP

1шт.

6

23E-54-11290

BRACKET,L.H.

SN: 4001-UP

1шт.

|6

23E-54-11310

BRACKET,R.H.

SN: 4001-UP

1шт.

7

01010-51020

BOLT

SN: 4020-UP

6шт.

|7

01010-51025

BOLT

SN: 4001-4019

6шт.

8

01643-31032

WASHER

SN: 4001-UP

6шт.

9

232-43-58360

WASHER

SN: 4020-UP

6шт.

|9

234-54-13252

WASHER

SN: 4001-4019

6шт.

10

23E-54-11350

BRACKET

SN: 4001-UP

2шт.

11

01010-51025

BOLT

SN: 4001-UP

4шт.

12

01643-31032

WASHER

SN: 4001-UP

4шт.

13

01643-31032

WASHER

SN: 4001-4500

4шт.

14

23D-54-13121

COVER,L.H.

SN: 4501-UP

1шт.

|14

23E-54-11360

COVER,L.H.

SN: 4001-4500

1шт.

15

23D-54-13131

COVER,R.H.

SN: 4501-UP

1шт.

|15

23E-54-11370

COVER,R.H.

SN: 4001-4500

1шт.

16

01010-51025

BOLT

SN: 4001-UP

12шт.

17

01643-31032

WASHER

SN: 4001-UP

12шт.

18

234-54-13252

WASHER

SN: 4001-UP

12шт.

19

01010-51025

BOLT

SN: 4001-UP

8шт.

20

01643-31032

WASHER

SN: 4001-UP

8шт.

21

01643-31032

WASHER

SN: 4001-4500

8шт.

Выбрано товаров: 28