Запчасти Komatsu GD405A-2S ПАНЕЛЬ ПРИБОРОВ(№-7) КОМПОНЕНТЫ ДВИГАТЕЛЯ И ЭЛЕКТРИКА

Схема запчастей Komatsu GD405A-2S - ПАНЕЛЬ ПРИБОРОВ(№-7) КОМПОНЕНТЫ ДВИГАТЕЛЯ И ЭЛЕКТРИКА
FIT
1:1
100%

Артикул

Название

Примечание

Количество

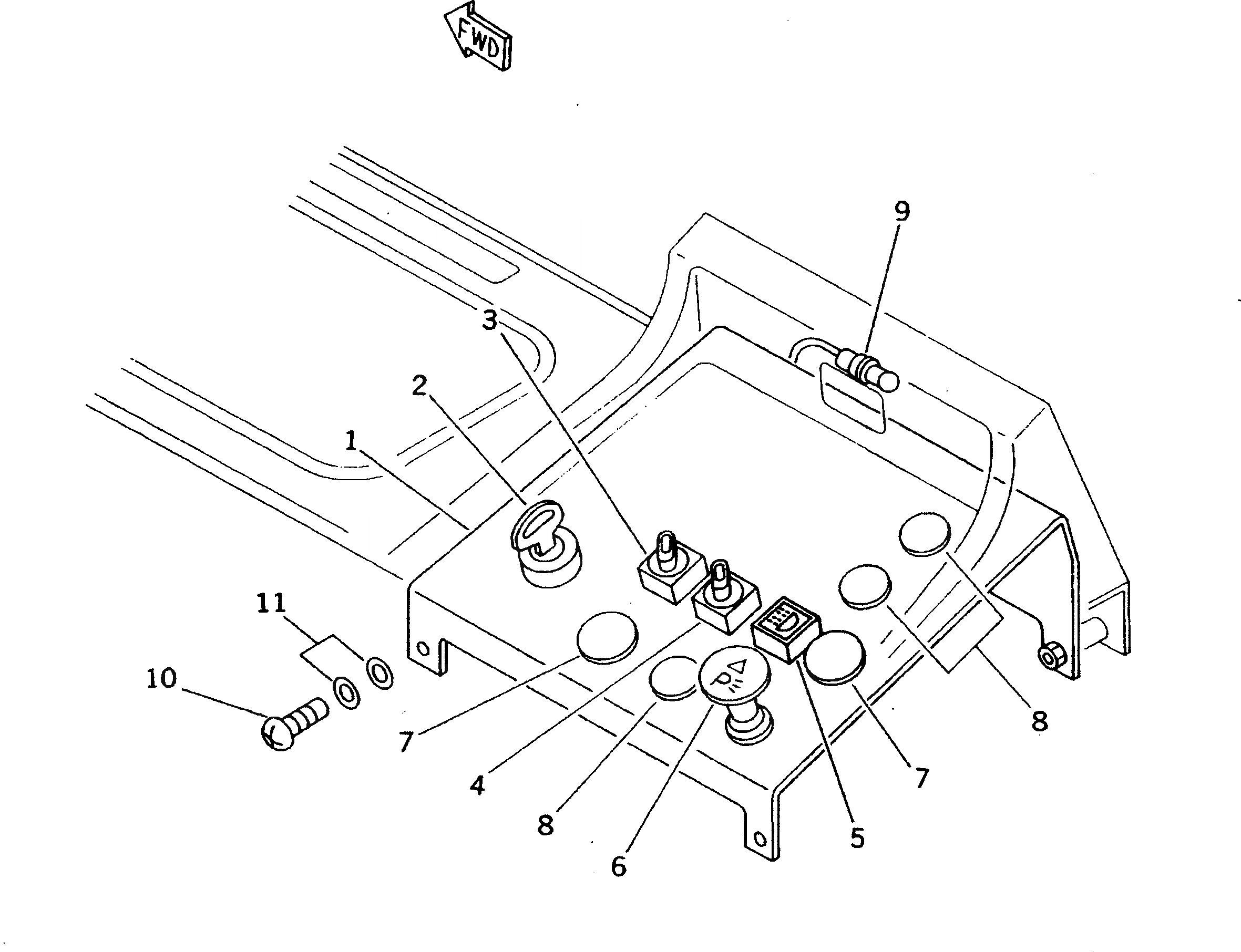
1

23D-06-12450

PANEL

SN: 4501-4537

1шт.

2

08086-20000

SWITCH,STARTING

SN: 4001-@

1шт.

3

23E-06-13110

SWITCH,HEAD LAMP

SN: 4001-@

1шт.

4

23E-06-13110

SWITCH,WORK LAMP

SN: 4001-@

1шт.

5

23E-06-13140

SWITCH,FOG LAMP

SN: 4001-@

1шт.

6

234-06-31931

SWITCH,PARKING LAMP

SN: 4015-@

1шт.

7

09415-01610

CAP

SN: 4001-4537

2шт.

8

130-911-1640

PLUG

SN: 4001-@

3шт.

9

235-06-15370

LAMP,PANEL

SN: 4001-@

1шт.

|9

08111-12430

BULB¤ 3W

SN: 4001-@

1шт.

10

01220-40616

SCREW

SN: 4001-@

4шт.

11

01643-30623

WASHER

SN: 4001-@

8шт.

Выбрано товаров: 12