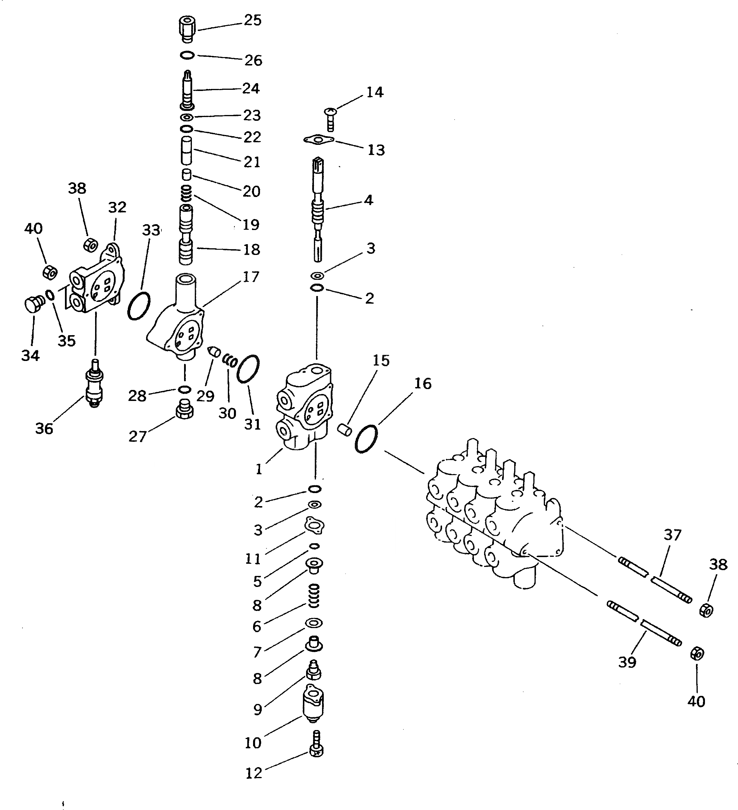
Запчасти Komatsu GD405A-2S ГИДРАВЛ УПРАВЛЯЮЩ. КЛАПАН¤ ПРАВ. (/) (5-СЕКЦИОНН.)(№-) ГИДРАВЛИКА

Схема запчастей Komatsu GD405A-2S - ГИДРАВЛ УПРАВЛЯЮЩ. КЛАПАН¤ ПРАВ. (/) (5-СЕКЦИОНН.)(№-) ГИДРАВЛИКА
FIT
1:1
100%

Артикул

Название

Примечание

Количество

|1

23D-60-13500

CONTROL VALVE ASS'Y

SN: 4501-UP

1шт.

|$$2

THIS ASSEMBLY CONSISTS OF ALL PARTS SHOWN IN FIGS.6212 AND 6213.

-1шт.

|$$3

THE KAYABA KOGYO PART NUMBER IS THAT KB IS REMOVED FROM KOMATSU PART NUMBER LISTED BELOW.

-1шт.

|1

KB21013-36640

SPOOL SECTION ASS'Y

SN: 4501-UP

1шт.

1

0

HOUSING

SN: 4501-UP

1шт.

2

0

O-RING (K16)

SN: 4501-UP

2шт.

3

0

WIPER (K16)

SN: 4501-UP

2шт.

4

0

SPOOL

SN: 4501-UP

1шт.

5

0

O-RING

SN: 4501-UP

1шт.

6

KB21011-30646

SPRING

SN: 4501-UP

1шт.

7

KB21011-32313

WASHER

SN: 4501-UP

1шт.

8

KB21011-30702

SEAT,SPRING

SN: 4501-UP

2шт.

9

KB21011-30528

SCREW

SN: 4501-UP

1шт.

10

KB21011-31044

CAP

SN: 4501-UP

1шт.

11

KB21011-31702

PLATE

SN: 4501-UP

1шт.

12

KB92702-06181

BOLT

SN: 4501-UP

2шт.

13

KB21011-31702

PLATE

SN: 4501-UP

1шт.

14

KB91111-60102

SCREW

SN: 4501-UP

2шт.

15

KB93812-10200

PIN

SN: 4501-UP

1шт.

16

0

O-RING (K16)

SN: 4501-UP

1шт.

|17

KB21013-30758

SECTION ASS'Y,FLOW CONTROL

SN: 4501-UP

1шт.

17

0

HOUSING

SN: 4501-UP

1шт.

18

0

SPOOL

SN: 4501-UP

1шт.

19

KB21011-36502

SPRING

SN: 4501-UP

1шт.

20

KB21011-30997

SPACER

SN: 4501-UP

1шт.

21

KB21011-30998

SPACER

SN: 4501-UP

1шт.

22

0

O-RING

SN: 4501-UP

1шт.

23

0

RING,BACK-UP

SN: 4501-UP

1шт.

24

KB21011-32512

ADJUSTER

SN: 4501-UP

1шт.

25

KB21011-32947

PLUG

SN: 4501-UP

1шт.

26

0

O-RING

SN: 4501-UP

1шт.

27

KB21001-00504

PLUG

SN: 4501-UP

1шт.

28

0

O-RING

SN: 4501-UP

1шт.

29

KB21011-32404

POPPET

SN: 4501-UP

1шт.

30

KB21011-30604

SPRING

SN: 4501-UP

1шт.

31

0

O-RING

SN: 4501-UP

1шт.

|32

KB21013-36018

INLET SECTION ASS'Y

SN: 4501-UP

1шт.

32

KB21011-36315

HOUSING

SN: 4501-UP

1шт.

33

0

O-RING

SN: 4501-UP

1шт.

|34

KB21003-00207

PLUG ASS'Y

SN: 4501-UP

2шт.

34

KB21001-00504

PLUG

SN: 4501-UP

1шт.

35

0

O-RING

SN: 4501-UP

1шт.

36

KB21013-30664

RELIEF VALVE ASS'Y,RELIEF

SN: 4501-UP

1шт.

37

KB21061-30104

STUD

SN: 4501-UP

2шт.

38

KB93118-08652

NUT

SN: 4501-UP

4шт.

39

KB21061-30103

STUD

SN: 4501-UP

1шт.

40

KB93128-10082

NUT

SN: 4501-UP

2шт.

Выбрано товаров: 47