Запчасти Komatsu GD405A-2S ЭЛЕКТРИКА (ЛИНИЯ АККУМУЛЯТОРА) КОМПОНЕНТЫ ДВИГАТЕЛЯ И ЭЛЕКТРИКА

Схема запчастей Komatsu GD405A-2S - ЭЛЕКТРИКА (ЛИНИЯ АККУМУЛЯТОРА) КОМПОНЕНТЫ ДВИГАТЕЛЯ И ЭЛЕКТРИКА
FIT
1:1
100%

Артикул

Название

Примечание

Количество

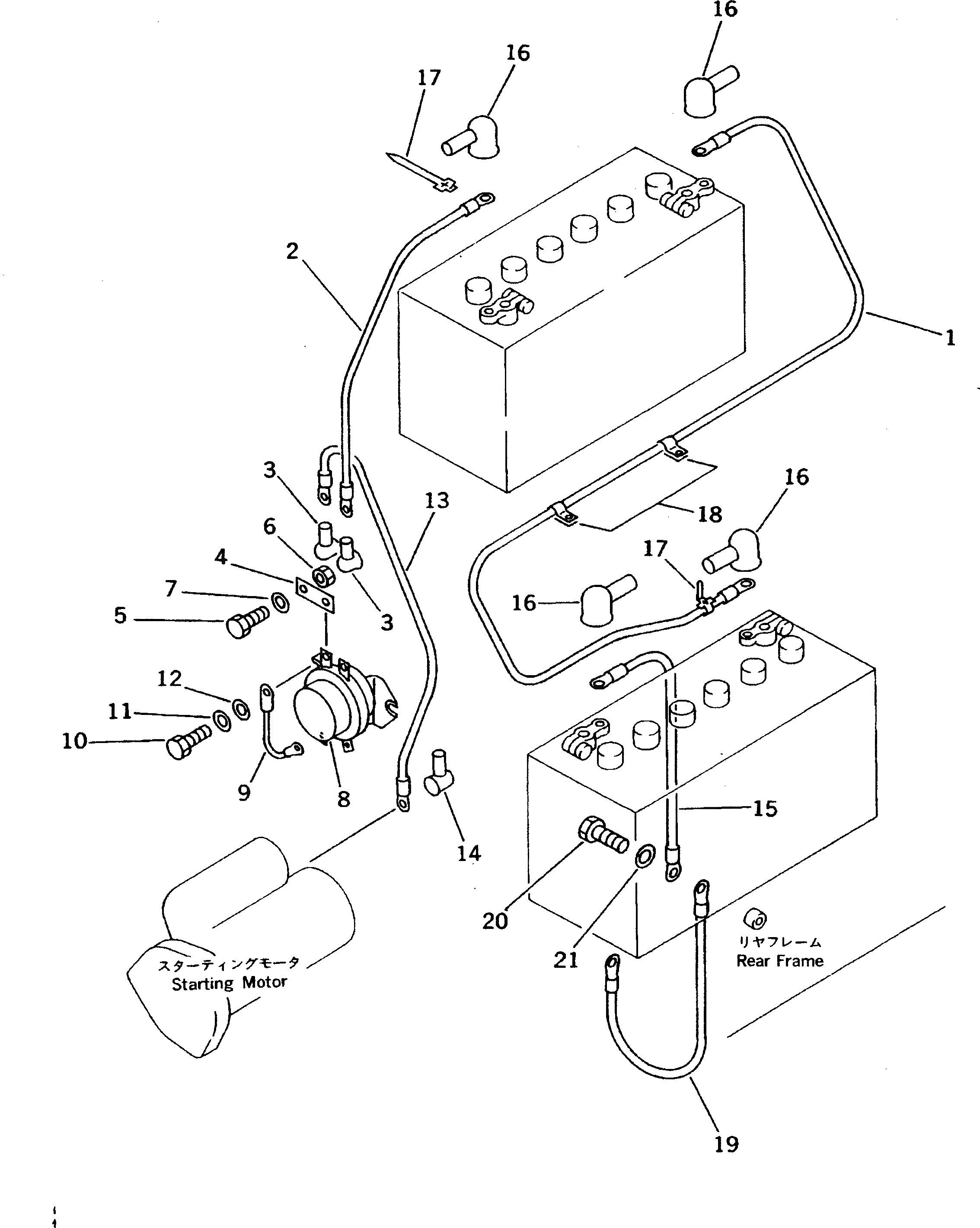
1

23E-06-11230

WIRE

SN: 4020-UP

1шт.

|1

08028-13225

CABLE

SN: 4001-4019

1шт.

2

23A-06-11270

WIRE

SN: 4020-UP

1шт.

|2

08028-13035

CABLE

SN: 4001-4019

1шт.

3

232-06-11960

CAP

SN: 4001-UP

2шт.

4

234-06-32240

PLATE

SN: 4001-UP

1шт.

5

01010-50820

BOLT

SN: 4001-UP

1шт.

6

01580-10806

NUT

SN: 4001-UP

1шт.

7

01643-30823

WASHER

SN: 4001-UP

1шт.

8

22W-06-13220

SWITCH,BATTERY

SN: 4001-UP

1шт.

9

237-06-11510

WIRE

SN: 4001-UP

1шт.

10

01010-50830

BOLT

SN: 4001-UP

2шт.

11

01643-30823

WASHER

SN: 4001-UP

2шт.

12

01641-20812

WASHER

SN: 4001-UP

2шт.

13

23E-06-11210

WIRE

SN: 4028-UP

1шт.

|13

23E-06-11240

WIRE

SN: 4020-4027

1шт.

|13

08028-13065

CABLE

SN: 4001-4019

1шт.

14

232-06-11960

CAP

SN: 4001-UP

1шт.

15

23E-06-11210

WIRE

SN: 4020-UP

1шт.

|15

08028-13055

CABLE

SN: 4001-4019

1шт.

16

232-06-11970

CAP

SN: 4001-UP

4шт.

17

234-06-41320

BAND,MARK

SN: 4001-UP

2шт.

18

08036-01414

CLIP

SN: 4001-UP

2шт.

19

23E-06-11220

WIRE

SN: 4020-UP

1шт.

|19

08028-13045

CABLE

SN: 4001-4019

1шт.

20

01010-51016

BOLT

SN: 4001-UP

2шт.

21

01643-31032

WASHER

SN: 4001-UP

2шт.

Выбрано товаров: 27