Запчасти Komatsu GD405A-2S РАДИАТОР(№-) КОМПОНЕНТЫ ДВИГАТЕЛЯ И ЭЛЕКТРИКА

Схема запчастей Komatsu GD405A-2S - РАДИАТОР(№-) КОМПОНЕНТЫ ДВИГАТЕЛЯ И ЭЛЕКТРИКА
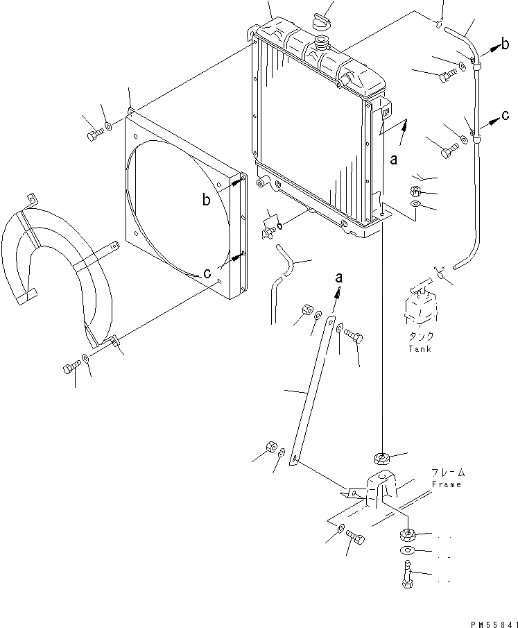
1
2
3
4
5
6
6
6
7
7
7
8
9
10
11
12
12
13
13
14
14
15
16
17
18
19
20
21
21
22
22
23
23
23
23
FIT
1:1
100%

Артикул

Название

Примечание

Количество

|1

23D-03-13100

RADIATOR ASS'Y

SN: 4501-UP

1шт.

1

23D-03-13210

CORE ASS'Y,(WITH OIL COOLER)

SN: 4501-UP

1шт.

2

205-03-71280

CAP ASS'Y

SN: 4501-UP

1шт.

3

205-03-62660

PLUG,DRAIN

SN: 4001-UP

1шт.

|3

07000-01007

O-RING

SN: 4001-UP

1шт.

4

23E-03-11150

PIPE,DRAIN

SN: 4001-UP

1шт.

5

23D-03-13220

SHROUD

SN: 4501-UP

1шт.

6

01010-50816

BOLT

SN: 4001-UP

8шт.

7

01643-30823

WASHER

SN: 4001-UP

8шт.

8

23E-03-11130

WIRE,NET

SN: 4001-UP

1шт.

9

01010-51020

BOLT

SN: 4001-UP

4шт.

10

01643-31032

WASHER

SN: 4001-UP

4шт.

11

23D-03-13130

HOSE

SN: 4501-UP

1шт.

12

206-03-43340

CLIP

SN: 4501-UP

2шт.

13

08036-11210

CLIP

SN: 4501-UP

2шт.

14

23D-03-13150

CUSHION

SN: 4501-UP

4шт.

15

236-03-21190

WASHER

SN: 4001-UP

2шт.

16

01012-51465

BOLT

SN: 4001-UP

2шт.

17

01590-11416

NUT

SN: 4001-UP

2шт.

18

01640-21426

WASHER

SN: 4001-UP

2шт.

19

04050-13028

PIN,COTTER

SN: 4001-UP

2шт.

20

23D-03-11221

BAR

SN: 4501-UP

2шт.

21

01010-51245

BOLT

SN: 4501-UP

4шт.

22

01580-11210

NUT

SN: 4501-UP

4шт.

23

01643-31232

WASHER

SN: 4501-UP

8шт.

Выбрано товаров: 25