Запчасти Komatsu GD405A-2S ТОПЛИВН. И ГИДР. БАК.(№-) КОМПОНЕНТЫ ДВИГАТЕЛЯ И ЭЛЕКТРИКА

Схема запчастей Komatsu GD405A-2S - ТОПЛИВН. И ГИДР. БАК.(№-) КОМПОНЕНТЫ ДВИГАТЕЛЯ И ЭЛЕКТРИКА
FIT
1:1
100%

Артикул

Название

Примечание

Количество

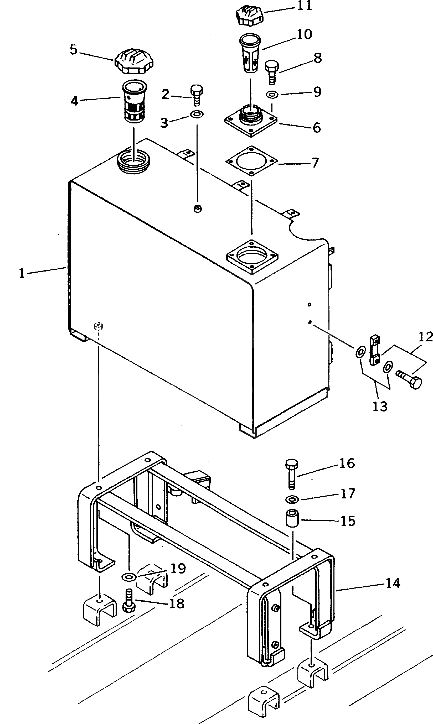
1

23D-04-11111

TANK

SN: 4025-4500

1шт.

|1

23D-04-11110

TANK

SN: 4001-4024

1шт.

2

01010-51625

BOLT

SN: 4001-@

1шт.

3

01640-21626

WASHER

SN: 4001-@

1шт.

4

238-04-12130

STRAINER

SN: 4001-@

1шт.

5

07050-21200

CAP

SN: 4001-@

1шт.

|5

07050-21202

GASKET

SN: 4001-@

1шт.

6

23A-04-11340

FILLER

SN: 4001-4500

1шт.

7

232-60-68140

PACKING

SN: 4001-4500

1шт.

8

01010-51020

BOLT

SN: 4001-4500

4шт.

9

01643-31032

WASHER

SN: 4001-4500

4шт.

10

07056-10045

STRAINER

SN: 4001-@

1шт.

11

07051-00000

CAP

SN: 4001-@

1шт.

|11

07051-00003

GASKET

SN: 4001-@

1шт.

12

23A-60-13500

GAUGE

SN: 4001-@

1шт.

13

07005-01012

GASKET

SN: 4001-@

4шт.

14

23D-04-11210

BRACKET

SN: 4001-4500

1шт.

15

238-04-11140

SPACER

SN: 4001-@

4шт.

16

01010-51685

BOLT

SN: 4001-@

4шт.

17

01643-31645

WASHER

SN: 4001-@

4шт.

18

01010-51650

BOLT

SN: 4001-@

4шт.

19

01643-31645

WASHER

SN: 4001-@

4шт.

Выбрано товаров: 22