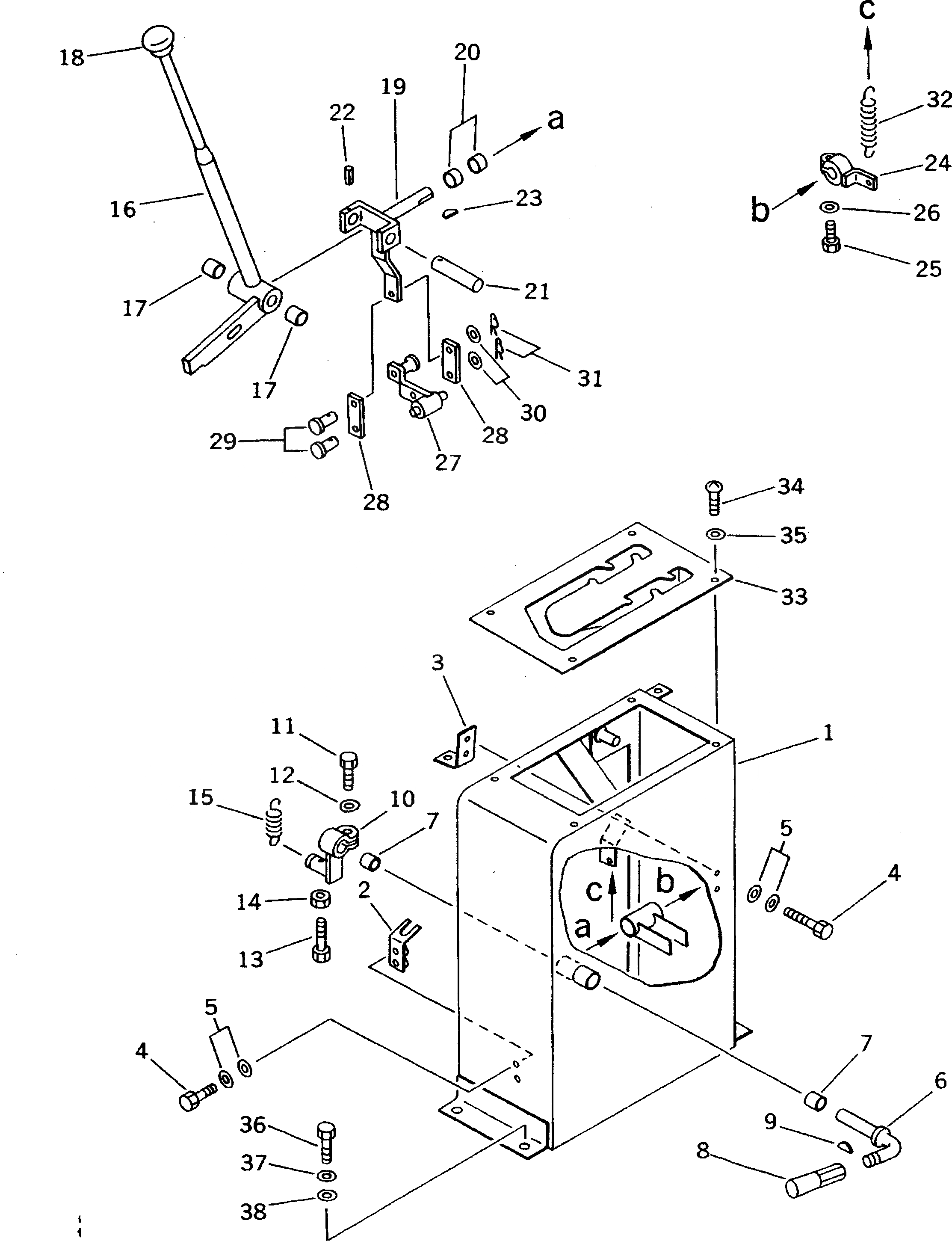
Запчасти Komatsu GD405A-2S РЫЧАГ УПРАВЛ-Я ТРАНСМИССИЕЙ (/)(№-7) СИСТЕМА УПРАВЛЕНИЯ

Схема запчастей Komatsu GD405A-2S - РЫЧАГ УПРАВЛ-Я ТРАНСМИССИЕЙ (/)(№-7) СИСТЕМА УПРАВЛЕНИЯ
FIT
1:1
100%

Артикул

Название

Примечание

Количество

1

23B-45-12190

BOX

SN: 4001-4027

1шт.

2

23A-45-11170

PLATE

SN: 4001-@

1шт.

3

233-45-11250

BRACKET

SN: 4001-@

1шт.

4

01010-50616

BOLT

SN: 4001-@

4шт.

5

01643-30623

WASHER

SN: 4001-@

8шт.

6

23B-45-11120

LEVER

SN: 4001-4027

1шт.

7

232-43-52320

BUSHING

SN: 4001-@

2шт.

8

09305-00800

KNOB

SN: 4001-@

1шт.

9

04010-00519

KEY

SN: 4001-@

1шт.

10

232-45-11620

LEVER

SN: 4001-4500

1шт.

11

01010-50830

BOLT

SN: 4001-@

1шт.

12

01643-30823

WASHER

SN: 4001-@

1шт.

13

232-45-11610

BOLT

SN: 4001-@

1шт.

14

01580-10806

NUT

SN: 4001-@

1шт.

15

135-43-21480

SPRING

SN: 4001-@

1шт.

16

232-45-11193

LEVER

SN: 4001-@

1шт.

17

232-43-52320

BUSHING

SN: 4001-@

2шт.

18

09304-01250

KNOB

SN: 4001-@

1шт.

19

23A-45-11120

YOKE

SN: 4001-4027

1шт.

20

232-43-52320

BUSHING

SN: 4001-@

2шт.

21

232-45-11220

PIN

SN: 4001-@

1шт.

22

04025-00532

PIN,SPRING

SN: 4001-@

1шт.

23

04010-00519

KEY

SN: 4001-@

1шт.

24

233-45-11140

LEVER

SN: 4001-@

1шт.

25

01010-50830

BOLT

SN: 4001-@

1шт.

26

01643-30823

WASHER

SN: 4001-@

1шт.

27

232-45-11240

LEVER

SN: 4001-4027

1шт.

28

232-45-11250

PLATE

SN: 4001-4027

2шт.

29

04205-10828

PIN

SN: 4001-4027

2шт.

30

01641-20812

WASHER

SN: 4001-4027

2шт.

31

04052-00833

PIN,SNAP

SN: 4001-4027

2шт.

32

232-43-42330

SPRING

SN: 4001-4027

1шт.

33

233-45-11153

GUIDE

SN: 4001-@

1шт.

34

01220-40840

SCREW

SN: 4001-@

4шт.

35

01641-20812

WASHER

SN: 4001-@

4шт.

36

01010-51230

BOLT

SN: 4001-@

4шт.

37

01643-31232

WASHER

SN: 4001-@

4шт.

38

01643-31232

WASHER

SN: 4001-4027

4шт.

Выбрано товаров: 0