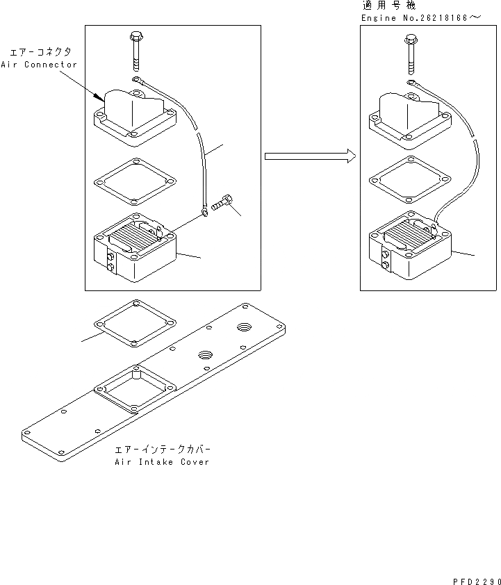
Запчасти Komatsu S6D102E-1J ПОДОГРЕВАТЕЛЬ ВПУСКА ВОЗДУХА ДВИГАТЕЛЬ

Схема запчастей Komatsu S6D102E-1J - ПОДОГРЕВАТЕЛЬ ВПУСКА ВОЗДУХА ДВИГАТЕЛЬ
1
1
1
2
3
1
1
1
2
3
FIT
1:1
100%

Артикул

Название

Примечание

Количество

1

6732-81-5120

HEATER ASS'Y

SN: 26200929-UP

1шт.

2

6732-81-4610

HARNESS

SN: 26200929-26218165

1шт.

3

6732-11-4811

GASKET

SN: 26218166-UP

1шт.

|3

0

GASKET

SN: 26200929-26218165

1шт.

1

6732-81-5120

HEATER ASS'Y

SN: 26200929-UP

1шт.

2

6732-81-4610

HARNESS

SN: 26200929-26218165

1шт.

3

6732-11-4811

GASKET

SN: 26218166-UP

1шт.

|3

0

GASKET

SN: 26200929-26218165

1шт.

Выбрано товаров: 0