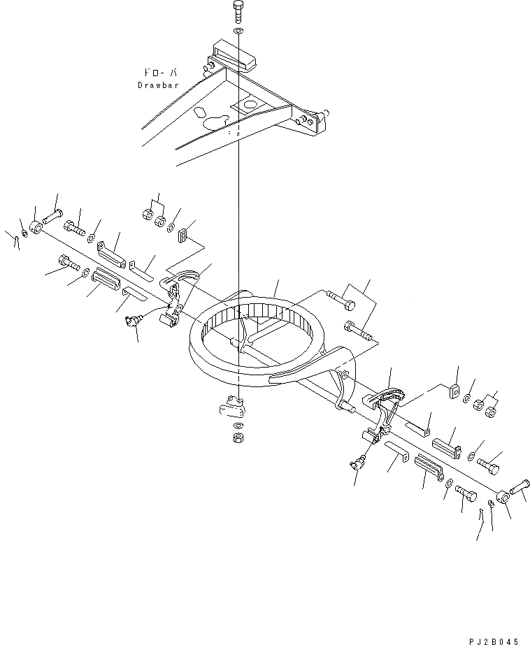
Запчасти Komatsu GD405A-3S КОЛЬЦЕВ. СУППОРТ РАБОЧЕЕ ОБОРУДОВАНИЕ

Схема запчастей Komatsu GD405A-3S - КОЛЬЦЕВ. СУППОРТ РАБОЧЕЕ ОБОРУДОВАНИЕ
1
2
2
3
4
4
5
5
6
6
6
6
7
7
7
7
8
8
8
8
9
9
10
10
11
11
12
13
14
14
15
15
16
16
17
17
FIT
1:1
100%

Артикул

Название

Примечание

Количество

1

23D-70-13110

SUPPORT

SN: 4701-UP

1шт.

2

23E-70-33110

ADJUSTER,L.H.

SN: 4701-UP

1шт.

3

23E-70-33120

ADJUSTER,R.H.

SN: 4701-UP

1шт.

4

23E-70-33150

GUIDE

SN: 4701-UP

2шт.

5

23E-70-33140

GUIDE

SN: 4701-UP

2шт.

6

01010-81235

BOLT

SN: 4701-UP

4шт.

7

01643-31232

WASHER

SN: 4701-UP

4шт.

8

234-70-33490

SHIM

SN: .-UP

4шт.

9

23E-70-13230

COLLAR

SN: 4701-UP

2шт.

10

23E-70-13170

PIN

SN: 4701-UP

2шт.

11

01643-31645

WASHER

SN: 4701-UP

2шт.

12

04050-14028

PIN,COTTER

SN: 4701-UP

2шт.

13

23E-70-13150

BOLT

SN: 4701-UP

2шт.

14

234-70-12151

BLOCK

SN: 4701-UP

2шт.

15

01580-12419

NUT

SN: 4701-UP

4шт.

16

01643-32460

WASHER

SN: 4701-UP

2шт.

17

07020-00675

FITTING,GREASE

SN: 4701-UP

2шт.

Выбрано товаров: 17