Запчасти Komatsu GD40HT-2 SNOW PНИЗ. РАМА И БАЛКА ОПЦИОННЫЕ КОМПОНЕНТЫ

Схема запчастей Komatsu GD40HT-2 - SNOW PНИЗ. РАМА И БАЛКА ОПЦИОННЫЕ КОМПОНЕНТЫ
FIT
1:1
100%

Артикул

Название

Примечание

Количество

|1

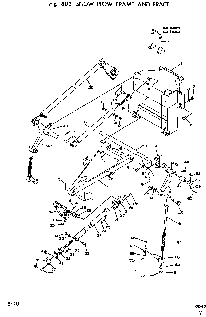
234-970-0033

SUPPORT ASS'Y

SN: 1711-UP

1шт.

|1

234-970-0032

SUPPORT ASS'Y

SN: 1151-1710

1шт.

|1

234-970-0031

SUPPORT ASS'Y

SN: 1036-1150

1шт.

|1

234-970-0030

SUPPORT ASS'Y

SN: 1002-1035

1шт.

1

234-970-2112

FRAME

SN: 1151-UP

1шт.

|1

234-970-2111

FRAME

SN: 1002-1150

1шт.

2

01010-32485

BOLT

SN: 1036-UP

6шт.

|2

01000-32485

BOLT

SN: 1002-1035

6шт.

3

01602-02472

WASHER

SN: 1002-UP

6шт.

4

01580-02419

NUT

SN: 1036-UP

6шт.

|4

01500-32418

NUT

SN: 1002-1035

6шт.

5

232-970-1611

ARM

SN: 1151-UP

1шт.

|5

232-970-1610

ARM

SN: 1002-1150

1шт.

6

232-970-1650

SHAFT

SN: 1002-UP

1шт.

7

04050-06060

PIN

SN: 1002-UP

2шт.

8

232-970-1521

PIN

SN: 1151-UP

2шт.

|8

232-970-1520

PIN

SN: 1002-1150

2шт.

9

04050-06060

PIN

SN: 1151-UP

4шт.

|9

04050-06060

PIN

SN: 1002-1150

2шт.

10

232-970-1850

ROD

SN: 1002-UP

1шт.

|10

232-970-1831

JOINT (WELDED)

SN: 1711-UP

1шт.

|10

232-970-1830

JOINT (WELDED)

SN: 1002-1710

1шт.

|10

232-970-1781

BOSS (WEDLED)

SN: 1711-UP

1шт.

|10

232-970-1780

BOSS (WELDED)

SN: 1002-1710

1шт.

11

232-970-1820

JOINT

SN: 1002-UP

1шт.

12

01010-31680

BOLT

SN: 1036-UP

1шт.

|12

01040-31680

BOLT

SN: 1002-1035

1шт.

13

01602-01648

WASHER

SN: 1002-UP

1шт.

14

01580-01613

NUT

SN: 1036-UP

1шт.

|14

01503-31613

NUT

SN: 1002-1035

1шт.

15

232-970-1840

SHAFT

SN: 1002-UP

2шт.

16

04050-05040

PIN

SN: 1002-UP

4шт.

|17

234-970-0041

LINK ASS'Y

SN: 1036-UP

1шт.

|17

234-970-0040

LINK ASS'Y

SN: 1002-1035

1шт.

17

234-970-2120

LEVER

SN: 1002-UP

2шт.

|17

234-970-13120

STUD

SN: 1002-UP

1шт.

18

01011-61640

BOLT

SN: 1036-UP

4шт.

|18

01041-61640

BOLT

SN: 1002-1035

4шт.

19

01602-01648

WASHER

SN: 1002-UP

4шт.

20

01580-01613

NUT

SN: 1036-UP

4шт.

|20

01503-31613

NUT

SN: 1002-1035

4шт.

21

07138-00807

CAP

SN: 1711-UP

2шт.

|21

234-70-13230

CAP

SN: 1002-1710

2шт.

22

01010-31875

BOLT

SN: 1036-UP

4шт.

|22

01040-31875

BOLT

SN: 1002-1035

4шт.

23

01602-01854

WASHER

SN: 1002-UP

4шт.

24

01580-01815

NUT

SN: 1036-UP

4шт.

|24

01503-31816

NUT

SN: 1002-1035

4шт.

25

07020-00900

FITTING

SN: 1002-UP

2шт.

26

07139-00802

SHIM¤ 0.2MM

SN: 1711-UP

8шт.

|26

234-70-13260

SHIM¤ 0.2MM

SN: 1002-1710

8шт.

27

07139-00805

SHIM¤ 0.5MM

SN: 1711-UP

2шт.

|27

234-70-13270

SHIM¤ 0.5MM

SN: 1002-1710

2шт.

28

07141-00080

SEAL

SN: 1711-UP

2шт.

|28

234-70-13240

SEAL

SN: 1002-1710

2шт.

29

234-70-13250

WASHER

SN: 1002-UP

2шт.

30

234-970-2131

ROD,R.H.

SN: 1151-UP

1шт.

|30

234-970-2130

ROD,R.H.

SN: 1002-1150

1шт.

31

234-970-2141

ROD,L.H.

SN: 1151-UP

1шт.

|31

234-970-2140

ROD,L.H.

SN: 1002-1150

1шт.

32

01010-31680

BOLT

SN: 1036-UP

2шт.

|32

01040-31680

BOLT

SN: 1002-1035

2шт.

33

01602-01648

WASHER

SN: 1002-UP

2шт.

34

01580-01613

NUT

SN: 1036-UP

2шт.

|34

01503-31613

NUT

SN: 1002-1035

2шт.

35

234-970-2150

JOINT ASS'Y

SN: 1002-UP

2шт.

36

232-71-11330

CAP

SN: 1002-UP

2шт.

37

01010-31665

BOLT

SN: 1036-UP

4шт.

|37

01040-31665

BOLT

SN: 1002-1035

4шт.

38

01602-01648

WASHER

SN: 1002-UP

4шт.

39

01580-01613

NUT

SN: 1036-UP

4шт.

|39

01503-31613

NUT

SN: 1002-1035

4шт.

40

07020-00000

FITTING

SN: 1002-UP

2шт.

41

232-71-11340

SHIM¤ 0.2MM

SN: 1002-UP

16шт.

42

234-970-2160

LEVER,R.H.

SN: 1002-UP

1шт.

|42

232-70-13120

STUD,BALL

SN: 1002-UP

1шт.

43

234-970-2170

LEVER,L.H.

SN: 1002-UP

1шт.

|43

232-70-13120

STUD,BALL

SN: 1002-UP

1шт.

44

07020-00900

FITTING

SN: 1002-UP

2шт.

45

232-970-1762

PIN

SN: 1711-UP

2шт.

|45

232-970-1761

PIN

SN: 1036-1710

2шт.

|45

232-970-1760

PIN

SN: 1002-1035

2шт.

46

01640-23345

WASHER

SN: 1002-UP

2шт.

47

01590-03335

NUT

SN: 1036-UP

2шт.

|47

01511-33320

NUT

SN: 1002-1035

2шт.

48

04050-06060

PIN

SN: 1002-UP

2шт.

49

232-970-1620

BRACKET

SN: 1002-UP

1шт.

50

232-970-1632

BRACKET

SN: 1036-UP

1шт.

|50

232-970-1631

BRACKET

SN: 1002-1035

1шт.

51

01010-31665

BOLT

SN: 1036-UP

4шт.

|51

01040-31665

BOLT

SN: 1002-1035

4шт.

52

01602-01648

WASHER

SN: 1002-UP

4шт.

53

232-970-1531

SHAFT

SN: 1002-UP

1шт.

54

232-970-1570

SCREW

SN: 1036-UP

1шт.

|54

01302-01230

SCREW

SN: 1002-1035

1шт.

55

04059-01640

WIRE

SN: 1002-UP

1шт.

56

232-970-1660

BUSHING

SN: 1002-UP

2шт.

57

232-70-13210

COLLAR

SN: 1002-UP

2шт.

58

01013-31400

BOLT

SN: 1036-UP

2шт.

|58

01003-31400

BOLT

SN: 1002-1035

2шт.

59

01590-01416

NUT

SN: 1036-UP

2шт.

|59

01510-31416

NUT

SN: 1002-1035

2шт.

60

04050-03028

PIN

SN: 1002-UP

2шт.

61

234-970-2181

ROD

SN: 1036-UP

2шт.

|61

234-970-2180

ROD

SN: 1002-1035

2шт.

|61

232-970-1710

COLLAR (WELDED)

SN: 1002-UP

1шт.

62

232-970-1720

SPRING

SN: 1002-UP

2шт.

63

232-970-1730

WASHER

SN: 1002-UP

2шт.

64

01590-03335

NUT

SN: 1036-UP

2шт.

|64

01510-33335

NUT

SN: 1002-1035

2шт.

65

04050-06060

PIN

SN: 1002-UP

2шт.

66

232-970-1740

SHAFT

SN: 1002-UP

2шт.

67

232-970-1750

COLLAR

SN: 1002-UP

2шт.

68

232-970-1771

BOLT

SN: 1036-UP

2шт.

|68

232-970-1770

BOLT

SN: 1002-1035

2шт.

69

01590-01012

NUT

SN: 1036-UP

2шт.

|69

01510-31012

NUT

SN: 1002-1035

2шт.

70

04050-02022

PIN

SN: 1002-UP

2шт.

|70

234-970-3110

BRACKET

SN: 1002-1139

1шт.

Выбрано товаров: 119