Запчасти Komatsu GD40HT-2 ТАХОГРАФ(№9-9) ОПЦИОННЫЕ КОМПОНЕНТЫ

Схема запчастей Komatsu GD40HT-2 - ТАХОГРАФ(№9-9) ОПЦИОННЫЕ КОМПОНЕНТЫ
FIT
1:1
100%

Артикул

Название

Примечание

Количество

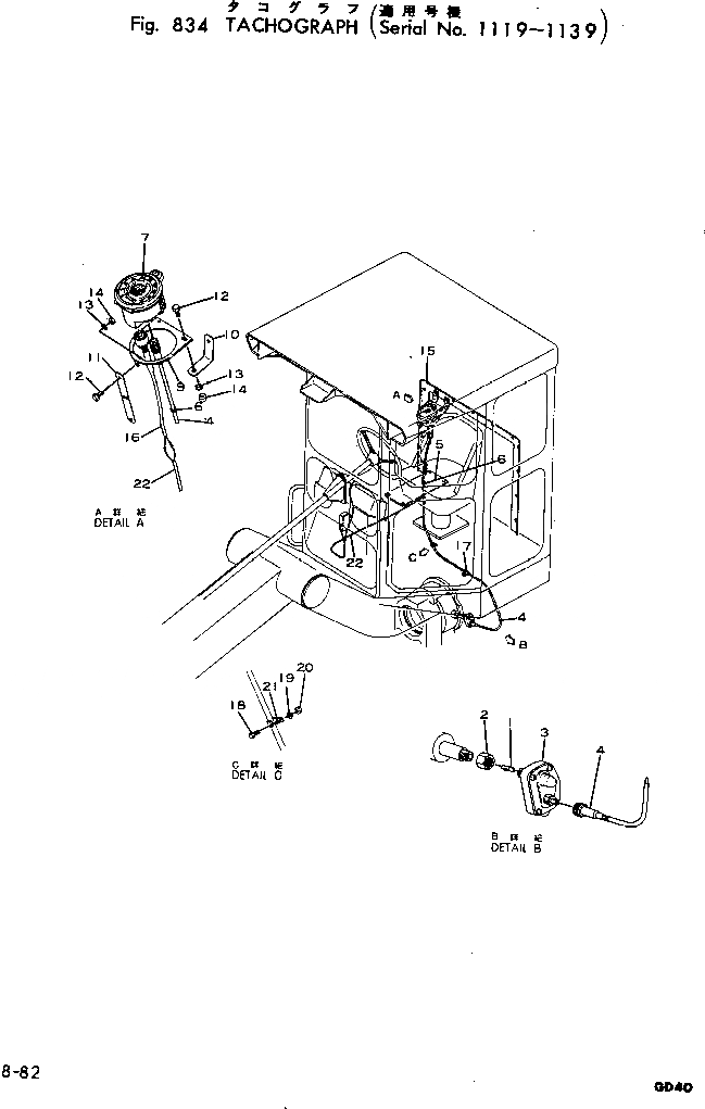
1

234-806-8130

KEY

SN: 1119-1139

1шт.

2

236-14-11160

NUT

SN: 1119-1139

1шт.

3

234-806-8120

BOX,GEAR

SN: 1119-1139

1шт.

4

234-806-8180

CABLE

SN: 1119-1139

1шт.

5

234-806-8170

PLATE

SN: 1119-1139

1шт.

6

08037-02512

GROMMET

SN: 1119-1139

1шт.

7

232-806-8170

TACHOGRAPH

SN: 1119-1139

1шт.

8

04059-01020

WIRE

SN: 1119-1139

1шт.

9

232-806-8120

PANEL

SN: 1119-1139

1шт.

10

234-806-8150

CLIP

SN: 1119-1139

2шт.

11

234-806-8160

SUPPORT

SN: 1119-1139

1шт.

12

01010-50612

BOLT

SN: 1119-1139

6шт.

13

01602-20619

WASHER

SN: 1119-1139

6шт.

14

01580-10605

NUT

SN: 1119-1139

6шт.

15

234-806-8110

PLATE

SN: 1119-1139

1шт.

16

232-806-8210

HARNESS

SN: 1119-1139

1шт.

17

08036-10814

CLIP

SN: 1119-1139

1шт.

18

01010-51425

BOLT

SN: 1119-1139

1шт.

19

01602-21442

WASHER

SN: 1119-1139

1шт.

20

01580-11411

NUT

SN: 1119-1139

1шт.

21

234-806-8210

CLIP

SN: 1119-1139

1шт.

22

234-806-8190

HARNESS

SN: 1119-1139

1шт.

Выбрано товаров: 22