Запчасти Komatsu GD40HT-2 ПАНЕЛЬ ПРИБОРОВ(№-) КОМПОНЕНТЫ ДВИГАТЕЛЯ И ЭЛЕКТРИКА

Схема запчастей Komatsu GD40HT-2 - ПАНЕЛЬ ПРИБОРОВ(№-) КОМПОНЕНТЫ ДВИГАТЕЛЯ И ЭЛЕКТРИКА
FIT
1:1
100%

Артикул

Название

Примечание

Количество

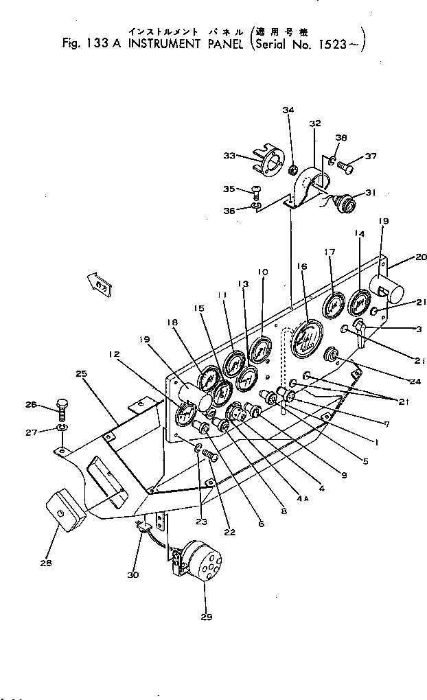
1

08603-00023

CABLE

SN: 1036-UP

1шт.

3

08075-80000

SWITCH,TURN SIGNAL

SN: 1162-UP

1шт.

4

600-815-2210

SIGNAL,GLOW

SN: 1523-UP

1шт.

4A

600-815-2290

WASHER

SN: 1523-1668

1шт.

5

236-06-23310

SWITCH,LAMP

SN: .-UP

1шт.

|5

0

SWITCH,LAMP

SN: 1151-.

1шт.

6

236-06-23320

SWITCH,WORK LAMP

SN: .-UP

1шт.

|6

0

SWITCH,WORK LAMP

SN: 1151-.

1шт.

7

236-06-23330

SWITCH,PARKING LAMP

SN: .-UP

1шт.

|7

0

SWITCH,PARKING LAMP

SN: 1151-.

1шт.

8

236-06-23350

SWITCH,CAUTION LAMP

SN: .-UP

1шт.

|8

0

SWITCH,CAUTION LAMP

SN: 1151-.

1шт.

9

236-06-23340

SWITCH,PREHEATER

SN: .-UP

1шт.

|9

0

SWITCH,PREHEATER

SN: 1151-.

1шт.

10

08631-02000

GAUGE,OIL PRESSURE

SN: 1036-UP

1шт.

|10

08631-00014

GAUGE

SN: 1002-UP

1шт.

11

08631-22000

GAUGE,OIL PRESSURE

SN: 1036-UP

1шт.

|11

08631-00014

GAUGE

SN: 1002-UP

1шт.

12

08632-02000

GAUGE,FUEL PRESSURE

SN: 1002-UP

1шт.

|12

08631-00014

GAUGE

SN: 1002-UP

1шт.

13

170-09-21140

GAUGE,OIL PRESSURE

SN: 1139-UP

1шт.

|13

08631-00014

GAUGE

SN: 1002-UP

1шт.

14

08664-13000

GAUGE,OIL TEMPERATURE

SN: 1036-UP

1шт.

15

08601-13000

AMMETER

SN: 1036-UP

1шт.

16

234-06-13221

SPEEDOMETER

SN: 1036-UP

1шт.

17

08661-14500

GAUGE,WATER TEMPERATURE

SN: 1036-UP

1шт.

18

234-06-13240

GAUGE,AIR PRESSURE

SN: 1036-UP

1шт.

|18

08631-00014

GAUGE

SN: 1002-UP

1шт.

19

08144-02400

LAMP,PANEL

SN: 1002-UP

2шт.

|19

08112-02410

BULB¤ 10W

SN: 1002-UP

1шт.

20

234-06-15123

PANEL,(FOR JAPAN)

SN: 1523-UP

1шт.

|20

234-902-7251

PANEL,(EXCEPT JAPAN)

SN: 1523-UP

1шт.

21

130-911-1640

PLUG

SN: 1150-UP

4шт.

22

01220-40612

SCREW

SN: 1036-UP

7шт.

23

01602-20619

WASHER

SN: 1002-UP

7шт.

24

08086-00000

SWITCH,STARTING

SN: 1036-UP

1шт.

25

234-06-15113

BOX

SN: 1523-UP

1шт.

|35

234-979-5160

BOX,(FOR FRONT BLADE)

SN: 1788-UP

1шт.

26

01010-50816

BOLT

SN: 1036-UP

6шт.

27

01602-00825

WASHER

SN: 1002-UP

6шт.

28

08043-16000

BOX

SN: 1002-UP

1шт.

|28

08040-04000

FUSE¤ 40A

SN: 1002-UP

1шт.

|28

08040-01000

FUSE¤ 10A

SN: 1001-UP

5шт.

29

08166-02480

BUZZER

SN: 1150-UP

1шт.

30

232-856-5250

CLIP

SN: 1523-UP

3шт.

31

08147-21200

LAMP

SN: 1523-UP

1шт.

32

234-06-15370

BRACKET

SN: 1523-UP

1шт.

33

234-06-15380

COVER

SN: 1523-UP

1шт.

34

234-06-15390

GASKET

SN: 1523-UP

1шт.

35

01220-40612

SCREW

SN: 1523-UP

2шт.

36

01602-00619

WASHER

SN: 1523-UP

2шт.

37

01220-40412

SCREW

SN: 1523-UP

3шт.

38

01641-20405

WASHER

SN: 1523-UP

3шт.

Выбрано товаров: 53