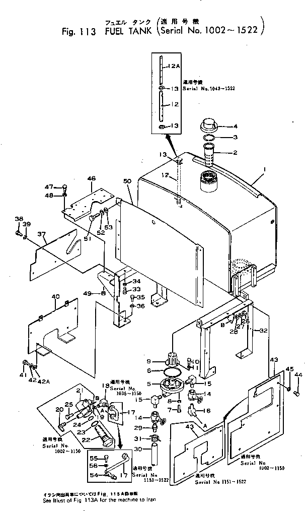
Запчасти Komatsu GD40HT-2 ТОПЛИВН. БАК.(№-) КОМПОНЕНТЫ ДВИГАТЕЛЯ И ЭЛЕКТРИКА

Схема запчастей Komatsu GD40HT-2 - ТОПЛИВН. БАК.(№-) КОМПОНЕНТЫ ДВИГАТЕЛЯ И ЭЛЕКТРИКА
FIT
1:1
100%

Артикул

Название

Примечание

Количество

|1

234-04-00013

FUEL TANK ASS'Y

SN: 1151-1522

1шт.

|1

234-04-00012

FUEL TANK ASS'Y

SN: 1036-1150

1шт.

|1

234-04-00011

FUEL TANK ASS'Y

SN: 1028-1035

1шт.

|1

234-04-00010

FUEL TANK ASS'Y

SN: 1002-1027

1шт.

|1

234-977-0301

FUEL TANK ASS'Y,(FOR GD40HTS-2)

SN: 1151-1522

1шт.

|1

234-977-0300

FUEL TANK ASS'Y,(FOR GD40HTS-2)

SN: 1078-1150

1шт.

1

234-04-11113

TANK

SN: 1151-@

1шт.

|1

234-04-11112

TANK

SN: 1028-1150

1шт.

|1

234-04-11111

TANK

SN: 1002-1027

1шт.

2

07056-18416

STRAINER

SN: 1002-@

1шт.

|2

0

STRAINER

SN: 1151-1252

1шт.

|2

0

STRAINER

SN: 1002-1150

1шт.

3

07057-04087

RING

SN: 1002-@

1шт.

|3

0

RING

SN: 1002-1252

1шт.

4

07050-21200

CAP

SN: 1253-@

1шт.

|4

07050-00000

CAP

SN: 1002-1252

1шт.

|4

234-977-6610

CAP,(FOR GD40HTS-2)

SN: 1078-@

1шт.

6

07000-03135

O-RING (KIT)

SN: 1002-1522

1шт.

7

01010-31025

BOLT

SN: 1028-1522

8шт.

|7

01040-31035

BOLT

SN: 1002-1027

8шт.

8

01602-01030

WASHER

SN: 1002-1522

8шт.

9

130-04-11160

STRAINER

SN: 1002-@

1шт.

10

01010-50810

BOLT

SN: 1036-1522

4шт.

|10

01000-30810

BOLT

SN: 1002-1035

4шт.

11

01602-20825

WASHER

SN: 1002-1522

4шт.

12

07270-01048

TUBE

SN: 1151-1522

1шт.

|12

07270-01042

TUBE

SN: 1002-1150

1шт.

12A

234-04-11411

GAUGE

SN: 1151-@

1шт.

|12A

234-04-11410

GAUGE

SN: 1043-1150

1шт.

13

364-04-12130

CLAMP

SN: 1151-@

2шт.

|13

0

WIRE

SN: 1002-1150

2шт.

14

07700-00504

VALVE

SN: 1002-1522

2шт.

15

234-04-11351

ELBOW

SN: 1036-@

2шт.

|15

234-04-11350

ELBOW

SN: 1002-1035

2шт.

16

232-04-12132

NIPPLE

SN: 1036-@

1шт.

|16

232-04-12131

NIPPLE

SN: 1002-1035

1шт.

17

234-04-11314

TUBE

SN: 1151-@

1шт.

|17

234-04-11313

TUBE

SN: 1036-1150

1шт.

|17

234-04-11312

TUBE

SN: 1022-1035

1шт.

|17

234-04-11311

TUBE

SN: 1002-1021

1шт.

18

234-04-11321

ELBOW

SN: 1036-1150

1шт.

|18

234-04-11320

ELBOW

SN: 1002-1035

1шт.

19

07000-02015

O-RING (KIT)

SN: 1002-1150

1шт.

20

6675-71-8851

CONNECTOR

SN: 1036-1150

1шт.

|20

6675-71-8850

CONNECTOR

SN: 1002-1035

1шт.

21

135-04-13170

CASE

SN: 1002-1150

1шт.

22

154-04-12530

STRAINER

SN: 1022-1150

1шт.

|22

145-04-33180

STRAINER

SN: 1002-1021

1шт.

23

07000-03038

O-RING (KIT)

SN: 1002-1150

1шт.

24

07000-03032

O-RING (KIT)

SN: 1002-1150

1шт.

25

01010-31030

BOLT

SN: 1002-1150

2шт.

26

01580-01008

NUT

SN: 1002-1150

2шт.

27

01602-01030

WASHER

SN: 1002-1150

2шт.

28

01643-01032

WASHER

SN: 1002-1150

2шт.

29

141-04-31170

NIPPLE

SN: 1036-@

1шт.

|29

141-04-14120

NIPPLE

SN: 1002-1035

1шт.

30

07270-01295

TUBE

SN: 1002-1522

1шт.

31

04059-01016

WIRE

SN: 1022-1522

1шт.

32

234-04-11212

BRACKET

SN: 1151-1522

1шт.

|32

234-04-11211

BRACKET

SN: 1002-1150

1шт.

33

01010-51430

BOLT

SN: 1151-@

5шт.

|33

01010-51460

BOLT

SN: 1151-1522

1шт.

|33

01010-51430

BOLT

SN: 1036-1150

6шт.

|33

01040-31430

BOLT

SN: 1002-1035

6шт.

34

01602-21442

WASHER

SN: 1002-1522

6шт.

35

01010-51630

BOLT

SN: 1036-1522

4шт.

|35

01040-31630

BOLT

SN: 1002-1035

4шт.

36

01602-21648

WASHER

SN: 1002-1522

4шт.

37

234-04-11221

COVER

SN: 1002-@

1шт.

38

01010-51016

BOLT

SN: 1002-1522

5шт.

39

01602-21030

WASHER

SN: 1002-1522

5шт.

40

234-04-11231

COVER

SN: 1002-@

1шт.

41

01010-51016

BOLT

SN: 1002-1522

4шт.

42

01602-21030

WASHER

SN: 1002-1522

4шт.

42A

01640-21016

WASHER

SN: 1139-1522

4шт.

43

234-04-11243

COVER

SN: 1151-@

1шт.

|43

234-04-11242

COVER

SN: 1002-1150

1шт.

44

01010-51016

BOLT

SN: 1151-1522

4шт.

|44

01010-51016

BOLT

SN: 1002-1150

6шт.

45

01602-21030

WASHER

SN: 1151-1522

4шт.

|45

01602-21030

WASHER

SN: 1002-1150

6шт.

46

234-04-11261

COVER

SN: 1002-@

1шт.

47

01010-51025

BOLT

SN: 1002-1522

4шт.

48

01602-21030

WASHER

SN: 1002-1522

4шт.

49

01580-11008

NUT

SN: 1002-1522

4шт.

50

234-04-11132

PLATE

SN: 1151-1522

1шт.

|50

234-04-11131

PLATE

SN: 1036-1150

1шт.

|50

234-04-11130

PLATE

SN: 1002-1035

1шт.

51

01010-51220

BOLT

SN: 1002-1522

4шт.

52

01602-21236

WASHER

SN: 1002-1522

4шт.

53

01640-21223

WASHER

SN: 1002-1522

4шт.

54

234-04-11420

CLIP

SN: 1151-1522

1шт.

55

01010-50820

BOLT

SN: 1151-1522

1шт.

56

01602-20825

WASHER

SN: 1151-1522

1шт.

Выбрано товаров: 0