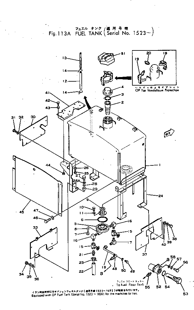
Запчасти Komatsu GD40HT-2 ТОПЛИВН. БАК.(№-) КОМПОНЕНТЫ ДВИГАТЕЛЯ И ЭЛЕКТРИКА

Схема запчастей Komatsu GD40HT-2 - ТОПЛИВН. БАК.(№-) КОМПОНЕНТЫ ДВИГАТЕЛЯ И ЭЛЕКТРИКА
FIT
1:1
100%

Артикул

Название

Примечание

Количество

|1

234-04-00015

FUEL TANK ASS'Y

SN: 1693-UP

1шт.

|1

234-04-00014

FUEL TANK ASS'Y

SN: 1523-1692

1шт.

|1

234-902-0013

FUEL TANK ASS'Y (OP)

SN: 1693-UP

1шт.

|1

234-902-0012

FUEL TANK ASS'Y (OP)

SN: 1523-1692

1шт.

|1

234-977-0303

FUEL TANK ASS'Y (OP)

SN: 1643-UP

1шт.

|1

234-977-0302

FUEL TANK ASS'Y (OP)

SN: 1523-1642

1шт.

1

234-04-11113

TANK

SN: 1151-UP

1шт.

|1

234-902-6120

TANK (OP)

SN: 1151-UP

1шт.

2

07056-18416

STRAINER

SN: 1253-UP

1шт.

3

07057-04087

RING

SN: 1253-UP

1шт.

4

07050-21200

CAP

SN: 1253-UP

1шт.

|4

234-977-6610

CAP,(FOR GD40THS-2)

SN: 1078-UP

1шт.

5

234-04-11290

FLANGE

SN: 1028-UP

1шт.

6

07000-13135

O-RING (KIT)

SN: 1002-UP

1шт.

7

01010-31025

BOLT

SN: 1028-UP

8шт.

8

01602-01030

WASHER

SN: 1002-UP

8шт.

9

234-902-6150

STRAINER,(110M)

SN: 1693-UP

1шт.

|9

130-04-11160

STRAINER,(50MM)

SN: 1002-1692

1шт.

10

01010-30810

BOLT

SN: 1036-UP

4шт.

11

01602-00825

WASHER

SN: 1002-UP

4шт.

12

234-04-11140

TUBE

SN: 1651-UP

1шт.

|12

07270-01048

TUBE

SN: 1151-1650

1шт.

13

234-04-11412

GAUGE

SN: 1163-UP

1шт.

|13

234-04-11411

GAUGE

SN: 1151-1162

1шт.

14

364-43-13390

CLIP

SN: 1651-UP

2шт.

|14

364-04-12130

CLAMP

SN: 1151-1650

2шт.

15

07700-20504

VALVE

SN: 1002-UP

2шт.

16

234-04-11351

ELBOW

SN: 1036-UP

2шт.

17

232-04-12132

NIPPLE

SN: 1693-UP

2шт.

|17

232-04-12132

NIPPLE

SN: 1036-1692

1шт.

18

234-04-11315

TUBE

SN: 1693-UP

1шт.

|18

234-04-11314

TUBE

SN: 1151-1692

1шт.

19

234-902-6110

PLATE (OP)

SN: 1151-UP

2шт.

20

09460-00002

LOCK (OP)

SN: 1151-UP

1шт.

21

141-04-31170

NIPPLE

SN: 1036-UP

1шт.

22

07270-01295

TUBE

SN: 1002-UP

1шт.

23

04059-01016

WIRE

SN: 1022-UP

1шт.

24

234-04-11214

BRACKET

SN: 1693-UP

1шт.

|24

234-04-11213

BRACKET

SN: 1523-1692

1шт.

|24

234-977-6620

BRACKET,(FOR GD40HTS-2)

SN: 1649-UP

1шт.

25

01010-31430

BOLT

SN: 1151-UP

5шт.

|25

01010-31460

BOLT

SN: 1151-UP

1шт.

26

01602-01442

WASHER

SN: 1002-UP

6шт.

27

01010-31675

BOLT

SN: 1523-UP

4шт.

28

01602-01648

WASHER

SN: 1002-UP

4шт.

|28

01643-31645

WASHER

SN: .-UP

4шт.

29

234-04-11190

SPACER

SN: 1523-UP

4шт.

30

234-04-11221

COVER

SN: 1002-UP

1шт.

31

01010-31016

BOLT

SN: 1002-UP

5шт.

32

01602-01030

WASHER

SN: 1002-UP

5шт.

33

234-04-11231

COVER

SN: 1002-UP

1шт.

34

01010-31016

BOLT

SN: 1002-UP

4шт.

35

01602-01030

WASHER

SN: 1002-UP

4шт.

36

01640-21016

WASHER

SN: 1139-UP

4шт.

37

234-04-11243

COVER

SN: 1151-UP

1шт.

|37

234-977-6630

COVER,(FOR GD40HTS-2)

SN: 1649-UP

1шт.

38

01010-31016

BOLT

SN: 1151-UP

4шт.

39

01602-01030

WASHER

SN: 1151-UP

4шт.

40

01640-21016

WASHER

SN: 1002-UP

2шт.

41

234-04-11261

COVER

SN: 1002-UP

1шт.

42

01010-31025

BOLT

SN: 1002-UP

4шт.

43

01602-01030

WASHER

SN: 1002-UP

4шт.

44

01580-01008

NUT

SN: 1002-UP

4шт.

45

234-04-11133

PLATE

SN: 1523-UP

1шт.

46

01010-31220

BOLT

SN: 1002-UP

4шт.

47

01602-01236

WASHER

SN: 1002-UP

4шт.

48

234-04-11420

CLIP

SN: 1151-UP

1шт.

49

01010-30820

BOLT

SN: 1151-UP

1шт.

50

01602-00825

WASHER

SN: 1151-UP

1шт.

51

07091-01200

CAP,WITH KEY (OP)

SN: 1523-UP

1шт.

|52

154-04-00073

STRAINER ASS'Y

SN: 1693-UP

1шт.

52

154-04-12510

CASE

SN: 1693-UP

1шт.

53

154-04-12531

STRAINER

SN: 1693-UP

1шт.

54

07000-13038

O-RING (KIT)

SN: 1693-UP

1шт.

55

234-04-11360

NIPPLE

SN: 1693-UP

1шт.

56

01010-30825

BOLT

SN: 1693-UP

2шт.

57

01602-00825

WASHER

SN: 1693-UP

2шт.

58

01640-20816

WASHER

SN: 1693-UP

2шт.

Выбрано товаров: 78