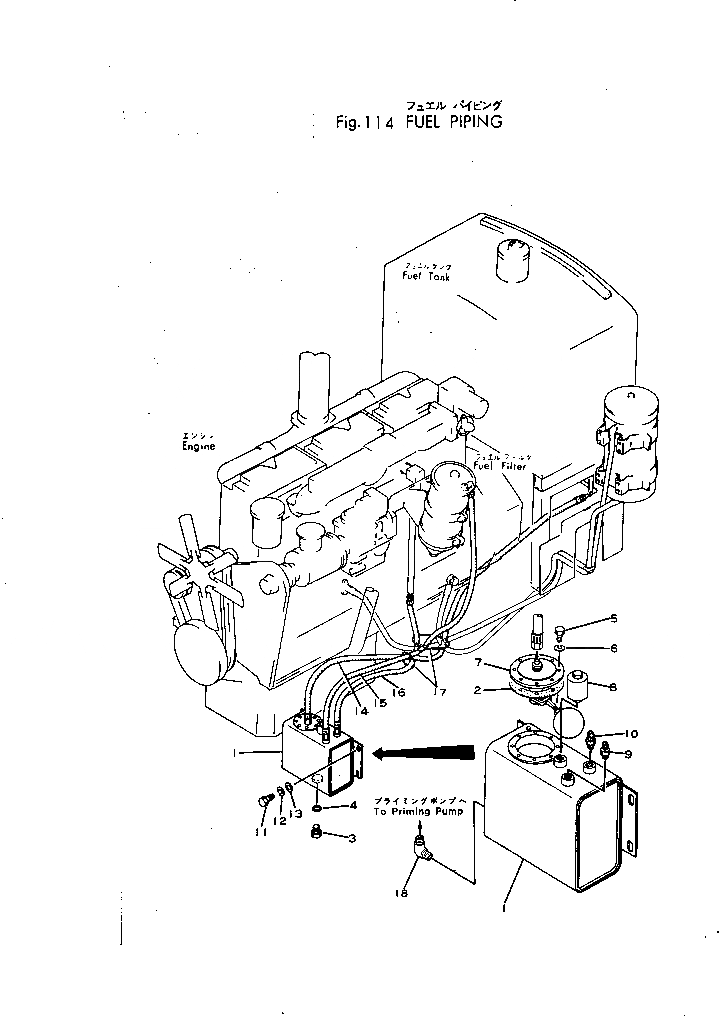
Запчасти Komatsu GD40HT-2 ТОПЛИВОПРОВОД. КОМПОНЕНТЫ ДВИГАТЕЛЯ И ЭЛЕКТРИКА

Схема запчастей Komatsu GD40HT-2 - ТОПЛИВОПРОВОД. КОМПОНЕНТЫ ДВИГАТЕЛЯ И ЭЛЕКТРИКА
FIT
1:1
100%

Артикул

Название

Примечание

Количество

1

234-01-11210

TANK

SN: 1127-UP

1шт.

|1

0

TANK

SN: 1002-1126

1шт.

2

6610-71-8820

GASKET (KIT)

SN: 1002-UP

1шт.

3

07040-11409

PLUG

SN: 1002-UP

1шт.

4

07002-11423

O-RING

SN: 1253-UP

1шт.

|4

07000-02011

O-RING (KIT)

SN: 1127-1252

1шт.

|4

0

GASKET

SN: 1002-1126

1шт.

5

01010-30616

BOLT

SN: 1002-UP

8шт.

6

01602-00619

WASHER

SN: 1002-UP

8шт.

7

6610-71-8704

VALVE ASS'Y

SN: ...-UP

1шт.

|7

6610-71-8703

VALVE ASS'Y

SN: ..-...

1шт.

|7

6610-71-8702

VALVE ASS'Y

SN: .-..

1шт.

|7

6610-71-8701

VALVE ASS'Y

SN: 1002-.

1шт.

8

6684-71-8911

BREATHER

SN: 1036-UP

1шт.

|8

6684-71-8910

BREATHER

SN: 1002-1035

1шт.

9

6641-71-8861

CONNECTOR

SN: 1036-UP

1шт.

|9

6641-71-8860

CONNECTOR

SN: 1002-1035

1шт.

10

6600-02-3861

CONNECTOR

SN: 1036-UP

1шт.

|10

6600-02-3860

CONNECTOR

SN: 1002-1035

1шт.

11

01010-31020

BOLT

SN: 1036-UP

4шт.

12

01602-01030

WASHER

SN: 1002-UP

4шт.

13

01640-21016

WASHER

SN: 1523-UP

4шт.

14

02750-04210

HOSE

SN: 1002-UP

1шт.

|14

0

HOSE

SN: 1002-1668

1шт.

15

02750-04170

HOSE

SN: 1002-UP

1шт.

|15

0

HOSE

SN: 1002-1668

1шт.

16

02750-03140

HOSE

SN: 1002-UP

1шт.

|16

0

HOSE

SN: 1002-1668

1шт.

17

08034-00834

BAND

SN: .-UP

6шт.

Выбрано товаров: 29