Запчасти Komatsu GD500R-2A СТАЛЬНАЯ КАБИНА (/) ОПЦИОННЫЕ КОМПОНЕНТЫ

Схема запчастей Komatsu GD500R-2A - СТАЛЬНАЯ КАБИНА (/) ОПЦИОННЫЕ КОМПОНЕНТЫ
FIT
1:1
100%

Артикул

Название

Примечание

Количество

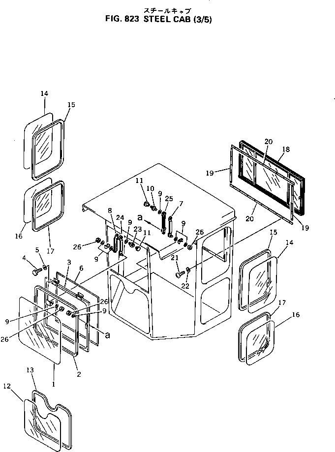
|1

232-950-0011

CAB ASS'Y

SN: 20028-UP

1шт.

1

232-950-2430

GLASS

SN: 20028-UP

1шт.

|1

232-817-3310

GLASS,HEAT WIRE (OP)

SN: 20028-UP

1шт.

2

09410-00330

STRIP

SN: 20028-UP

1шт.

3

232-950-2410

BRACKET

SN: 20028-UP

1шт.

4

01010-51020

BOLT

SN: 20028-UP

4шт.

5

01602-21030

WASHER

SN: 20028-UP

4шт.

6

232-950-2440

SEAL

SN: 20028-UP

1шт.

7

232-950-2251

ROD

SN: 20028-UP

1шт.

8

232-950-2261

ROD

SN: 20028-UP

1шт.

9

01640-21016

WASHER

SN: 20028-UP

8шт.

10

232-950-2282

BOLT

SN: 20028-UP

1шт.

11

232-950-2291

KNOB

SN: 20028-UP

2шт.

12

232-950-2121

GLASS

SN: 20028-UP

1шт.

13

09410-00335

STRIP

SN: 20028-UP

1шт.

14

232-950-2130

GLASS

SN: 20028-UP

2шт.

15

09410-00270

STRIP

SN: 20028-UP

2шт.

16

232-950-2140

GLASS

SN: 20028-UP

2шт.

17

09410-00230

STRIP

SN: 20028-UP

2шт.

18

232-950-2150

WINDOW ASS'Y

SN: 20028-UP

1шт.

19

232-955-2150

SEAL

SN: 20028-UP

2шт.

20

232-950-2310

SEAL

SN: 20028-UP

2шт.

21

01370-00516

SCREW

SN: 20028-UP

28шт.

22

01601-20513

WASHER

SN: 20028-UP

28шт.

23

232-950-2331

BOLT

SN: 20028-UP

1шт.

24

232-950-2341

ROD

SN: 20028-UP

1шт.

25

232-950-2271

ROD

SN: 20028-UP

1шт.

26

01598-01011

NUT

SN: 20028-UP

4шт.

Выбрано товаров: 28