Запчасти Komatsu GD500R-2A БОКОВ. КРЫЛО (WAY) ОПЦИОННЫЕ КОМПОНЕНТЫ

Схема запчастей Komatsu GD500R-2A - БОКОВ. КРЫЛО (WAY) ОПЦИОННЫЕ КОМПОНЕНТЫ
FIT
1:1
100%

Артикул

Название

Примечание

Количество

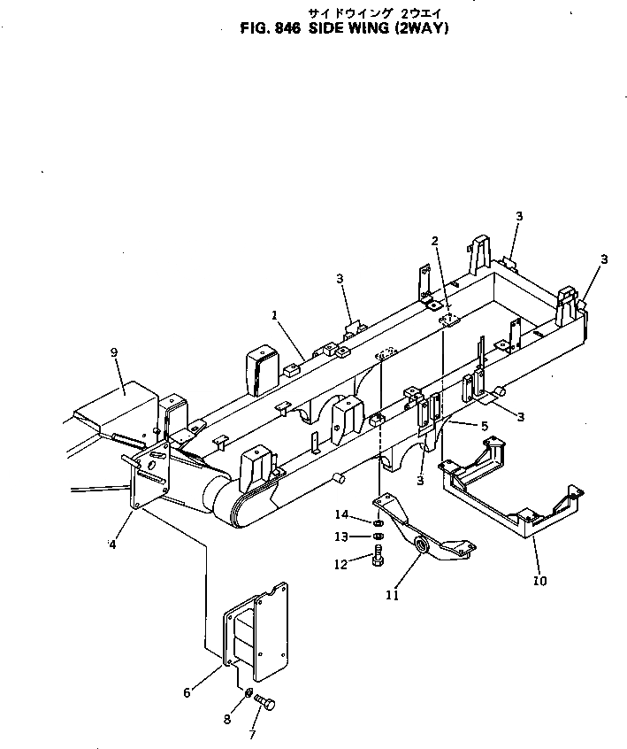
1

238-972-2110

FRAME ASS'Y,(MODIFIED PARTS)

SN: 20028-UP

1шт.

2

238-46-11850

SEAT (WELDED)

SN: 20028-UP

4шт.

3

238-972-1150

BRACKET (WELDED)

SN: 20028-UP

12шт.

4

238-972-2120

BRACKET (WELDED)

SN: 20028-UP

1шт.

5

238-972-1170

PLATE (WELDED)

SN: 20028-UP

4шт.

6

238-972-2130

BRACKET

SN: 20028-UP

1шт.

7

01010-52455

BOLT

SN: 20028-UP

4шт.

8

01643-22460

WASHER

SN: 20028-UP

4шт.

9

238-972-2140

COVER,(MODIFIED PARTS)

SN: 20028-UP

1шт.

10

238-46-11630

PROTECTOR

SN: 20028-UP

1шт.

11

238-22-11521

HANGER

SN: 20028-UP

1шт.

12

01010-51230

BOLT

SN: 20028-UP

12шт.

13

01602-21236

WASHER

SN: 20028-UP

12шт.

14

01640-21223

WASHER

SN: 20028-UP

12шт.

Выбрано товаров: 14