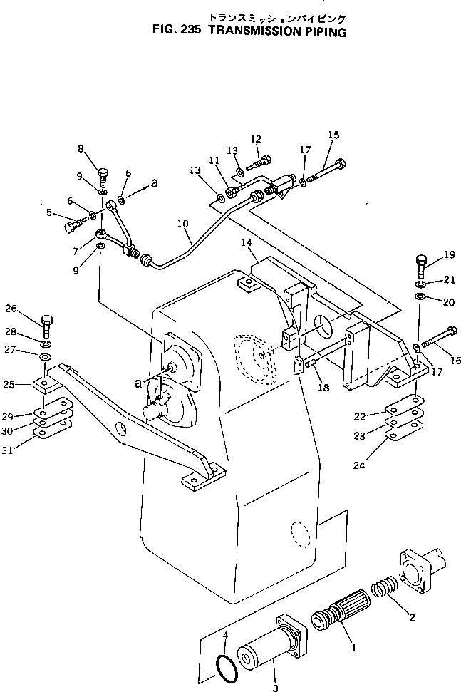
Запчасти Komatsu GD500R-2A ГИДРОЛИНИЯ ТРАНСМИССИИ СИЛОВАЯ ПЕРЕДАЧА

Схема запчастей Komatsu GD500R-2A - ГИДРОЛИНИЯ ТРАНСМИССИИ СИЛОВАЯ ПЕРЕДАЧА
FIT
1:1
100%

Артикул

Название

Примечание

Количество

|1

238-14-00010

TRANSMISSION ASS'Y

SN: 20028-UP

1шт.

1

125-15-11722

MAGNET ASS'Y

SN: 20028-UP

1шт.

2

125-15-11790

SPRING

SN: 20028-UP

1шт.

3

238-14-16130

CASE

SN: 20028-UP

1шт.

4

07000-12070

O-RING

SN: 20028-UP

1шт.

5

238-14-16210

JOINT

SN: 20028-UP

1шт.

6

07005-01412

GASKET

SN: 20028-UP

2шт.

7

238-14-16220

TUBE

SN: 20028-UP

1шт.

8

07206-11014

BOLT

SN: 20028-UP

1шт.

9

07005-01412

GASKET

SN: 20028-UP

2шт.

10

238-14-16240

TUBE

SN: 20028-UP

1шт.

11

238-14-16250

TUBE

SN: 20028-UP

1шт.

12

238-14-16210

JOINT

SN: 20028-UP

1шт.

13

07005-01412

GASKET

SN: 20028-UP

2шт.

14

238-14-11310

SUPPORT

SN: 20028-UP

1шт.

15

01011-51000

BOLT

SN: 20028-UP

1шт.

16

01010-51095

BOLT

SN: 20028-UP

3шт.

17

01602-21030

WASHER

SN: 20028-UP

4шт.

18

04020-01434

PIN

SN: 20028-UP

2шт.

19

01010-51655

BOLT

SN: 20028-UP

4шт.

20

01643-31645

WASHER

SN: 20028-UP

4шт.

21

01602-21640

WASHER

SN: 20028-UP

4шт.

22

232-14-61270

SHIM¤ 1.0MM

SN: 20028-UP

2шт.

23

232-14-61280

SHIM¤ 0.5MM

SN: 20028-UP

4шт.

24

232-14-61290

SHIM¤ 0.2MM

SN: 20028-UP

6шт.

25

238-14-11320

SUPPORT

SN: 20028-UP

1шт.

26

01010-51655

BOLT

SN: 20028-UP

4шт.

27

01643-31645

WASHER

SN: 20028-UP

4шт.

28

01602-21648

WASHER

SN: 20028-UP

4шт.

29

232-14-61270

SHIM¤ 1.0MM

SN: 20028-UP

2шт.

30

232-14-61280

SHIM¤ 0.5MM

SN: 20028-UP

4шт.

31

232-14-61290

SHIM¤ 0.2MM

SN: 20028-UP

6шт.

Выбрано товаров: 0