Запчасти Komatsu GD500R-2A ТОПЛИВН. БАК. КОМПОНЕНТЫ ДВИГАТЕЛЯ И ЭЛЕКТРИКА

Схема запчастей Komatsu GD500R-2A - ТОПЛИВН. БАК. КОМПОНЕНТЫ ДВИГАТЕЛЯ И ЭЛЕКТРИКА
FIT
1:1
100%

Артикул

Название

Примечание

Количество

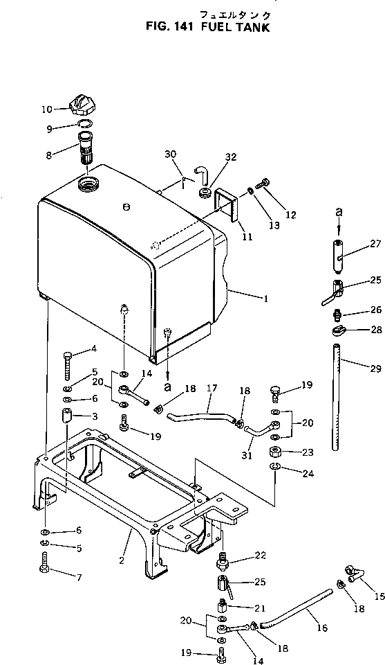
1

238-04-11210

TANK

SN: 20028-UP

1шт.

2

238-04-11320

BRACKET

SN: 20028-UP

1шт.

3

238-04-11240

SPACER

SN: 20028-UP

4шт.

4

01010-51685

BOLT

SN: 20028-UP

4шт.

5

01602-21648

WASHER

SN: 20028-UP

8шт.

6

01643-31645

WASHER

SN: 20028-UP

8шт.

7

01010-51635

BOLT

SN: 20028-UP

4шт.

8

238-04-12130

STRAINER

SN: 20028-UP

1шт.

9

07057-04087

RING

SN: 20028-UP

1шт.

10

07050-21200

CAP

SN: 20028-UP

1шт.

|10

07091-01200

CAP,(WITH KEY)

SN: 20028-UP

1шт.

11

237-04-11210

COVER

SN: 20028-UP

1шт.

12

01010-50610

BOLT

SN: 20028-UP

2шт.

13

01602-20619

WASHER

SN: 20028-UP

2шт.

14

238-04-12110

TUBE

SN: 20028-UP

2шт.

15

237-04-12150

TUBE

SN: 20028-UP

1шт.

16

07260-20950

HOSE

SN: 20028-UP

1шт.

17

07260-20940

HOSE

SN: 20028-UP

1шт.

18

07281-00197

CLAMP

SN: 20028-UP

4шт.

19

07206-11014

BOLT

SN: 20028-UP

3шт.

20

07005-01412

GASKET

SN: 20028-UP

6шт.

21

238-04-11250

NIPPLE

SN: 20028-UP

1шт.

22

238-04-11260

NIPPLE

SN: 20028-UP

1шт.

23

01580-12218

NUT

SN: 20028-UP

1шт.

24

01602-22268

WASHER

SN: 20028-UP

1шт.

25

07700-40240

VALVE

SN: 20028-UP

2шт.

26

238-04-11270

NIPPLE

SN: 20028-UP

1шт.

27

238-04-11280

NIPPLE

SN: 20028-UP

1шт.

28

236-04-21190

CLIP

SN: 20028-UP

1шт.

29

07270-01250

TUBE

SN: 20028-UP

1шт.

30

04059-01010

WIRE

SN: 20028-UP

1шт.

31

238-04-11290

TUBE

SN: 20028-UP

1шт.

32

08037-01008

GROMMET

SN: 20028-UP

1шт.

Выбрано товаров: 33