Запчасти Komatsu GD500R-2A ПАНЕЛЬ ПРИБОРОВ (/) КОМПОНЕНТЫ ДВИГАТЕЛЯ И ЭЛЕКТРИКА

Схема запчастей Komatsu GD500R-2A - ПАНЕЛЬ ПРИБОРОВ (/) КОМПОНЕНТЫ ДВИГАТЕЛЯ И ЭЛЕКТРИКА
FIT
1:1
100%

Артикул

Название

Примечание

Количество

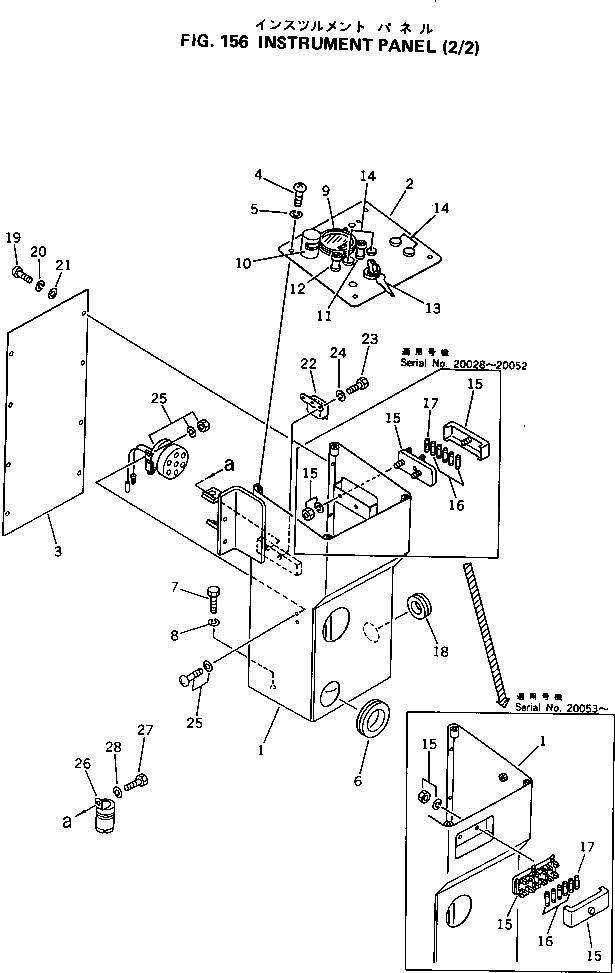
1

238-06-14271

BOX

SN: 20053-UP

1шт.

|1

238-06-14270

BOX

SN: 20028-20052

1шт.

2

238-06-14281

PANEL

SN: 20053-UP

1шт.

|2

238-06-14280

PANEL

SN: 20028-20052

1шт.

3

238-06-14290

PLATE

SN: 20028-UP

1шт.

4

01220-40816

SCREW

SN: 20028-UP

4шт.

5

01602-20825

WASHER

SN: 20028-UP

4шт.

6

08037-05016

GROMMET

SN: 20028-UP

1шт.

7

01010-51225

BOLT

SN: 20028-UP

4шт.

8

01602-21236

WASHER

SN: 20028-UP

4шт.

9

08687-22401

METER,SERVICE

SN: 20030-UP

1шт.

|9

0

METER,SERVICE

SN: 20028-20029

1шт.

10

08144-12400

LAMP,PANEL

SN: 20028-UP

1шт.

11

234-06-31930

SWITCH,PARKING

SN: 20028-UP

1шт.

12

08061-30020

SWITCH,WORK LAMP

SN: 20028-UP

1шт.

13

08086-00000

SWITCH,STARTING

SN: 20028-UP

1шт.

14

130-911-1640

PLUG

SN: 20028-UP

4шт.

15

08034-16000

BOX,FUSE

SN: 20028-UP

1шт.

16

08040-01000

FUSE¤ 10A

SN: 20028-UP

5шт.

17

08040-02000

FUSE¤ 20A

SN: 20028-UP

1шт.

18

08037-02512

GROMMET

SN: 20028-UP

2шт.

19

01220-40608

SCREW

SN: 20028-UP

8шт.

20

01602-20619

WASHER

SN: 20028-UP

8шт.

21

01640-20610

WASHER

SN: 20028-UP

8шт.

22

08163-02400

RELAY,HORN

SN: 20028-UP

1шт.

23

01010-50612

BOLT

SN: 20028-UP

2шт.

24

01602-20619

WASHER

SN: 20028-UP

2шт.

25

08166-02480

BUZZER

SN: 20028-UP

1шт.

26

08077-22400

FLASHER

SN: 20028-UP

1шт.

27

01010-50612

BOLT

SN: 20028-UP

1шт.

28

01602-20619

WASHER

SN: 20028-UP

1шт.

Выбрано товаров: 31