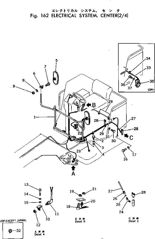
Запчасти Komatsu GD505A-2 ЭЛЕКТРИКА (ЦЕНТР.) КОМПОНЕНТЫ ДВИГАТЕЛЯ И ЭЛЕКТРИКА

Схема запчастей Komatsu GD505A-2 - ЭЛЕКТРИКА (ЦЕНТР.) КОМПОНЕНТЫ ДВИГАТЕЛЯ И ЭЛЕКТРИКА
FIT
1:1
100%

Артикул

Название

Примечание

Количество

1

233-54-21250

BRACKET,(FOR JAPAN)

SN: 50006-UP

1шт.

1

238-06-14510

BRACKET,(FOR JAPAN)

SN: 50003-50005

1шт.

2

01010-51230

BOLT,(FOR JAPAN)

SN: 50003-UP

6шт.

3

01602-21236

WASHER,(FOR JAPAN)

SN: 50003-UP

6шт.

4

01643-21232

WASHER,(FOR JAPAN)

SN: 50003-UP

6шт.

5

08174-33023

MIRROR,(FOR JAPAN)

SN: 50003-UP

2шт.

6

232-06-15151

PIVOT,(FOR JAPAN)

SN: 50003-UP

2шт.

7

01010-50825

BOLT,(FOR JAPAN)

SN: 50003-UP

2шт.

8

01602-20825

WASHER,(FOR JAPAN)

SN: 50003-UP

2шт.

9

01580-10806

NUT,(FOR JAPAN)

SN: 50003-UP

2шт.

10

238-06-17210

BRACKET

SN: 50003-UP

1шт.

11

236-06-23220

SWITCH,ARTICULATE INDICATOR

SN: 50003-UP

1шт.

12

236-06-23230

NUT

SN: 50003-UP

1шт.

13

01010-50840

BOLT

SN: 50003-UP

1шт.

14

01602-20825

WASHER

SN: 50003-UP

1шт.

15

01643-30823

WASHER

SN: 50003-UP

1шт.

16

01010-51016

BOLT

SN: 50003-UP

2шт.

17

01602-21030

WASHER

SN: 50003-UP

2шт.

18

234-06-13361

SWITCH,PARKING BRAKE

SN: 50003-UP

1шт.

19

234-06-13380

NUT

SN: 50003-UP

1шт.

20

234-06-13370

SWITCH

SN: 50003-UP

1шт.

21

01583-11610

NUT

SN: 50003-UP

1шт.

22

500-44-14160

SWITCH,AIR VALVE

SN: 50003-UP

2шт.

23

08603-00025

CABLE,SPEEDOMETER

SN: 50006-UP

1шт.

23

0

CABLE,SPEEDOMETER

SN: 50003-50005

1шт.

24

07834-00413

ELBOW

SN: 50003-UP

1шт.

25

07831-00411

SLEEVE

SN: 50003-UP

1шт.

26

07833-00410

NUT

SN: 50003-UP

1шт.

27

07823-00418

TUBE

SN: 50003-UP

1шт.

28

281-06-14280

SWITCH,STOP LAMP

SN: 50003-UP

2шт.

29

08036-02514

CLIP

SN: 50003-UP

6шт.

30

01010-51016

BOLT

SN: 50003-UP

6шт.

31

01602-21030

WASHER

SN: 50003-UP

6шт.

32

08071-12400

SWITCH,BRAKE

SN: 50003-UP

1шт.

33

238-806-2130

CABLE

SN: 50003-UP

1шт.

34

08034-00310

BAND

SN: 50003-UP

3шт.

35

08160-42400

HORN

SN: .-UP

1шт.

35

0

HORN

SN: 50003-.

1шт.

36

01010-50816

BOLT

SN: 50003-UP

2шт.

37

01602-20825

WASHER

SN: 50003-UP

2шт.

Выбрано товаров: 0