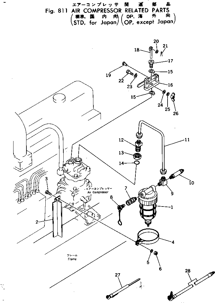
Запчасти Komatsu GD505A-2 КОМПРЕССОР КОМПОНЕНТЫ (STD¤ ДЛЯ ЯПОН.) (OP¤ КРОМЕ ЯПОН.) ОПЦИОННЫЕ КОМПОНЕНТЫ
№
Артикул
Название
Примечание
Количество
1
232-64-11221
AIR CLEANER ASS'Y
SN: 50003-UP
1шт.
2
0
FRAME
SN: 50003-UP
1шт.
3
01010-50825
BOLT
SN: 50003-UP
1шт.
4
232-64-11231
BAND
SN: 50003-UP
1шт.
5
01602-21825
WASHER
SN: 50003-UP
1шт.
7
07880-10700
SOCKET
SN: 50003-UP
1шт.
8
232-44-59160
PLUG
SN: 50003-UP
1шт.
9
238-44-21130
ELBOW
SN: 50003-UP
1шт.
10
232-64-11150
VALVE ASS'Y,SAFETY
SN: 50003-UP
1шт.
11
238-44-21120
TUBE
SN: 50003-UP
1шт.
12
238-44-21110
NIPPLE
SN: 50003-UP
1шт.
13
232-64-12160
NUT
SN: 50003-UP
1шт.
15
01650-21412
WASHER
SN: 50003-UP
2шт.
16
232-64-12152
LEVER
SN: 50003-UP
1шт.
17
232-64-12112
JOINT
SN: 50003-UP
1шт.
18
232-64-12143
ROD
SN: 50003-UP
1шт.
20
01641-00608
WASHER
SN: 50003-UP
1шт.
22
01010-50625
BOLT
SN: 50003-UP
1шт.
23
01650-20608
WASHER
SN: 50003-UP
1шт.
26
01540-20632
NUT
SN: 50003-UP
1шт.
27
09289-00000
GAUGE,TIRE
SN: 50003-UP
1шт.
28
09288-00008
HOSE
SN: 50003-UP
1шт.
Выбрано товаров: 0