Запчасти Komatsu GD505A-2 ВОЗДУХООЧИСТИТЕЛЬ КРЫШКА(МОРОЗОУСТОЙЧИВ. СПЕЦИФИКАЦИЯ.) ОПЦИОННЫЕ КОМПОНЕНТЫ

Схема запчастей Komatsu GD505A-2 - ВОЗДУХООЧИСТИТЕЛЬ КРЫШКА(МОРОЗОУСТОЙЧИВ. СПЕЦИФИКАЦИЯ.) ОПЦИОННЫЕ КОМПОНЕНТЫ
FIT
1:1
100%

Артикул

Название

Примечание

Количество

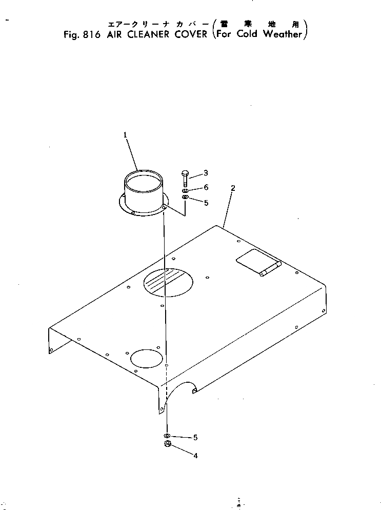
1

238-802-1110

COVER

SN: 50003-UP

1шт.

2

238-802-1120

HOOD,(MODIFIED PARTS)

SN: 50003-UP

1шт.

3

01010-51030

BOLT

SN: 50003-UP

3шт.

4

01580-01008

NUT

SN: 50003-UP

3шт.

5

01643-31032

WASHER

SN: 50003-UP

6шт.

6

01602-01030

WASHER

SN: 50003-UP

3шт.

Выбрано товаров: 0