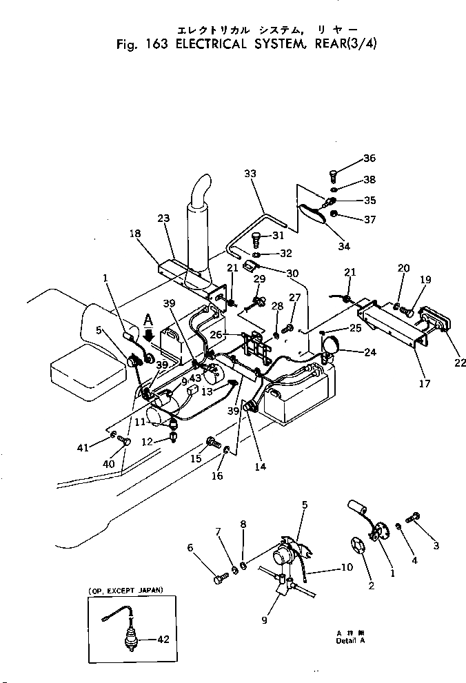
Запчасти Komatsu GD505A-2 ЭЛЕКТРИКА (ЗАДН.) КОМПОНЕНТЫ ДВИГАТЕЛЯ И ЭЛЕКТРИКА

Схема запчастей Komatsu GD505A-2 - ЭЛЕКТРИКА (ЗАДН.) КОМПОНЕНТЫ ДВИГАТЕЛЯ И ЭЛЕКТРИКА
FIT
1:1
100%

Артикул

Название

Примечание

Количество

1

232-06-52430

SENSOR,FUEL

SN: 50003-UP

1шт.

2

237-06-15190

PACKING

SN: 50003-UP

1шт.

3

01220-40412

SCREW

SN: 50003-UP

5шт.

4

01601-20410

WASHER

SN: 50003-UP

5шт.

5

237-06-15250

RELAY

SN: 50003-UP

1шт.

6

01010-50830

BOLT

SN: 50003-UP

2шт.

7

01602-20825

WASHER

SN: 50003-UP

2шт.

8

01641-20812

WASHER

SN: 50003-UP

2шт.

9

232-06-11960

CAP

SN: 50003-UP

3шт.

10

237-06-11510

WIRE

SN: 50003-UP

1шт.

11

232-06-52461

SENSOR,PRESSURE

SN: 50343-UP

1шт.

11

0

SENSOR,PRESSURE

SN: 50006-50342

1шт.

11

237-06-15160

SENSOR,PRESSURE

SN: 50003-50005

1шт.

12

238-06-14310

NIPPLE

SN: 50003-UP

1шт.

13

237-06-15120

SENSOR,THERMO

SN: 50003-UP

1шт.

14

08165-22400

BUZZER

SN: 50003-UP

1шт.

15

01010-51020

BOLT

SN: 50003-UP

1шт.

16

01602-21030

WASHER

SN: 50003-UP

1шт.

17

233-806-9360

BRACKET,L.H. (FOR VEHICLE INSPECTION)

SN: 50003-UP

1шт.

17

237-06-14160

BRACKET,L.H.

SN: 50003-UP

1шт.

18

233-806-9350

BRACKET,R.H. (FOR VEHICLE INSPECTION)

SN: 50003-UP

1шт.

18

237-06-14170

BRACKET,R.H.

SN: 50003-UP

1шт.

19

01010-50820

BOLT

SN: 50003-UP

6шт.

20

01602-20825

WASHER

SN: 50003-UP

6шт.

21

08037-03614

GROMMET

SN: 50003-UP

2шт.

22

237-06-13350

COMBINATION LAMP A.,L.H.

SN: 50003-UP

1шт.

22

237-06-13360

LENS

SN: 50003-UP

1шт.

22

08104-02420

BULB, 25/10W

SN: 50003-UP

1шт.

22

08105-02420

BULB, 25W

SN: 50003-UP

1шт.

22

08111-02430

BULB, 3W

SN: 50003-UP

1шт.

23

237-06-13340

COMBINATION LAMP A.,R.H.

SN: 50003-UP

1шт.

23

237-06-13360

LENS

SN: 50003-UP

1шт.

23

08104-02420

BULB, 25/10W

SN: 50003-UP

1шт.

23

08105-02420

BULB, 25W

SN: 50003-UP

1шт.

23

08111-02430

BULB, 3W

SN: 50003-UP

1шт.

24

08138-02400

LAMP ASS'Y

SN: 50003-UP

1шт.

24

08105-02420

BULB, 25W

SN: 50003-UP

1шт.

24

08138-00006

LENS

SN: 50003-UP

1шт.

25

233-06-11180

GROMMET

SN: 50003-UP

1шт.

26

232-06-15240

BRACKET

SN: 50030-UP

1шт.

26

232-06-15216

BRACKET

SN: 50018-50029

1шт.

26

232-06-15215

BRACKET

SN: 50003-50017

1шт.

27

01220-40616

SCREW

SN: 50003-50017

3шт.

28

01602-20619

WASHER

SN: 50003-50017

3шт.

29

08137-12400

LAMP

SN: 50003-UP

1шт.

29

08110-12410

BULB, 12W

SN: 50003-UP

1шт.

30

232-06-15131

BRACKET

SN: 50003-UP

1шт.

31

01010-51245

BOLT

SN: 50003-UP

4шт.

32

01602-21236

WASHER

SN: 50003-UP

4шт.

33

234-06-15230

TUBE

SN: 50003-UP

1шт.

34

08174-10001

MIRROR

SN: 50003-UP

1шт.

35

232-06-15151

PIVOT

SN: 50003-UP

1шт.

36

01010-50825

BOLT

SN: 50003-UP

1шт.

37

01580-10806

NUT

SN: 50003-UP

1шт.

38

01602-20825

WASHER

SN: 50003-UP

1шт.

39

08036-10614

CLIP

SN: 50003-UP

5шт.

40

01010-51016

BOLT

SN: 50003-UP

5шт.

41

01602-21030

WASHER

SN: 50003-UP

5шт.

42

232-06-52440

SWITCH,VACUUM

SN: 50003-UP

1шт.

43

140-06-18260

CAP

SN: 50003-UP

6шт.

Выбрано товаров: 60