Запчасти Komatsu GD505A-2 ПОВОРОТН. ОТВАЛ Д/СНЕГА (/)(№-.) ОПЦИОННЫЕ КОМПОНЕНТЫ

Схема запчастей Komatsu GD505A-2 - ПОВОРОТН. ОТВАЛ Д/СНЕГА (/)(№-.) ОПЦИОННЫЕ КОМПОНЕНТЫ
FIT
1:1
100%

Артикул

Название

Примечание

Количество

|$0

232-979-0200

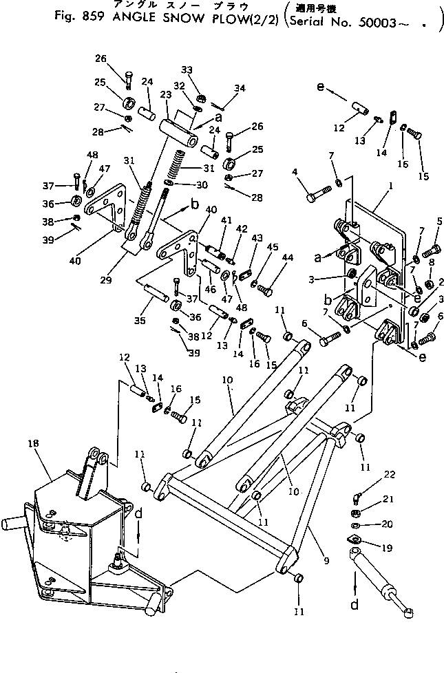
SNOW PLOW ASS'Y,ANGLE

SN: 50003-.

1шт.

|$$2

THIS ASSEMBLY CONSISTS OF ALL PARTS SHOWN IN FIGS.858 AND 859.

-1шт.

1

232-745-1170

BRACKET

SN: 50003-.

1шт.

2

234-870-8120

BUSHING

SN: 50003-@

1шт.

3

07145-00045

SEAL

SN: 50003-@

2шт.

4

01011-52410

BOLT

SN: 50003-.

2шт.

5

01010-52450

BOLT

SN: 50003-.

2шт.

6

01010-52480

BOLT

SN: 50003-.

4шт.

7

01643-32460

WASHER

SN: 50003-@

10шт.

8

01580-12419

NUT

SN: 50003-@

2шт.

9

232-725-1110

FRAME

SN: 50003-.

1шт.

10

232-870-8130

ROD

SN: 50003-.

2шт.

11

234-870-8120

BUSHING

SN: 50003-.

8шт.

12

234-870-8130

PIN

SN: 50003-.

10шт.

13

07020-00000

FITTING

SN: 50003-.

10шт.

14

04082-00212

LOCK

SN: 50003-@

10шт.

15

01010-51230

BOLT

SN: 50003-@

20шт.

16

01602-21236

WASHER

SN: 50003-@

20шт.

18

232-979-2120

SUPPORT

SN: 50003-@

1шт.

19

232-979-2130

WASHER

SN: 50003-@

2шт.

20

01643-33080

WASHER

SN: 50003-@

2шт.

21

01580-13024

NUT

SN: 50003-@

2шт.

22

07020-00675

FITTING

SN: 50003-@

2шт.

23

232-745-1280

BRACKET

SN: 50003-@

1шт.

24

232-745-1290

PIN

SN: 50003-@

2шт.

25

232-745-1310

COLLAR

SN: 50003-@

2шт.

26

232-970-1771

BOLT

SN: 50003-@

2шт.

27

01590-11012

NUT

SN: 50003-@

2шт.

28

04050-02020

PIN

SN: 50003-@

2шт.

29

232-970-1691

ROD

SN: 50003-@

2шт.

30

232-970-1710

COLLAR

SN: 50003-.

2шт.

31

232-970-1720

SPRING

SN: 50003-@

2шт.

32

232-970-1730

WASHER

SN: 50003-@

2шт.

33

01590-13335

NUT

SN: 50003-@

2шт.

34

04050-16060

PIN

SN: 50003-@

2шт.

35

232-745-1210

PIN

SN: 50003-@

1шт.

36

232-745-1230

COLLAR

SN: 50003-@

2шт.

37

232-970-1771

BOLT

SN: 50003-@

2шт.

38

01590-11012

NUT

SN: 50003-@

2шт.

39

04050-02020

PIN

SN: 50003-@

2шт.

40

232-745-1180

LEVER

SN: 50003-@

2шт.

41

232-745-1190

PIN

SN: 50003-@

1шт.

42

07020-00000

FITTING

SN: 50003-@

1шт.

43

04082-00212

LOCK

SN: 50003-@

2шт.

44

01010-51230

BOLT

SN: 50003-@

4шт.

45

01602-21236

WASHER

SN: 50003-@

4шт.

46

232-745-1220

PIN

SN: 50003-@

1шт.

47

01640-24560

WASHER

SN: 50003-@

2шт.

48

237-46-11250

PIN

SN: 50003-@

2шт.

Выбрано товаров: 49