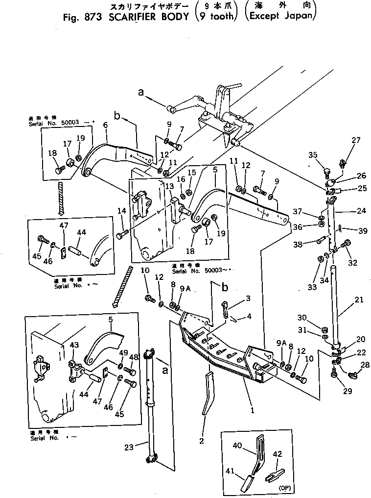
Запчасти Komatsu GD505A-2 SCARIFIER (9-PIECIES ЗУБЬЯТИП) (КРОМЕ ЯПОН.) ОПЦИОННЫЕ КОМПОНЕНТЫ

Схема запчастей Komatsu GD505A-2 - SCARIFIER (9-PIECIES ЗУБЬЯТИП) (КРОМЕ ЯПОН.) ОПЦИОННЫЕ КОМПОНЕНТЫ
FIT
1:1
100%

Артикул

Название

Примечание

Количество

|$0

238-71-00013

SCARIFIER ASS'Y

SN: .-UP

1шт.

|$1

238-71-00012

SCARIFIER ASS'Y

SN: 50003-.

1шт.

1

238-71-11110

BODY

SN: 50003-UP

1шт.

2

09271-00045

TOOTH

SN: 50003-UP

9шт.

3

232-70-13141

WEDGE

SN: .-UP

9шт.

3

0

WEDGE

SN: 50003-.

9шт.

4

04050-18050

PIN

SN: .-UP

9шт.

4

0

PIN

SN: 50003-.

9шт.

5

238-71-11150

DRAWBAR,L.H.

SN: 50003-UP

1шт.

6

238-71-11160

DRAWBAR,R.H.

SN: 50003-UP

1шт.

7

232-70-13220

BOLT

SN: 50003-UP

2шт.

8

01580-12722

NUT

SN: 50003-UP

2шт.

9

01643-32780

WASHER

SN: 50003-UP

2шт.

9A

01643-33080

WASHER

SN: 50003-UP

2шт.

10

01010-82495

BOLT

SN: 50003-UP

2шт.

11

01580-12419

NUT

SN: 50003-UP

2шт.

12

01643-32460

WASHER

SN: 50003-UP

4шт.

13

238-71-11140

BRACKET

SN: 50003-UP

2шт.

14

01011-52405

BOLT

SN: 50003-UP

4шт.

15

01580-12419

NUT

SN: 50003-UP

4шт.

16

01643-32460

WASHER

SN: 50003-UP

4шт.

17

232-70-13210

COLLAR

SN: 50003-UP

2шт.

18

01011-51400

BOLT

SN: 50003-UP

2шт.

19

01598-01415

NUT

SN: 50003-UP

2шт.

20

238-71-00030

SHIM ASS'Y

SN: 50003-UP

2шт.

20

0

SHIM, 0.5MM

SN: 50003-UP

2шт.

21

238-71-11230

ROD

SN: 50003-UP

2шт.

22

238-71-11210

CAP

SN: 50003-UP

2шт.

23

232-70-13333

ROD,R.H.

SN: .-UP

1шт.

23

0

ROD,R.H.

SN: 50003-.

1шт.

24

232-70-13333

ROD,L.H.

SN: .-UP

1шт.

24

0

ROD,L.H.

SN: 50003-.

1шт.

25

238-71-00050

SHIM ASS'Y

SN: 50003-UP

2шт.

25

0

SHIM, 0.2MM

SN: 50003-UP

2шт.

26

232-71-11330

CAP

SN: 50003-UP

2шт.

27

07020-00900

FITTING

SN: 50003-UP

2шт.

28

07020-00900

FITTING

SN: 50003-UP

2шт.

29

01010-51665

BOLT

SN: 50003-UP

4шт.

30

01580-11613

NUT

SN: 50003-UP

4шт.

31

01602-21648

WASHER

SN: 50003-UP

4шт.

32

01010-51680

BOLT

SN: 50003-UP

2шт.

33

01580-11613

NUT

SN: 50003-UP

2шт.

34

01602-21648

WASHER

SN: 50003-UP

2шт.

35

01010-51665

BOLT

SN: 50003-UP

4шт.

36

01580-11613

NUT

SN: 50003-UP

4шт.

37

01602-21648

WASHER

SN: 50003-UP

4шт.

|$46

238-71-00070

PIN ASS'Y

SN: 50003-UP

2шт.

38

232-70-13361

PIN

SN: 50003-UP

1шт.

39

232-70-13440

PIN,SNAP

SN: 50003-UP

1шт.

40

232-71-51310

SHANK

SN: 50003-UP

9шт.

41

232-71-51320

TOOTH

SN: 50003-UP

9шт.

42

232-71-51330

TOOL

SN: 50003-UP

1шт.

43

238-71-13310

BRACKET

SN: .-UP

2шт.

44

09241-50160

PIN

SN: .-UP

2шт.

45

01010-51225

BOLT

SN: .-UP

2шт.

46

01602-21236

WASHER

SN: .-UP

4шт.

47

04082-00212

LOCK

SN: .-UP

2шт.

48

01010-51670

BOLT

SN: .-UP

2шт.

49

01643-31645

WASHER

SN: .-UP

2шт.

Выбрано товаров: 59