Запчасти Komatsu GD505A-2 КОНСОЛЬН. БЛОК (/) ГИДРАВЛИКА

Схема запчастей Komatsu GD505A-2 - КОНСОЛЬН. БЛОК (/) ГИДРАВЛИКА
FIT
1:1
100%

Артикул

Название

Примечание

Количество

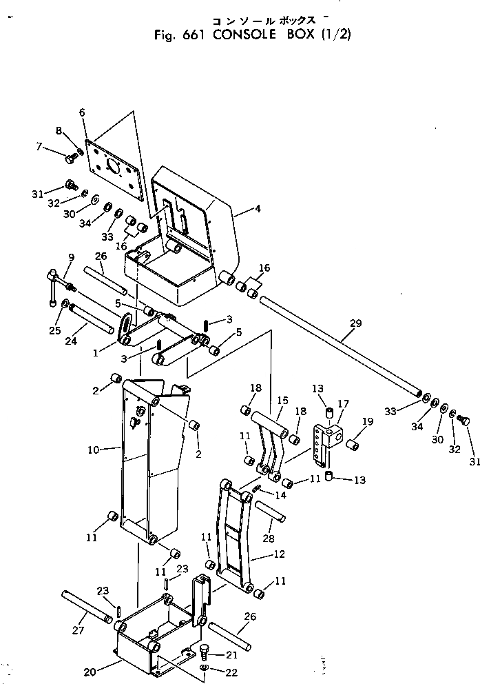
1

233-43-27110

BRACKET

SN: 50003-UP

1шт.

2

234-885-1620

BUSHING

SN: 50003-UP

2шт.

3

04025-00532

PIN

SN: 50003-UP

2шт.

4

233-43-27220

BRACKET

SN: 50003-UP

1шт.

5

234-885-1620

BUSHING

SN: 50003-UP

4шт.

6

233-43-27241

PLATE

SN: 50018-UP

1шт.

|6

0

PLATE

SN: 50003-50017

1шт.

7

01010-50820

BOLT

SN: 50003-UP

4шт.

8

01602-20825

WASHER

SN: 50003-UP

4шт.

9

233-43-27250

HANDLE

SN: 50003-UP

1шт.

10

233-43-27350

BRACKET

SN: 50003-UP

1шт.

11

234-885-1620

BUSHING

SN: 50003-UP

6шт.

12

233-43-27360

BRACKET

SN: 50003-UP

1шт.

13

234-885-1620

BUSHING

SN: 50003-UP

2шт.

14

04025-00532

PIN

SN: 50003-UP

1шт.

15

233-43-27370

BRACKET

SN: 50003-UP

1шт.

16

234-885-1620

BUSHING

SN: 50003-UP

4шт.

17

233-43-27380

SLIDER

SN: 50003-UP

1шт.

18

234-885-1620

BUSHING

SN: 50003-UP

2шт.

19

234-885-1610

BUSHING

SN: 50003-UP

1шт.

20

233-43-27120

BRACKET

SN: 50003-UP

1шт.

21

01010-51225

BOLT

SN: 50003-UP

4шт.

22

01602-21236

WASHER

SN: 50003-UP

4шт.

23

04025-00532

PIN

SN: 50003-UP

2шт.

24

233-43-27390

SHAFT

SN: 50003-UP

1шт.

25

04064-02012

RING

SN: 50003-UP

1шт.

26

233-43-27310

SHAFT

SN: 50003-UP

2шт.

27

233-43-27320

SHAFT

SN: 50003-UP

1шт.

28

233-43-27330

SHAFT

SN: 50003-UP

1шт.

29

233-43-27340

SHAFT

SN: 50003-UP

1шт.

30

232-43-58360

WASHER

SN: 50003-UP

2шт.

31

01010-51225

BOLT

SN: 50003-UP

2шт.

32

01602-21236

WASHER

SN: 50003-UP

2шт.

33

232-43-58370

SHIM¤ 0.5MM

SN: 50003-UP

5шт.

34

232-43-58380

SHIM¤ 0.2MM

SN: 50003-UP

10шт.

Выбрано товаров: 35