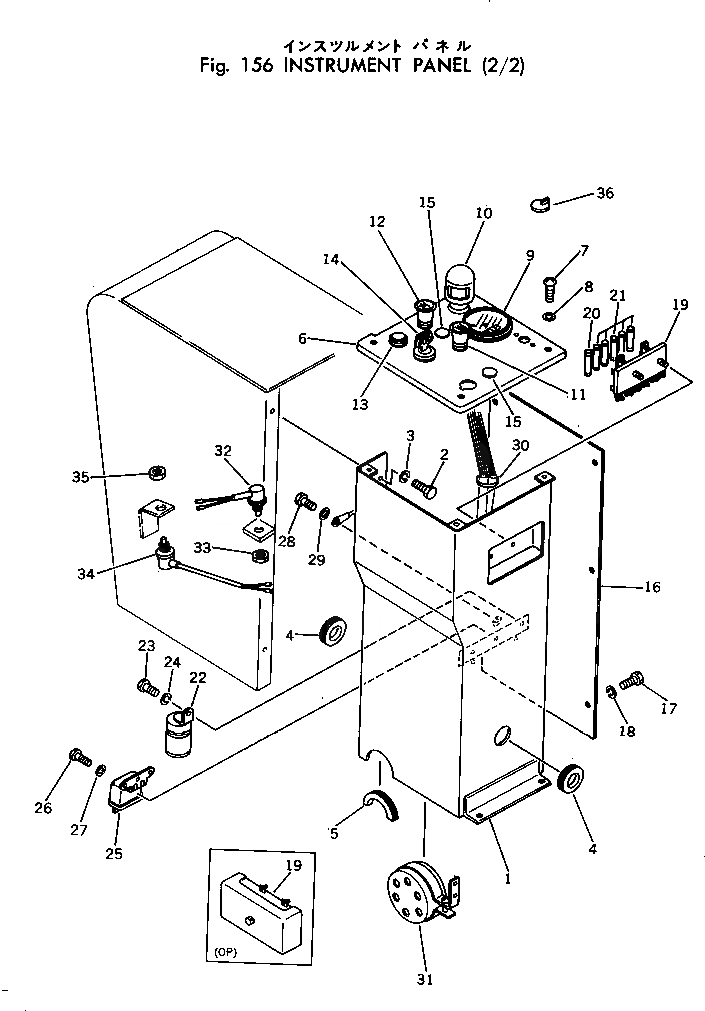
Запчасти Komatsu GD505A-2 ПАНЕЛЬ ПРИБОРОВ КОМПОНЕНТЫ ДВИГАТЕЛЯ И ЭЛЕКТРИКА

Схема запчастей Komatsu GD505A-2 - ПАНЕЛЬ ПРИБОРОВ КОМПОНЕНТЫ ДВИГАТЕЛЯ И ЭЛЕКТРИКА
FIT
1:1
100%

Артикул

Название

Примечание

Количество

1

238-06-14210

BOX

SN: 50003-UP

1шт.

2

01010-50820

BOLT

SN: 50003-UP

5шт.

3

01602-20825

WASHER

SN: 50003-UP

5шт.

4

08037-02512

GROMMET

SN: 50003-UP

2шт.

5

08037-05016

GROMMET

SN: 50229-UP

1шт.

|5

238-06-17371

GROMMET

SN: 50006-50228

1шт.

|5

0

GROMMET

SN: 50003-50005

1шт.

6

238-06-14230

PANEL

SN: 50003-UP

1шт.

7

01220-40612

SCREW

SN: 50003-UP

4шт.

8

01643-30623

WASHER

SN: 50003-UP

4шт.

9

08687-22401

METER,SERVICE

SN: 50090-UP

1шт.

|9

0

METER,SERVICE

SN: 50003-50089

1шт.

10

08144-12400

LAMP

SN: 50003-UP

1шт.

11

236-06-23330

SWITCH,PARKING LAMP

SN: 50003-UP

1шт.

12

08061-30020

SWITCH,WORK LAMP

SN: 50229-UP

1шт.

|12

236-06-23320

SWITCH,WORK LAMP

SN: 50003-50228

1шт.

13

600-815-2371

SIGNAL,HEATER

SN: 50003-UP

1шт.

14

08086-00000

SWITCH,STARTING

SN: 50003-UP

1шт.

15

130-911-1640

PLUG

SN: 50003-UP

3шт.

16

238-06-14220

PLATE

SN: 50003-UP

1шт.

17

01010-50620

BOLT

SN: 50003-UP

6шт.

18

01602-20619

WASHER

SN: 50003-UP

6шт.

19

08043-16000

BOX

SN: 50003-UP

1шт.

|19

232-06-52610

BOX,(SANDY AND DUSTY SPEC.)

SN: 50003-UP

1шт.

20

08040-02000

FUSE¤ 20A

SN: 50003-UP

1шт.

21

08040-01000

FUSE¤ 10A

SN: 50003-UP

5шт.

22

08077-22400

FLASHER

SN: 50003-UP

1шт.

23

01010-50612

BOLT

SN: 50003-UP

1шт.

24

01602-20619

WASHER

SN: 50003-UP

1шт.

25

08163-02400

RELAY,HORN

SN: 50003-UP

1шт.

26

01010-50612

BOLT

SN: 50003-UP

2шт.

27

01602-20619

WASHER

SN: 50003-UP

2шт.

28

01010-50810

BOLT

SN: 50003-UP

1шт.

29

01640-20816

WASHER

SN: 50003-UP

1шт.

30

08034-00519

BAND

SN: 50003-UP

2шт.

31

08166-02480

BUZZER

SN: 50003-UP

1шт.

32

08074-40000

SWITCH,BACK LAMP

SN: 50003-UP

1шт.

33

236-06-23230

NUT

SN: 50003-UP

1шт.

34

08074-40000

SWITCH,SAFETY

SN: 50003-UP

1шт.

35

236-06-23230

NUT

SN: 50003-UP

1шт.

36

201-06-21520

COVER

SN: 50003-UP

1шт.

Выбрано товаров: 41