Запчасти Komatsu GD505A-2 СИСТЕМА ROPS ОПЦИОННЫЕ КОМПОНЕНТЫ

Схема запчастей Komatsu GD505A-2 - СИСТЕМА ROPS ОПЦИОННЫЕ КОМПОНЕНТЫ
FIT
1:1
100%

Артикул

Название

Примечание

Количество

|1

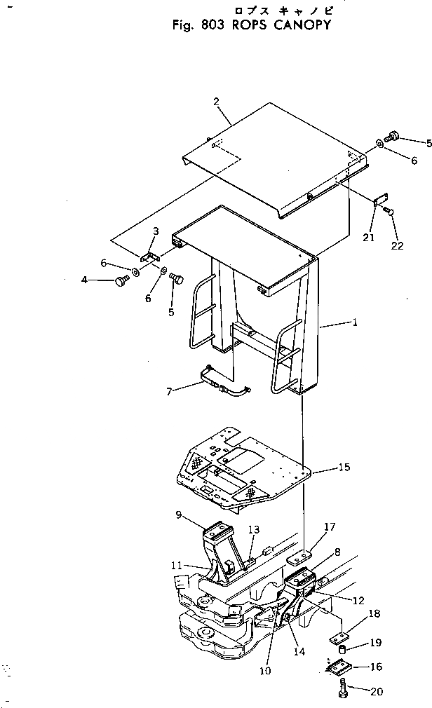
238-957-0020

ROPS CANOPY ASS'Y

SN: 50003-UP

1шт.

1

232-957-2111

ROPS BRACKET

SN: 50003-UP

1шт.

2

232-957-2122

ROOF

SN: 50003-UP

1шт.

3

232-957-2140

PLATE

SN: 50003-UP

2шт.

4

01010-51225

BOLT

SN: 50003-UP

4шт.

5

01010-51220

BOLT

SN: 50003-UP

8шт.

6

01643-31232

WASHER

SN: 50003-UP

12шт.

7

09409-10000

BELT

SN: 50003-UP

1шт.

|8

238-957-2100

FRAME,(MODIFIED PARTS)

SN: 50003-UP

1шт.

8

238-957-2110

BRACKET,L.H. (WELDED)

SN: 50003-UP

1шт.

9

238-957-2120

BRACKET,R.H. (WELDED)

SN: 50003-UP

1шт.

10

238-957-2130

BRACKET,L.H. (WELDED)

SN: 50003-UP

1шт.

11

238-957-2140

BRACKET,R.H. (WELDED)

SN: 50003-UP

1шт.

12

238-957-2150

PLATE,L.H. (WELDED)

SN: 50003-UP

1шт.

13

238-957-2160

PLATE,R.H. (WELDED)

SN: 50003-UP

1шт.

14

238-957-2180

STOPPER (WELDED)

SN: 50003-UP

2шт.

15

238-957-2210

FRAME,(MODIFIED PARTS)

SN: 50003-UP

1шт.

16

232-957-1140

PLATE

SN: 50003-UP

2шт.

17

232-957-1150

SEAT

SN: 50003-UP

2шт.

18

232-957-1160

SEAT

SN: 50003-UP

2шт.

19

234-54-31190

SPACER

SN: 50003-UP

4шт.

20

01011-83035

BOLT

SN: 50003-UP

4шт.

21

232-53-62360

PLATE¤ MARK,(ENGLISH)

SN: 50003-UP

1шт.

|21

232-53-63360

PLATE¤ MARK,(FRENCH)

SN: 50003-UP

1шт.

|21

232-53-64360

PLATE¤ MARK,(SPANISH)

SN: 50003-UP

1шт.

|21

232-53-65360

PLATE¤ MARK,(ARABIC)

SN: 50003-UP

1шт.

|21

232-53-71360

PLATE¤ MARK,(PORTUGUESE)

SN: 50003-UP

1шт.

|21

232-53-77360

PLATE¤ MARK,(INDONESIAN)

SN: 50003-UP

1шт.

22

04418-13060

SCREW

SN: 50003-UP

4шт.

Выбрано товаров: 29