Запчасти Komatsu GD505A-2 СНЕГООЧИСТИТ. V-ТИПА (/)(№.-) ОПЦИОННЫЕ КОМПОНЕНТЫ

Схема запчастей Komatsu GD505A-2 - СНЕГООЧИСТИТ. V-ТИПА (/)(№.-) ОПЦИОННЫЕ КОМПОНЕНТЫ
FIT
1:1
100%

Артикул

Название

Примечание

Количество

|1

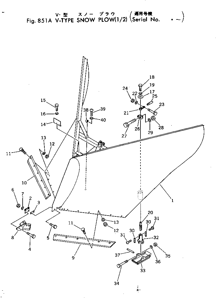
232-745-0011

SNOW PLOW ASS'Y,V-TYPE

SN: .-UP

1шт.

|$$2

THIS ASSEMBLY CONSISTS OF ALL PARTS SHOWN IN FIGS.851A AND 852A.

-1шт.

1

232-745-1111

PLOW

SN: .-UP

1шт.

2

232-745-1260

PLATE

SN: 50003-UP

1шт.

3

232-745-1270

SHIM¤ 0.5MM

SN: 50003-UP

1шт.

4

01010-51245

BOLT

SN: 50003-UP

2шт.

5

01010-51240

BOLT

SN: 50003-UP

2шт.

6

01580-11210

NUT

SN: 50003-UP

4шт.

7

01602-21236

WASHER

SN: 50003-UP

4шт.

8

232-970-1260

BIT,END

SN: 50003-UP

1шт.

9

232-970-1280

EDGE

SN: 50003-UP

1шт.

10

232-970-1290

EDGE

SN: 50003-UP

1шт.

11

02090-11050

BOLT

SN: 50003-UP

16шт.

12

02290-11016

NUT

SN: 50003-UP

16шт.

13

01643-31645

WASHER

SN: 50003-UP

16шт.

14

232-970-1440

BRACKET

SN: 50003-UP

1шт.

15

01010-51220

BOLT

SN: 50003-UP

2шт.

16

01602-21236

WASHER

SN: 50003-UP

2шт.

|17

232-745-0020

SLED ASS'Y

SN: .-UP

3шт.

17

232-970-2730

PLATE

SN: .-UP

1шт.

18

01010-50816

BOLT

SN: .-UP

1шт.

19

01602-00825

WASHER

SN: .-UP

1шт.

20

232-970-2740

BOLT

SN: .-UP

1шт.

21

232-970-2750

LEVER

SN: .-UP

1шт.

22

01602-00825

WASHER

SN: .-UP

1шт.

23

01010-50835

BOLT

SN: .-UP

1шт.

24

01580-00806

NUT

SN: .-UP

1шт.

25

232-970-2760

HANDLE

SN: .-UP

1шт.

26

232-970-2770

PLATE

SN: .-UP

1шт.

27

01011-51205

BOLT

SN: .-UP

1шт.

28

01580-01210

NUT

SN: .-UP

1шт.

29

01602-01236

WASHER

SN: .-UP

1шт.

30

232-970-2810

KEY

SN: .-UP

2шт.

31

01220-40310

SCREW

SN: .-UP

4шт.

32

232-970-2820

JOINT

SN: .-UP

1шт.

33

232-970-2840

SLED

SN: .-UP

1шт.

34

01010-51065

BOLT

SN: .-UP

1шт.

35

01580-01008

NUT

SN: .-UP

1шт.

36

01602-01030

WASHER

SN: .-UP

1шт.

37

232-970-2860

PIN

SN: .-UP

1шт.

38

232-970-2880

PLATE

SN: .-UP

1шт.

39

01220-40306

SCREW

SN: .-UP

2шт.

40

01601-20307

WASHER

SN: .-UP

2шт.

Выбрано товаров: 43