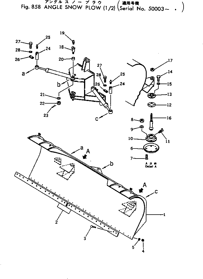
Запчасти Komatsu GD505A-2 ПОВОРОТН. ОТВАЛ Д/СНЕГА (/)(№-.) ОПЦИОННЫЕ КОМПОНЕНТЫ

Схема запчастей Komatsu GD505A-2 - ПОВОРОТН. ОТВАЛ Д/СНЕГА (/)(№-.) ОПЦИОННЫЕ КОМПОНЕНТЫ
FIT
1:1
100%

Артикул

Название

Примечание

Количество

|1

232-979-0200

SNOW PLOW ASS'Y,ANGLE

SN: 50003-.

1шт.

|$$2

THIS ASSEMBLY CONSISTS OF ALL PARTS SHOWN IN FIGS.858 AND 859.

-1шт.

1

232-979-2110

PLOW

SN: 50003-.

1шт.

2

232-70-12143

EDGE

SN: 50003-@

2шт.

3

232-70-12450

BOLT

SN: 50003-@

16шт.

4

232-70-12480

NUT

SN: 50003-@

16шт.

5

01643-31645

WASHER

SN: 50003-@

16шт.

|6

232-970-0122

SLED ASS'Y

SN: 50003-.

2шт.

6

232-979-1360

SLED

SN: 50003-@

1шт.

6

232-979-1370

PLATE

SN: 50003-@

1шт.

7

232-70-12450

BOLT

SN: 50003-@

4шт.

8

232-70-12480

NUT

SN: 50003-@

4шт.

9

01643-31645

WASHER

SN: 50003-.

4шт.

10

232-970-5221

PLATE

SN: 50003-@

1шт.

11

07020-00675

FITTING

SN: 50003-@

1шт.

12

232-770-5230

SHIM

SN: 50003-.

1шт.

13

232-970-5250

PLATE

SN: 50003-.

1шт.

14

01010-51035

BOLT

SN: 50003-@

4шт.

15

01602-21030

WASHER

SN: 50003-@

4шт.

16

232-970-5261

SHAFT

SN: 50003-.

1шт.

17

01580-14838

NUT

SN: 50003-.

1шт.

18

232-979-3140

PIN

SN: 50003-.

2шт.

19

07020-00675

FITTING

SN: 50003-.

2шт.

20

234-870-8120

BUSHING

SN: 50003-@

2шт.

21

01640-22540

WASHER

SN: 50003-.

2шт.

22

01590-12427

NUT

SN: 50003-.

2шт.

23

04050-05045

PIN

SN: 50003-.

2шт.

24

234-870-8130

PIN

SN: 50003-@

2шт.

25

07020-00000

FITTING

SN: 50003-@

2шт.

26

04082-00212

LOCK

SN: 50003-@

2шт.

27

01010-51230

BOLT

SN: 50003-@

4шт.

28

01602-21236

WASHER

SN: 50003-.

4шт.

Выбрано товаров: 32