Запчасти Komatsu GD505A-2 ПЕРЕДН. ОТВАЛ(№-.) ОПЦИОННЫЕ КОМПОНЕНТЫ

Схема запчастей Komatsu GD505A-2 - ПЕРЕДН. ОТВАЛ(№-.) ОПЦИОННЫЕ КОМПОНЕНТЫ
FIT
1:1
100%

Артикул

Название

Примечание

Количество

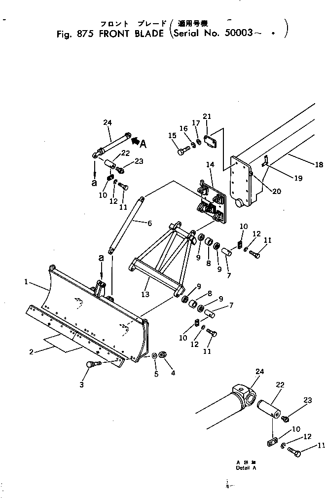
1

232-870-8110

BLADE

SN: 50003-.

1шт.

2

233-971-5120

EDGE

SN: 50003-.

2шт.

3

232-70-12450

BOLT

SN: 50003-.

14шт.

4

232-70-12480

NUT

SN: 50003-.

14шт.

5

01643-31645

WASHER

SN: 50003-.

14шт.

6

238-725-1150

ROD

SN: 50003-@

2шт.

7

238-725-1120

PIN

SN: 50003-@

8шт.

8

238-725-1130

BUSHING

SN: 50003-@

8шт.

9

238-725-1140

SEAL

SN: 50003-@

16шт.

10

04082-00212

LOCK

SN: 50003-@

10шт.

11

01010-51230

BOLT

SN: 50003-@

20шт.

12

01602-21236

WASHER

SN: 50003-@

20шт.

13

238-725-1110

FRAME

SN: 50003-.

1шт.

14

232-725-1110

FRAME

SN: 50003-.

1шт.

15

01010-51225

BOLT

SN: 50003-@

2шт.

16

01602-21236

WASHER

SN: 50003-@

2шт.

17

01643-31232

WASHER

SN: 50003-.

2шт.

|18

238-60-16450

FRAME

SN: 50003-.

1шт.

18

238-46-12100

FRAME ASS'Y,FRONT

SN: 50003-.

1шт.

19

237-46-12530

PLATE

SN: 50003-.

1шт.

20

234-979-5320

SEAT

SN: 50003-.

1шт.

21

238-725-1420

COVER

SN: 50003-@

1шт.

22

234-870-8130

PIN

SN: 50003-@

2шт.

23

07020-00000

FITTING

SN: 50003-@

2шт.

24

232-63-33300

CYLINDER ASS'Y

SN: 50003-@

1шт.

Выбрано товаров: 25