Запчасти Komatsu GD505A-2 ТРАНСМИССИЯ (УПРАВЛЯЮЩ. КЛАПАН) (/)(№7-) СИЛОВАЯ ПЕРЕДАЧА

Схема запчастей Komatsu GD505A-2 - ТРАНСМИССИЯ (УПРАВЛЯЮЩ. КЛАПАН) (/)(№7-) СИЛОВАЯ ПЕРЕДАЧА
FIT
1:1
100%

Артикул

Название

Примечание

Количество

|1

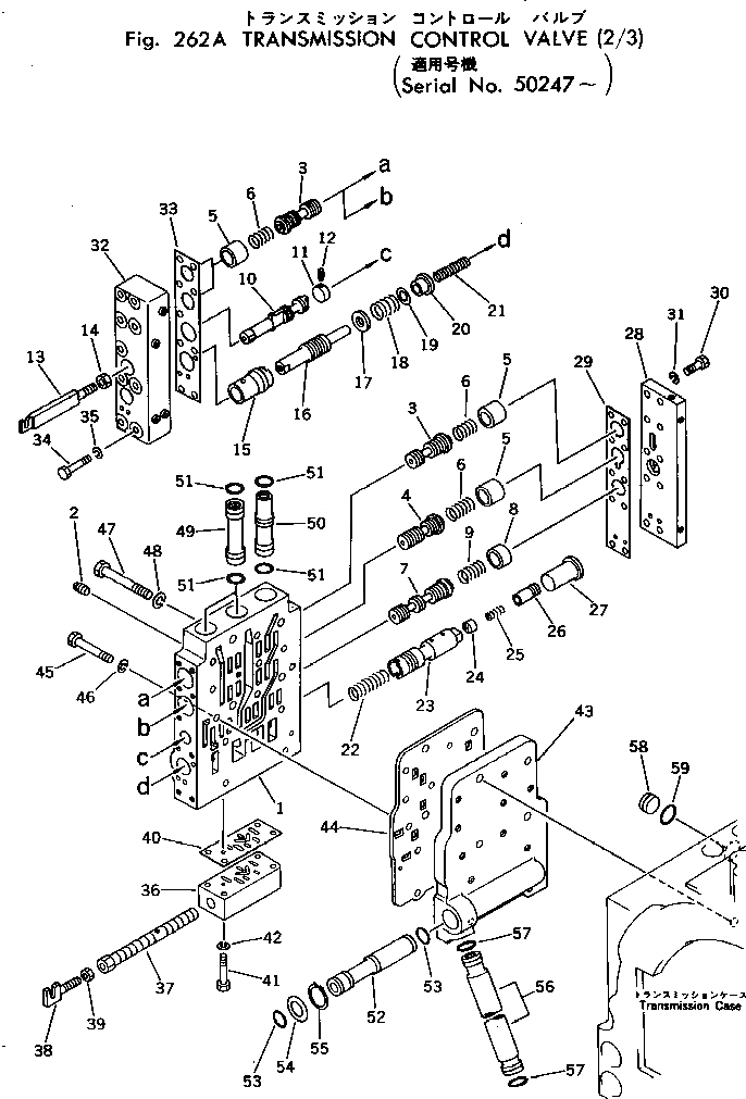
238-15-00022

TRANSMISSION ASS'Y

SN: 50247-UP

1шт.

|$$2

THIS ASSEMBLY CONSISTS OF ALL PARTS SHOWN IN FIGS.251 TO 263.

-1шт.

|1

238-15-00322

VALVE ASS'Y,SHIFT CONTROL

SN: 50487-UP

1шт.

|1

0

VALVE ASS'Y,SHIFT CONTROL

SN: 50247-50486

1шт.

1

232-15-15111

BODY

SN: 50247-UP

1шт.

2

07042-20108

PLUG

SN: 50003-UP

3шт.

3

232-15-15210

SPOOL,SHIFT VALVE

SN: 50003-UP

3шт.

4

232-15-15220

SPOOL,CUT OFF VALVE

SN: 50003-UP

1шт.

5

232-15-15230

STOPPER

SN: 50003-UP

4шт.

6

232-15-16110

SPRING

SN: 50003-UP

4шт.

7

232-15-15240

SPOOL,HIGH-LOW SHIFT VALVE

SN: 50003-UP

1шт.

8

232-15-15250

STOPPER

SN: 50003-UP

1шт.

9

232-15-16110

SPRING

SN: 50003-UP

1шт.

10

232-15-15260

SPOOL,FORWARD REVERSE

SN: 50003-UP

1шт.

11

232-15-15270

STOPPER

SN: 50003-UP

1шт.

12

04025-00440

PIN

SN: 50003-UP

1шт.

13

232-15-15710

YOKE

SN: 50003-UP

2шт.

14

01580-10806

NUT

SN: 50003-UP

2шт.

15

232-15-15360

SLEEVE

SN: 50247-UP

1шт.

16

232-15-15281

SPOOL,INCHING VALVE

SN: 50247-UP

1шт.

17

232-15-15350

WASHER

SN: 50247-UP

1шт.

18

232-15-16180

SPRING

SN: 50247-UP

1шт.

19

281-15-15480

SHIM¤ 0.5MM

SN: 50247-UP

1шт.

20

232-15-15340

SEAT

SN: 50247-UP

1шт.

21

232-15-16170

SPRING

SN: 50247-UP

1шт.

22

362-15-15530

SPRING

SN: 50247-UP

1шт.

23

232-15-15371

VALVE,INCHING

SN: 50487-UP

1шт.

|23

0

VALVE,INCHING

SN: 50247-50486

1шт.

|$$29

(232-15-15371{232-15-15292)}

-1шт.

24

22W-75-18890

VALVE

SN: 50247-UP

1шт.

25

125-15-15290

SPRING

SN: 50247-UP

1шт.

26

22W-75-18880

SLEEVE

SN: 50247-UP

1шт.

27

232-15-15292

STOPPER

SN: 50487-UP

1шт.

|27

0

STOPPER

SN: 50247-50846

1шт.

|$$35

(232-15-15292{232-15-15371)}

-1шт.

28

232-15-15380

COVER

SN: 50003-UP

1шт.

29

232-15-15910

GASKET (KIT)

SN: 50003-UP

1шт.

30

01010-50830

BOLT

SN: 50003-UP

10шт.

31

01602-20825

WASHER

SN: 50003-UP

10шт.

32

232-15-15391

COVER

SN: 50247-UP

1шт.

33

232-15-15921

GASKET (KIT)

SN: 50247-UP

1шт.

34

01010-50850

BOLT

SN: 50003-UP

9шт.

35

01602-20825

WASHER

SN: 50003-UP

9шт.

36

232-15-15310

BODY

SN: 50003-UP

1шт.

37

232-15-15330

SPOOL,SPEED SELECTOR

SN: 50003-UP

1шт.

38

09363-00350

YOKE

SN: 50003-UP

1шт.

39

01580-10806

NUT

SN: 50003-UP

1шт.

40

232-15-15930

GASKET (KIT)

SN: 50003-UP

1шт.

41

01010-50845

BOLT

SN: 50003-UP

4шт.

42

01602-20825

WASHER

SN: 50003-UP

4шт.

43

232-15-15131

SEAT

SN: 50247-UP

1шт.

44

232-15-15141

PLATE

SN: 50247-UP

1шт.

45

01010-50860

BOLT

SN: 50003-UP

11шт.

46

01602-20825

WASHER

SN: 50003-UP

11шт.

47

01010-51080

BOLT

SN: 50003-UP

4шт.

48

01602-21030

WASHER

SN: 50003-UP

4шт.

49

232-15-15150

SLEEVE

SN: 50003-UP

2шт.

50

232-15-15160

SLEEVE

SN: 50003-UP

1шт.

51

07000-72021

O-RING (KIT)

SN: 50003-UP

6шт.

52

232-15-15170

SLEEVE

SN: 50003-UP

1шт.

53

07000-72021

O-RING (KIT)

SN: 50003-UP

2шт.

54

232-15-15190

PLATE

SN: 50003-UP

1шт.

55

04064-02512

RING

SN: 50003-UP

1шт.

56

238-15-15180

SLEEVE

SN: 50003-UP

1шт.

57

07000-72021

O-RING (KIT)

SN: 50003-UP

2шт.

58

113-15-25340

STOPPER

SN: 50003-UP

1шт.

59

07000-72018

O-RING (KIT)

SN: 50003-UP

1шт.

Выбрано товаров: 67