Запчасти Komatsu GD505A-2 ДВИГАТЕЛЬ ПАНЕЛЬ (STD¤ ДЛЯ ЯПОН.) (OP¤ КРОМЕ ЯПОН.) РАМА И ЧАСТИ КОРПУСА

Схема запчастей Komatsu GD505A-2 - ДВИГАТЕЛЬ ПАНЕЛЬ (STD¤ ДЛЯ ЯПОН.) (OP¤ КРОМЕ ЯПОН.) РАМА И ЧАСТИ КОРПУСА
FIT
1:1
100%

Артикул

Название

Примечание

Количество

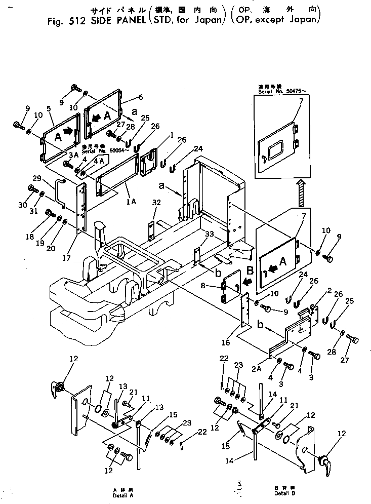
1

238-54-12750

PLATE,LOWER¤ R.H.

SN: 50003-UP

1шт.

1A

238-54-12760

PLATE,LOWER¤ R.H.

SN: 50003-UP

1шт.

2

238-54-12730

PLATE,LOWER¤ L.H.

SN: 50003-UP

1шт.

2A

238-54-12740

PLATE,LOWER¤ L.H.

SN: 50003-UP

1шт.

3

01010-51020

BOLT

SN: 50054-UP

13шт.

3A

01010-51025

BOLT

SN: 50054-UP

4шт.

|3A

01010-51020

BOLT

SN: 50003-50053

4шт.

4

01602-21030

WASHER

SN: 50003-UP

17шт.

4A

01643-31032

WASHER

SN: 50054-UP

4шт.

5

238-54-12430

PANEL

SN: 50003-UP

1шт.

6

238-54-12440

PANEL

SN: 50003-UP

1шт.

7

238-54-13890

PANEL,(FOR JAPAN)

SN: 50475-UP

1шт.

|7

238-54-12450

PANEL,(FOR JAPAN)

SN: 50003-50474

1шт.

|7

238-54-12450

PANEL,(EXCEPT JAPAN)

SN: 50003-UP

1шт.

8

238-54-12460

PANEL

SN: 50003-UP

1шт.

9

01010-51025

BOLT

SN: 50003-UP

16шт.

10

01602-21030

WASHER

SN: 50003-UP

16шт.

10A

01643-31032

WASHER

SN: 50006-UP

16шт.

11

238-54-12610

PLATE

SN: 50003-UP

4шт.

12

238-54-12620

HANDLE

SN: 50003-UP

4шт.

13

238-54-12470

BAR

SN: 50003-UP

6шт.

14

238-54-12480

BAR

SN: 50003-UP

2шт.

15

236-54-22460

SPRING

SN: 50003-UP

4шт.

16

238-54-12720

COVER

SN: 50003-UP

1шт.

17

238-54-12710

COVER

SN: 50003-UP

1шт.

18

01010-51030

BOLT

SN: 50003-UP

5шт.

19

01602-21030

WASHER

SN: 50003-UP

5шт.

20

01643-31232

WASHER

SN: 50003-UP

5шт.

21

04205-10514

PIN

SN: 50003-UP

8шт.

22

04050-11210

PIN

SN: 50003-UP

8шт.

23

01641-20508

WASHER

SN: 50003-UP

32шт.

24

233-54-22440

PLATE

SN: 50003-UP

2шт.

25

233-54-22430

PLATE

SN: 50003-UP

2шт.

26

233-54-22480

SEAT

SN: 50003-UP

4шт.

27

01010-50625

BOLT

SN: 50003-UP

10шт.

28

01602-20619

WASHER

SN: 50003-UP

10шт.

29

238-54-12690

STAY

SN: 50003-UP

1шт.

30

01010-51030

BOLT

SN: 50003-UP

2шт.

31

01602-21030

WASHER

SN: 50003-UP

2шт.

32

233-46-21760

PLATE

SN: 50003-UP

1шт.

33

233-46-21750

PLATE

SN: 50003-UP

1шт.

Выбрано товаров: 41