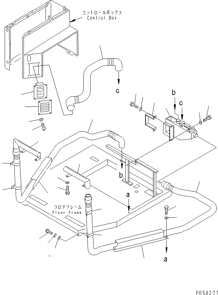
Запчасти Komatsu GD505A-3 КОНДИЦ. ВОЗДУХА (/9) (ВОЗДУХОВОД¤ ПЕРЕДН.)(№7-) РАМА И ЧАСТИ КОРПУСА

Схема запчастей Komatsu GD505A-3 - КОНДИЦ. ВОЗДУХА (/9) (ВОЗДУХОВОД¤ ПЕРЕДН.)(№7-) РАМА И ЧАСТИ КОРПУСА
1
2
3
4
5
6
7
8
9
10
11
12
13
14
15
16
17
18
18
18
18
19
20
21
22
23
24
25
FIT
1:1
100%

Артикул

Название

Примечание

Количество

1

23D-809-3431

BOX

SN: 1701-UP

1шт.

2

01010-50816

BOLT

SN: 1701-UP

2шт.

3

01643-30823

WASHER

SN: 1701-UP

2шт.

4

23D-809-3120

CLAMP

SN: 1701-UP

1шт.

5

01010-50825

BOLT

SN: 1701-UP

2шт.

6

01643-30823

WASHER

SN: 1701-UP

2шт.

7

23D-807-1230

HOSE

SN: 1701-UP

1шт.

8

23D-807-1240

HOSE

SN: 1701-UP

1шт.

9

23D-807-1260

PIPE

SN: 1701-UP

1шт.

10

23D-807-1270

PIPE

SN: 1701-UP

1шт.

11

01010-51016

BOLT

SN: 1701-UP

4шт.

12

01643-31032

WASHER

SN: 1701-UP

4шт.

13

23B-809-3760

HOSE

SN: 1701-UP

1шт.

14

23B-809-3730

BOX

SN: 1701-UP

1шт.

15

142-979-3221

GRILLE ASS'Y

SN: 1701-UP

1шт.

16

01220-40612

SCREW

SN: 1701-UP

4шт.

17

01643-30623

WASHER

SN: 1701-UP

4шт.

18

23D-807-1280

CLIP

SN: 1701-UP

4шт.

19

01220-40516

SCREW

SN: 1701-UP

4шт.

20

01601-20513

WASHER,SPRING

SN: 1701-UP

4шт.

21

01641-20508

WASHER

SN: 1701-UP

4шт.

22

23D-807-1221

COVER,L.H.

SN: .-UP

1шт.

23

23D-807-1211

COVER,R.H.

SN: .-UP

1шт.

24

01010-50816

BOLT

SN: 1701-UP

2шт.

25

01643-30823

WASHER

SN: 1701-UP

2шт.

Выбрано товаров: 25