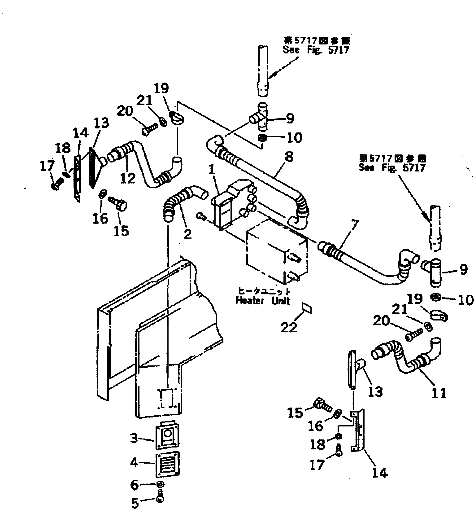
Запчасти Komatsu GD505A-3 ОБОГРЕВАТЕЛЬ. (/) (ВОЗДУХОВОД¤ ПЕРЕДН.)(№-7) РАМА И ЧАСТИ КОРПУСА

Схема запчастей Komatsu GD505A-3 - ОБОГРЕВАТЕЛЬ. (/) (ВОЗДУХОВОД¤ ПЕРЕДН.)(№-7) РАМА И ЧАСТИ КОРПУСА
FIT
1:1
100%

Артикул

Название

Примечание

Количество

1

23B-807-1810

BOX

SN: 1501-1700

1шт.

2

23B-807-1820

HOSE

SN: 1501-1700

1шт.

3

23B-807-1830

BOX

SN: 1501-1700

1шт.

4

142-979-3221

GRILLE ASS'Y

SN: 1501-@

1шт.

5

01220-40612

SCREW

SN: 1501-@

4шт.

6

01643-30623

WASHER

SN: 1501-@

4шт.

7

23B-807-1860

HOSE

SN: 1501-1700

1шт.

8

23B-807-1910

HOSE

SN: 1501-1700

1шт.

9

23B-807-1920

JOINT

SN: 1501-1700

2шт.

10

23B-807-1930

COLLAR

SN: 1501-1700

2шт.

11

23B-807-1890

HOSE

SN: 1501-1700

1шт.

12

23B-807-1850

HOSE

SN: 1501-1700

1шт.

13

232-817-1350

NOZZLE

SN: 1501-@

2шт.

14

23B-807-1870

PLATE

SN: 1501-@

2шт.

15

01010-51016

BOLT

SN: 1501-@

4шт.

16

01643-31032

WASHER

SN: 1501-@

4шт.

17

01220-40512

SCREW

SN: 1501-@

4шт.

18

01601-20513

WASHER,SPRING

SN: 1501-@

4шт.

19

23D-807-1280

CLIP

SN: 1501-1700

2шт.

20

01220-40516

SCREW

SN: 1501-1700

2шт.

21

01641-20508

WASHER

SN: 1501-1700

2шт.

22

234-807-5190

PLATE¤ OPERATING,HEATER

SN: 1501-1700

1шт.

Выбрано товаров: 22