Запчасти Komatsu GD505A-3 ОТВАЛ (С НАКЛОНЯЕМ.) РАБОЧЕЕ ОБОРУДОВАНИЕ

Схема запчастей Komatsu GD505A-3 - ОТВАЛ (С НАКЛОНЯЕМ.) РАБОЧЕЕ ОБОРУДОВАНИЕ
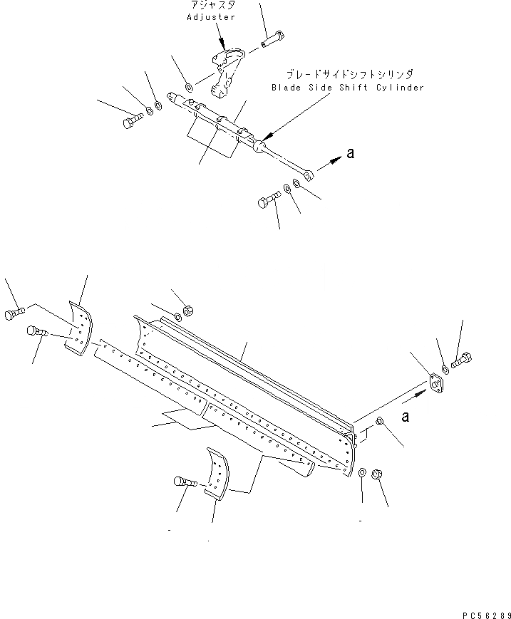
1
2
3
4
4
5
6
6
7
7
8
8
9
10
11
12
13
14
15
16
17
18
19
20
21
FIT
1:1
100%

Артикул

Название

Примечание

Количество

1

23A-735-0020

BLADE

SN: 1501-UP

1шт.

|1

23A-735-0010

BLADE

SN: 1001-1500

1шт.

|1

23A-735-1180

BLADE,(MODIFIED PART)

SN: 1001-UP

1шт.

|1

23B-70-12230

BLADE

SN: 1501-UP

1шт.

|1

23B-70-12220

BLADE

SN: 1001-1500

1шт.

|1

23B-70-12380

RAIL,UPPER (WELDED)

SN: 1501-UP

1шт.

|1

23B-70-12290

RAIL,UPPER (WELDED)

SN: 1001-1500

1шт.

|1

23B-70-12390

RAIL,LOWER (WELDED)

SN: 1501-UP

1шт.

|1

23B-70-12280

RAIL,LOWER (WELDED)

SN: 1001-1500

1шт.

2

07048-01510

PLUG

SN: 1001-UP

6шт.

3

232-70-12143

EDGE

SN: 1001-UP

2шт.

4

232-70-52190

BIT,END

SN: 1001-UP

2шт.

5

232-70-12450

BOLT

SN: 1001-UP

28шт.

6

232-70-12460

BOLT

SN: 1001-UP

4шт.

7

232-70-12480

NUT

SN: 1001-UP

32шт.

8

01643-31645

WASHER

SN: 1001-UP

32шт.

9

23A-70-13170

BRACKET

SN: 1002-UP

1шт.

|9

23A-70-12121

BRACKET

SN: 1001-1001

1шт.

10

01010-51640

BOLT

SN: 1001-UP

4шт.

11

01643-31645

WASHER

SN: 1001-UP

4шт.

12

23A-70-12150

WASHER

SN: 1001-UP

1шт.

13

01010-51225

BOLT

SN: 1001-UP

1шт.

14

01643-31232

WASHER

SN: 1001-UP

1шт.

15

23A-70-13190

SHAFT

SN: 1002-UP

1шт.

|15

23A-70-12131

SHAFT

SN: 1001-1001

1шт.

16

23A-70-13180

COLLAR

SN: 1002-UP

1шт.

|16

23A-70-12140

COLLAR

SN: 1001-1001

1шт.

17

23A-70-12150

WASHER

SN: 1001-UP

1шт.

18

01010-51225

BOLT

SN: 1001-UP

1шт.

19

01643-31232

WASHER

SN: 1001-UP

1шт.

20

23B-70-13271

COVER

SN: 1501-UP

1шт.

21

07281-01029

CLAMP

SN: 1501-UP

3шт.

Выбрано товаров: 32