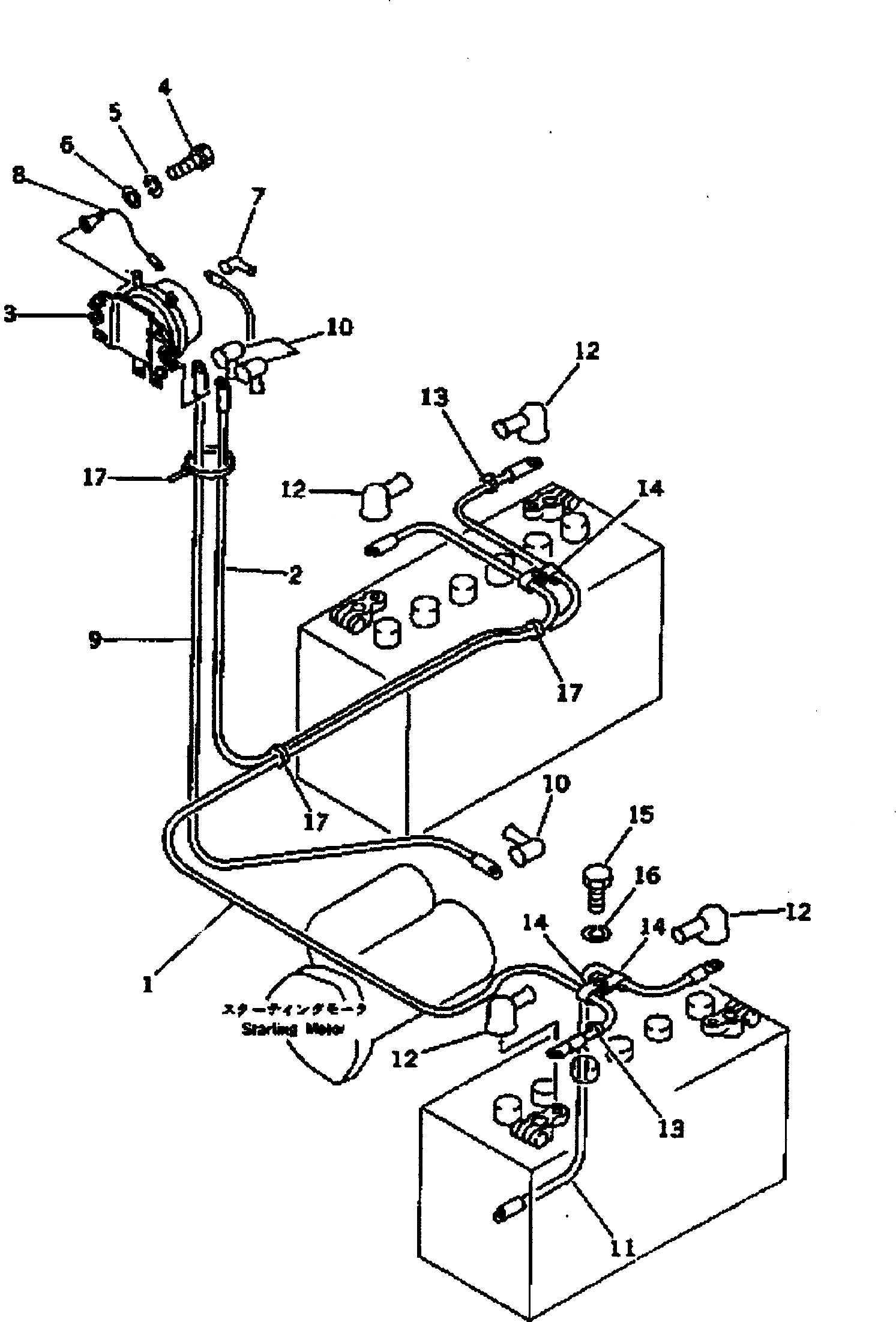
Запчасти Komatsu GD505A-3 ЭЛЕКТРИКА (ЛИНИЯ АККУМУЛЯТОРА) КОМПОНЕНТЫ ДВИГАТЕЛЯ И ЭЛЕКТРИКА

Схема запчастей Komatsu GD505A-3 - ЭЛЕКТРИКА (ЛИНИЯ АККУМУЛЯТОРА) КОМПОНЕНТЫ ДВИГАТЕЛЯ И ЭЛЕКТРИКА
FIT
1:1
100%

Артикул

Название

Примечание

Количество

1

23A-06-11290

WIRE

SN: 1031-UP

1шт.

|1

0

WIRE

SN: 1001-1030

1шт.

|1

23A-06-11110

WIRE,(FOR LARGE CAPACITY BATTERY)

SN: 1001-UP

1шт.

2

23A-06-11310

HARNESS

SN: 1031-UP

1шт.

|2

0

WIRE

SN: 1001-1030

1шт.

|2

23A-06-11120

WIRE,(FOR LARGE CAPACITY BATTERY)

SN: 1001-UP

1шт.

3

22W-06-13220

SWITCH,BATTERY

SN: 1001-UP

1шт.

4

01010-50830

BOLT

SN: 1001-UP

2шт.

5

01602-20825

WASHER,SPRING

SN: 1001-UP

2шт.

6

01641-20812

WASHER

SN: 1001-UP

2шт.

7

08038-00519

CAP

SN: 1001-UP

1шт.

8

237-06-11510

WIRE

SN: 1001-UP

1шт.

9

23A-06-11280

WIRE

SN: 1031-UP

1шт.

|9

0

WIRE

SN: 1001-1030

1шт.

|9

23A-06-11130

WIRE,(FOR LARGE CAPACITY BATTERY)

SN: 1001-UP

1шт.

10

232-06-11960

CAP

SN: 1001-UP

3шт.

11

23A-06-11360

WIRE

SN: 1031-UP

1шт.

|11

0

WIRE

SN: 1001-1030

1шт.

|11

238-06-17230

WIRE,(FOR LARGE CAPACITY BATTERY)

SN: 1001-UP

1шт.

12

232-06-11970

CAP

SN: 1001-UP

4шт.

13

234-06-41320

BAND,MARK

SN: 1001-UP

2шт.

14

08036-01414

CLIP

SN: 1001-UP

4шт.

15

01010-51220

BOLT

SN: 1001-UP

2шт.

16

01643-31232

WASHER

SN: 1001-UP

2шт.

17

08034-00834

BAND

SN: 1001-UP

5шт.

Выбрано товаров: 25