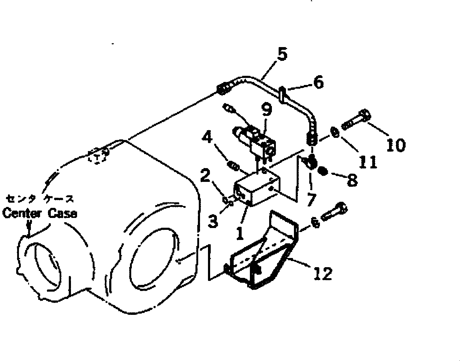
Запчасти Komatsu GD505A-3 бЛОК. ДИФФЕРЕНЦИАЛА ТРУБЫ (/) (СОЛЕНОИДНЫЙ КЛАПАН - КОРПУС)(№-7) СИЛОВАЯ ПЕРЕДАЧА

Схема запчастей Komatsu GD505A-3 - бЛОК. ДИФФЕРЕНЦИАЛА ТРУБЫ (/) (СОЛЕНОИДНЫЙ КЛАПАН - КОРПУС)(№-7) СИЛОВАЯ ПЕРЕДАЧА
FIT
1:1
100%

Артикул

Название

Примечание

Количество

1

23B-22-22210

BLOCK

SN: 1001-1700

1шт.

2

07000-12020

O-RING

SN: 1001-1700

1шт.

3

07000-12015

O-RING

SN: 1001-1700

1шт.

4

07042-20312

PLUG

SN: 1501-1700

1шт.

|4

07042-00312

PLUG

SN: 1001-1500

1шт.

5

07102-20307

HOSE

SN: .-1700

1шт.

|5

07102-20308

HOSE

SN: 1001-.

1шт.

6

23B-22-22410

CLIP

SN: 1001-1700

1шт.

7

235-22-12150

ELBOW

SN: 1001-1700

1шт.

8

07042-20108

PLUG

SN: 1501-1700

1шт.

|8

07042-00108

PLUG

SN: 1001-1500

1шт.

9

235-22-12500

SOLENOID VALVE ASS'Y

SN: 1001-1700

1шт.

|9

235-22-12510

O-RING

SN: 1001-1700

4шт.

|9

01252-40545

BOLT

SN: 1001-1700

4шт.

10

01011-51060

BOLT

SN: 1001-1700

2шт.

11

01643-31032

WASHER

SN: 1001-1700

2шт.

12

23B-22-21260

PROTECTOR

SN: 1001-1700

1шт.

Выбрано товаров: 17