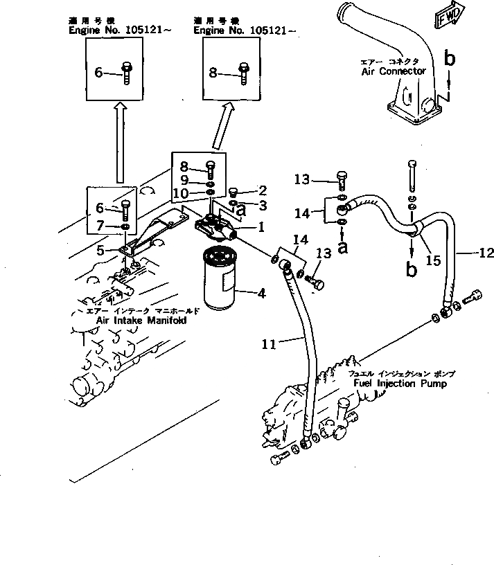
Запчасти Komatsu S6D105-1JJ ТОПЛИВН. ФИЛЬТР. И ТРУБЫ(№9778-) ТОПЛИВН. СИСТЕМА

Схема запчастей Komatsu S6D105-1JJ - ТОПЛИВН. ФИЛЬТР. И ТРУБЫ(№9778-) ТОПЛИВН. СИСТЕМА
FIT
1:1
100%

Артикул

Название

Примечание

Количество

|1

6136-72-6101

FUEL FILTER ASS'Y

SN: 105121-UP

1шт.

|1

0

FUEL FILTER ASS'Y

SN: 79301-105120

1шт.

1

6136-72-6110

COVER

SN: 79301-UP

1шт.

2

600-311-6710

PLUG

SN: 79301-UP

1шт.

3

07005-01412

GASKET

SN: 95318-UP

1шт.

|3

07005-01412

GASKET (K2)

SN: 79301-95317

1шт.

4

600-311-8221

CARTRIDGE

SN: 105121-UP

1шт.

|4

0

CARTRIDGE

SN: 79301-105120

1шт.

5

6136-71-5860

BRACKET

SN: 92778-UP

1шт.

6

01435-01020

BOLT

SN: 105121-UP

2шт.

|6

0

BOLT

SN: 92778-105120

2шт.

7

01602-01030

WASHER,SPRING

SN: 92778-105120

2шт.

8

01435-01030

BOLT

SN: 105121-UP

2шт.

|8

0

BOLT

SN: 79301-105120

2шт.

9

01602-01030

WASHER,SPRING

SN: 79301-105120

2шт.

10

01640-21016

WASHER

SN: 79301-105120

2шт.

11

07271-11450

HOSE

SN: 79301-UP

1шт.

12

07271-01460

HOSE

SN: 79301-UP

1шт.

13

07206-11014

BOLT,JOINT

SN: 79301-UP

2шт.

14

07005-01412

GASKET (K2)

SN: 79301-UP

4шт.

15

6130-71-6411

CLIP

SN: 79301-UP

1шт.

|1

6136-72-6101

FUEL FILTER ASS'Y

SN: 105121-UP

1шт.

|1

0

FUEL FILTER ASS'Y

SN: 79301-105120

1шт.

1

6136-72-6110

COVER

SN: 79301-UP

1шт.

2

600-311-6710

PLUG

SN: 79301-UP

1шт.

3

07005-01412

GASKET

SN: 95318-UP

1шт.

|3

07005-01412

GASKET (K2)

SN: 79301-95317

1шт.

4

600-311-8221

CARTRIDGE

SN: 105121-UP

1шт.

|4

0

CARTRIDGE

SN: 79301-105120

1шт.

5

6136-71-5860

BRACKET

SN: 92778-UP

1шт.

6

01435-01020

BOLT

SN: 105121-UP

2шт.

|6

0

BOLT

SN: 92778-105120

2шт.

7

01602-01030

WASHER,SPRING

SN: 92778-105120

2шт.

8

01435-01030

BOLT

SN: 105121-UP

2шт.

|8

0

BOLT

SN: 79301-105120

2шт.

9

01602-01030

WASHER,SPRING

SN: 79301-105120

2шт.

10

01640-21016

WASHER

SN: 79301-105120

2шт.

11

07271-11450

HOSE

SN: 79301-UP

1шт.

12

07271-01460

HOSE

SN: 79301-UP

1шт.

13

07206-11014

BOLT,JOINT

SN: 79301-UP

2шт.

14

07005-01412

GASKET (K2)

SN: 79301-UP

4шт.

15

6130-71-6411

CLIP

SN: 79301-UP

1шт.

Выбрано товаров: 42