Запчасти Komatsu S6D105-1JJ КОМПРЕССОР И КРЕПЛЕНИЕ(№8-) АКСЕССУАРЫ

Схема запчастей Komatsu S6D105-1JJ - КОМПРЕССОР И КРЕПЛЕНИЕ(№8-) АКСЕССУАРЫ
FIT
1:1
100%

Артикул

Название

Примечание

Количество

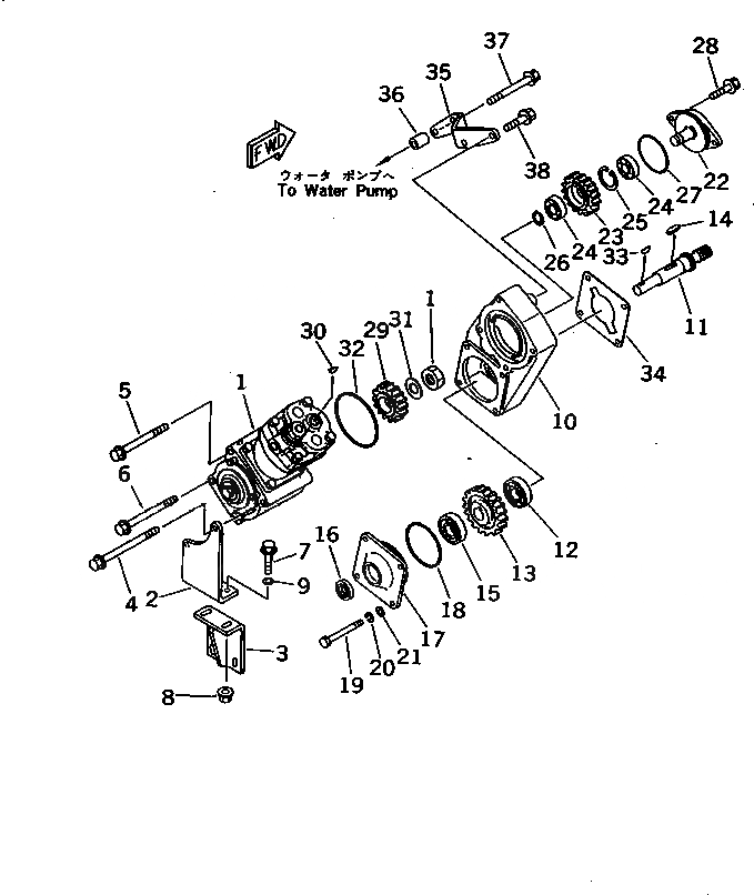
1

6136-81-3120

AIR COMPRESSOR ASS'Y,(SEE FIG.0711)

SN: 79301-UP

1шт.

2

6136-81-3730

BRACKET

SN: 79301-UP

1шт.

3

6136-81-3720

BRACKET

SN: 79301-UP

1шт.

4

01436-01050

BOLT

SN: 106648-UP

2шт.

5

01436-01040

BOLT

SN: 106648-UP

1шт.

6

01436-01035

BOLT

SN: 106648-UP

1шт.

7

01435-01035

BOLT

SN: 106648-UP

2шт.

8

01584-01008

NUT

SN: 106648-UP

2шт.

9

01643-31032

WASHER

SN: 106648-UP

2шт.

10

6136-81-3811

CASE,POWER TAKE OFF

SN: 92778-UP

1шт.

11

6136-81-3830

SHAFT

SN: 79301-UP

1шт.

12

06040-06206

BEARING,BALL

SN: 79301-UP

1шт.

13

6136-81-3850

GEAR

SN: 79301-UP

1шт.

14

04000-00730

KEY

SN: 79301-UP

1шт.

15

06040-06305

BEARING,BALL

SN: 79301-UP

1шт.

16

07012-00020

SEAL,OIL (K2)

SN: 79301-UP

1шт.

17

6136-81-3820

COVER,POWER TAKE OFF

SN: 79301-UP

1шт.

18

07000-62100

O-RING (K2)

SN: 79301-UP

1шт.

19

01050-31095

BOLT

SN: 79301-UP

4шт.

20

01602-01030

WASHER,SPRING

SN: 79301-UP

4шт.

21

01640-21016

WASHER

SN: 79301-UP

4шт.

22

6136-81-3840

SHAFT

SN: 79301-UP

1шт.

23

6136-81-3860

GEAR

SN: 79301-UP

1шт.

24

06040-06204

BEARING,BALL

SN: 79301-UP

2шт.

25

04065-04718

RING,SNAP

SN: 79301-UP

1шт.

26

04064-02012

RING,SNAP

SN: 79301-UP

1шт.

27

07000-62080

O-RING (K2)

SN: 79301-UP

1шт.

28

01435-00820

BOLT

SN: 106648-UP

2шт.

29

6136-81-3870

GEAR

SN: 79301-UP

1шт.

30

04010-00519

KEY

SN: 79301-UP

1шт.

31

135-945-1530

SPACER

SN: 79301-UP

1шт.

32

07000-02125

O-RING (K2)

SN: 79301-UP

1шт.

33

04010-00416

KEY

SN: 79301-UP

1шт.

34

6131-81-3141

GASKET (K2)

SN: 79301-UP

1шт.

35

6136-81-3710

PLATE

SN: 79301-UP

1шт.

36

6134-12-5120

SPACER

SN: 79301-UP

2шт.

37

01435-01090

BOLT

SN: 106648-UP

2шт.

38

01435-01025

BOLT

SN: 106648-UP

2шт.

1

6136-81-3120

AIR COMPRESSOR ASS'Y,(SEE FIG.0711)

SN: 79301-UP

1шт.

2

6136-81-3730

BRACKET

SN: 79301-UP

1шт.

3

6136-81-3720

BRACKET

SN: 79301-UP

1шт.

4

01436-01050

BOLT

SN: 106648-UP

2шт.

5

01436-01040

BOLT

SN: 106648-UP

1шт.

6

01436-01035

BOLT

SN: 106648-UP

1шт.

7

01435-01035

BOLT

SN: 106648-UP

2шт.

8

01584-01008

NUT

SN: 106648-UP

2шт.

9

01643-31032

WASHER

SN: 106648-UP

2шт.

10

6136-81-3811

CASE,POWER TAKE OFF

SN: 92778-UP

1шт.

11

6136-81-3830

SHAFT

SN: 79301-UP

1шт.

12

06040-06206

BEARING,BALL

SN: 79301-UP

1шт.

13

6136-81-3850

GEAR

SN: 79301-UP

1шт.

14

04000-00730

KEY

SN: 79301-UP

1шт.

15

06040-06305

BEARING,BALL

SN: 79301-UP

1шт.

16

07012-00020

SEAL,OIL (K2)

SN: 79301-UP

1шт.

17

6136-81-3820

COVER,POWER TAKE OFF

SN: 79301-UP

1шт.

18

07000-62100

O-RING (K2)

SN: 79301-UP

1шт.

19

01050-31095

BOLT

SN: 79301-UP

4шт.

20

01602-01030

WASHER,SPRING

SN: 79301-UP

4шт.

21

01640-21016

WASHER

SN: 79301-UP

4шт.

22

6136-81-3840

SHAFT

SN: 79301-UP

1шт.

23

6136-81-3860

GEAR

SN: 79301-UP

1шт.

24

06040-06204

BEARING,BALL

SN: 79301-UP

2шт.

25

04065-04718

RING,SNAP

SN: 79301-UP

1шт.

26

04064-02012

RING,SNAP

SN: 79301-UP

1шт.

27

07000-62080

O-RING (K2)

SN: 79301-UP

1шт.

28

01435-00820

BOLT

SN: 106648-UP

2шт.

29

6136-81-3870

GEAR

SN: 79301-UP

1шт.

30

04010-00519

KEY

SN: 79301-UP

1шт.

31

135-945-1530

SPACER

SN: 79301-UP

1шт.

32

07000-02125

O-RING (K2)

SN: 79301-UP

1шт.

33

04010-00416

KEY

SN: 79301-UP

1шт.

34

6131-81-3141

GASKET (K2)

SN: 79301-UP

1шт.

35

6136-81-3710

PLATE

SN: 79301-UP

1шт.

36

6134-12-5120

SPACER

SN: 79301-UP

2шт.

37

01435-01090

BOLT

SN: 106648-UP

2шт.

38

01435-01025

BOLT

SN: 106648-UP

2шт.

Выбрано товаров: 76