Запчасти Komatsu GD510R-1 ПАНЕЛЬ ПРИБОРОВ ( ) КОМПОНЕНТЫ ДВИГАТЕЛЯ И ЭЛЕКТРИКА

Схема запчастей Komatsu GD510R-1 - ПАНЕЛЬ ПРИБОРОВ ( ) КОМПОНЕНТЫ ДВИГАТЕЛЯ И ЭЛЕКТРИКА
FIT
1:1
100%

Артикул

Название

Примечание

Количество

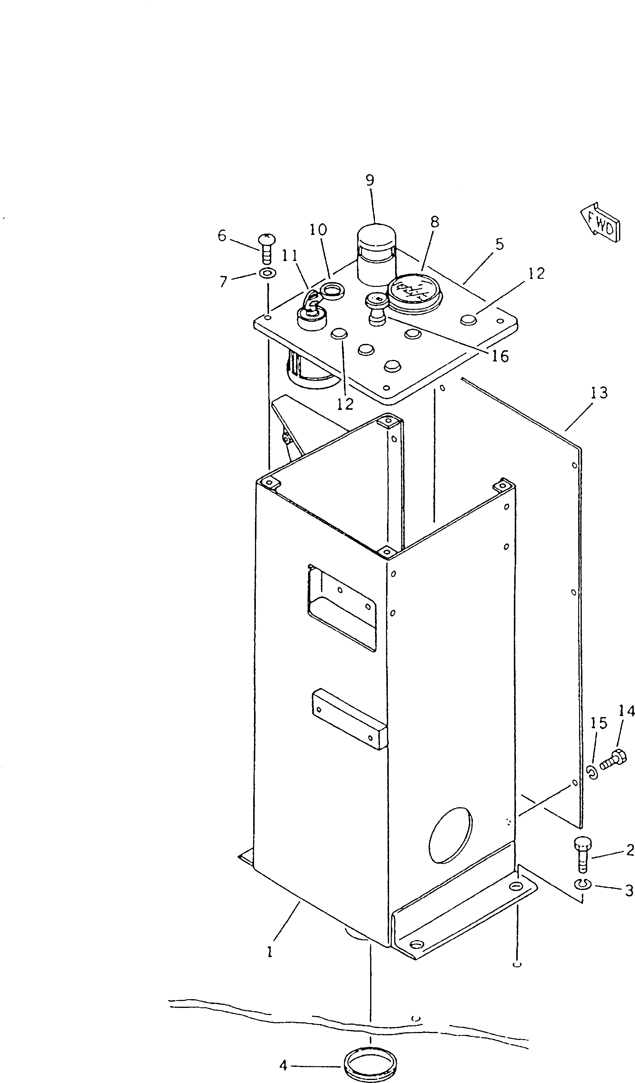
1

23A-06-12341

BOX

SN: 15360-UP

1шт.

|1

23A-06-12340

BOX

SN: 15001-15359

1шт.

2

01010-51220

BOLT

SN: 15001-UP

4шт.

3

01643-31232

WASHER

SN: 15001-UP

4шт.

4

08037-05016

GROMMET

SN: 15001-UP

1шт.

5

23A-06-12320

PANEL

SN: 15001-UP

1шт.

6

01220-40612

SCREW

SN: 15001-UP

4шт.

7

01643-30623

WASHER

SN: 15001-UP

4шт.

8

08687-22403

METER,SERVICE

SN: 15186-UP

1шт.

|8

0

METER,SERVICE

SN: 15001-15185

1шт.

9

08144-12400

LAMP,PANEL

SN: 15001-UP

1шт.

|9

08110-12410

BULB¤ 12W

SN: 15001-UP

1шт.

10

600-815-3730

SIGNAL,HEATER

SN: 15001-UP

1шт.

11

08086-10000

SWITCH,STARTING

SN: 15001-UP

1шт.

12

130-911-1640

PLUG

SN: 15001-UP

5шт.

13

23A-06-12350

PLATE

SN: 15001-UP

1шт.

14

01010-50620

BOLT

SN: 15001-UP

6шт.

15

01643-30623

WASHER

SN: 15001-UP

6шт.

16

237-06-15230

SWITCH,HEAD LAMP

SN: 15001-UP

1шт.

Выбрано товаров: 0