Запчасти Komatsu GD510R-1 ДВИГАТЕЛЬ И ЧАСТИ КРЕПЛЕНИЯ ТРАНСМИССИИ КОМПОНЕНТЫ ДВИГАТЕЛЯ И ЭЛЕКТРИКА

Схема запчастей Komatsu GD510R-1 - ДВИГАТЕЛЬ И ЧАСТИ КРЕПЛЕНИЯ ТРАНСМИССИИ КОМПОНЕНТЫ ДВИГАТЕЛЯ И ЭЛЕКТРИКА
FIT
1:1
100%

Артикул

Название

Примечание

Количество

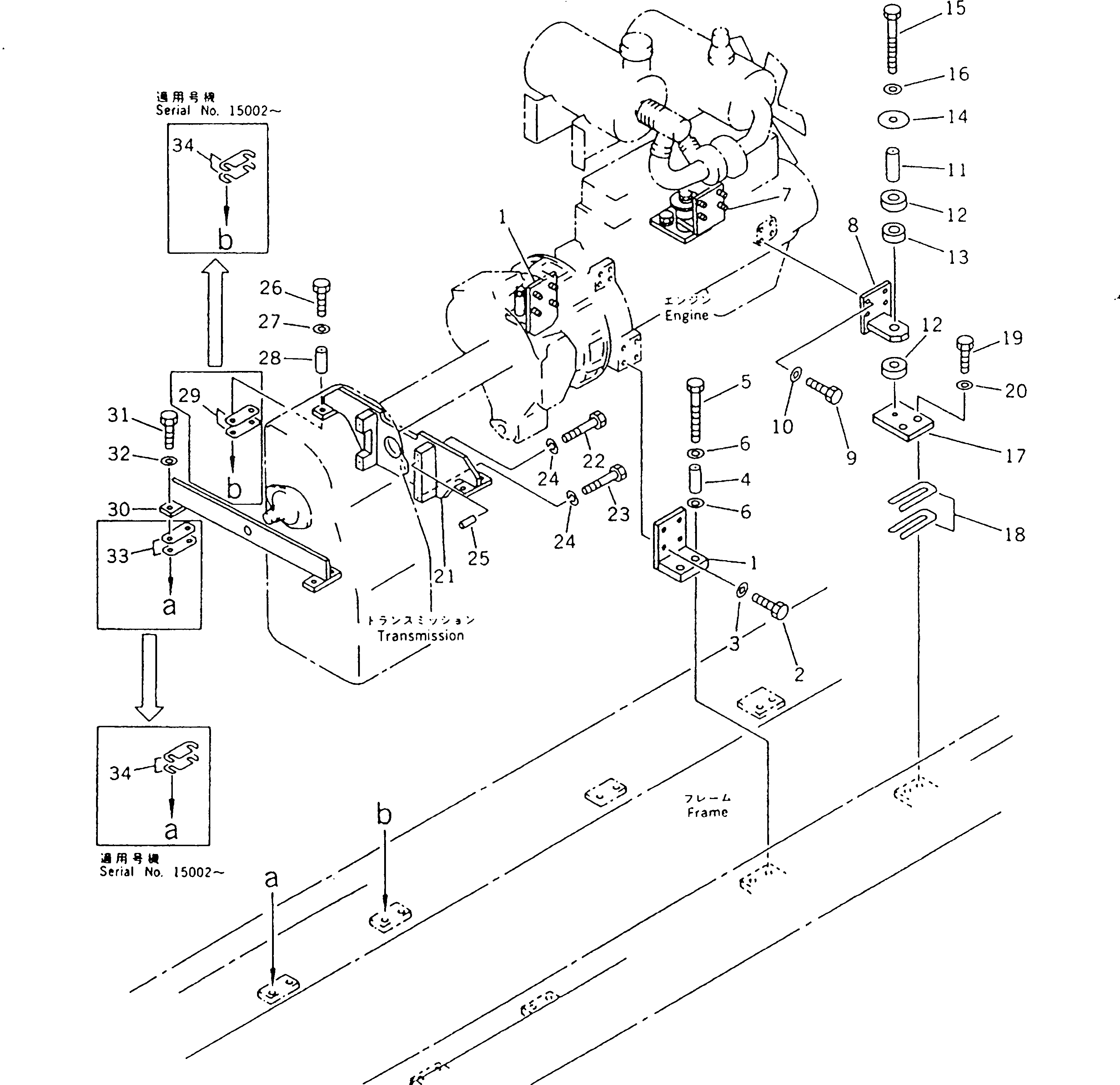
1

23A-01-12310

BRACKET

SN: 15001-UP

2шт.

2

01010-51240

BOLT

SN: 15001-UP

8шт.

3

01643-31232

WASHER

SN: 15001-UP

8шт.

4

23A-01-11250

SPACER

SN: 15001-UP

4шт.

5

01011-51615

BOLT

SN: 15001-UP

4шт.

6

01643-31645

WASHER

SN: 15001-UP

8шт.

7

23A-01-12220

BRACKET

SN: 15001-UP

1шт.

8

23A-01-12230

BRACKET

SN: 15001-UP

1шт.

9

01010-51035

BOLT

SN: 15001-UP

8шт.

10

01643-31032

WASHER

SN: 15001-UP

8шт.

11

23A-01-11250

SPACER

SN: 15001-UP

2шт.

12

23A-01-11210

CUSHION

SN: 15001-UP

4шт.

13

23B-01-11240

CUSHION

SN: 15001-UP

2шт.

14

23A-01-11260

PLATE

SN: 15001-UP

2шт.

15

01010-51695

BOLT

SN: 15001-UP

2шт.

16

01643-31645

WASHER

SN: 15001-UP

2шт.

17

23A-01-12240

PLATE

SN: 15001-UP

2шт.

18

235-01-11340

SHIM¤ 1.0MM

SN: 15001-UP

6шт.

19

01010-51660

BOLT

SN: 15001-UP

4шт.

20

01643-31645

WASHER

SN: 15001-UP

4шт.

21

23A-14-11120

SUPPORT

SN: 15001-UP

1шт.

22

01011-51000

BOLT

SN: 15001-UP

1шт.

23

01010-51095

BOLT

SN: 15001-UP

3шт.

24

01643-31032

WASHER

SN: 15001-UP

4шт.

25

04020-01228

PIN,DOWEL

SN: 15001-UP

2шт.

26

01011-51605

BOLT

SN: 15001-UP

4шт.

27

01643-31645

WASHER

SN: 15001-UP

4шт.

28

23A-01-11250

SPACER

SN: 15001-UP

4шт.

29

23A-01-11270

SHIM¤ 1.0MM

SN: 15001-15001

6шт.

30

23A-14-11110

SUPPORT

SN: 15001-UP

1шт.

31

01010-51645

BOLT

SN: 15001-UP

4шт.

32

01643-31645

WASHER

SN: 15001-UP

4шт.

33

23A-01-11270

SHIM¤ 1.0MM

SN: 15001-15001

6шт.

34

23A-01-00120

SHIM ASS'Y

SN: 15002-UP

4шт.

|34

0

SHIM¤ 0.2MM

SN: 15002-UP

3шт.

|34

0

SHIM¤ 0.5MM

SN: 15002-UP

2шт.

|34

0

SHIM¤ 1.0MM

SN: 15002-UP

1шт.

Выбрано товаров: 37