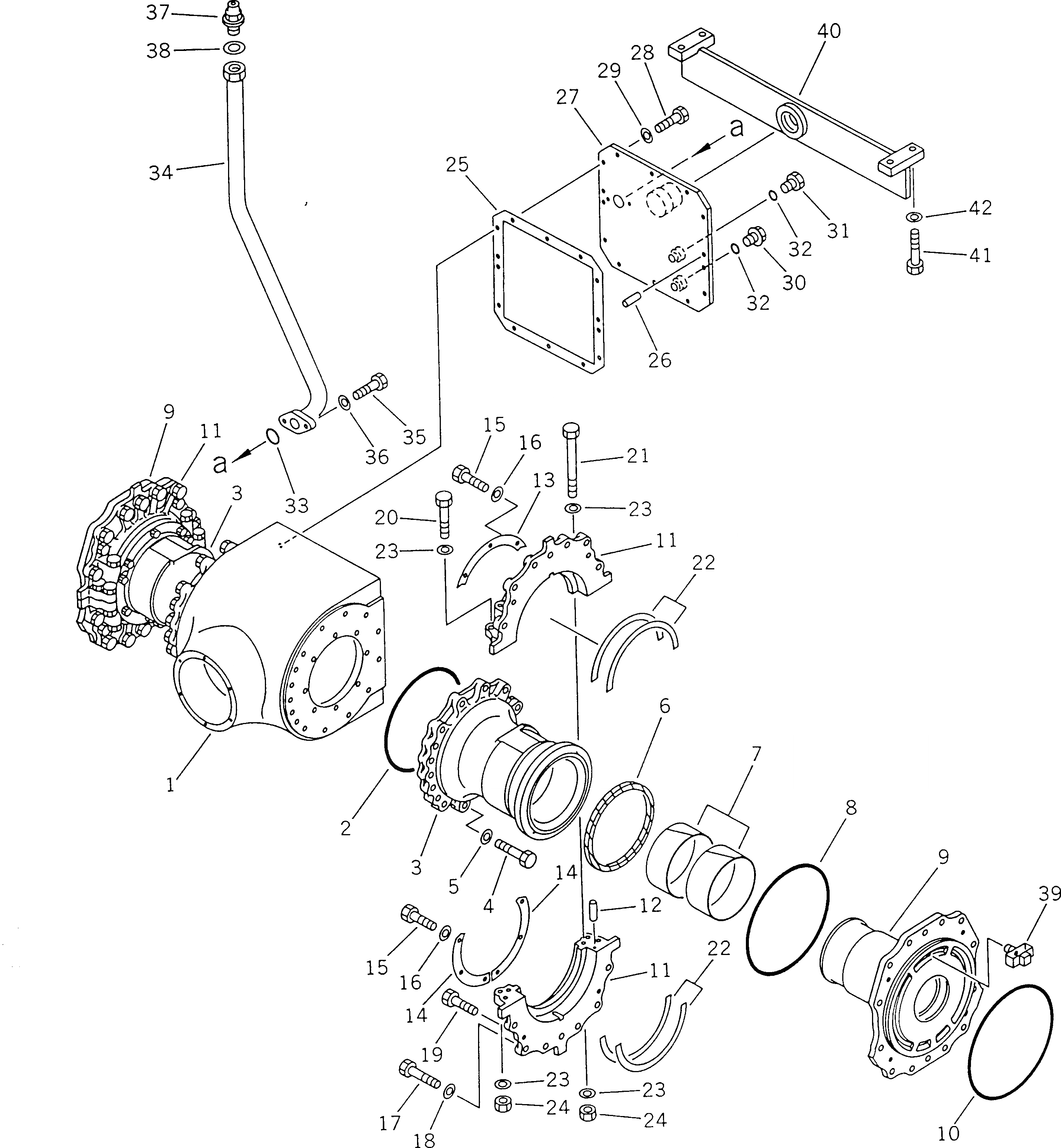
Запчасти Komatsu GD510R-1 КОРПУС КОНЕЧН. ПЕРЕДАЧИ(№-) СИЛОВАЯ ПЕРЕДАЧА

Схема запчастей Komatsu GD510R-1 - КОРПУС КОНЕЧН. ПЕРЕДАЧИ(№-) СИЛОВАЯ ПЕРЕДАЧА
FIT
1:1
100%

Артикул

Название

Примечание

Количество

|1

23A-22-01022

FINAL DRIVE ASS'Y

SN: 15360-UP

1шт.

|$$2

THIS ASSEMBLY CONSISTS OF ALL PARTS SHOWN IN FIGS.2601A AND 2605.

-1шт.

1

23A-22-11110

CASE

SN: 15001-UP

1шт.

2

07000-15290

O-RING (K2)

SN: 15001-UP

2шт.

3

23A-22-11121

CASE,SIDE

SN: 15360-UP

2шт.

4

01010-51660

BOLT

SN: 15001-UP

30шт.

5

01643-31645

WASHER

SN: 15001-UP

30шт.

6

23D-22-11750

SEAL (K2)

SN: 15360-UP

2шт.

7

23A-22-11450

BUSHING

SN: 15001-UP

4шт.

8

23A-22-11490

O-RING (K2)

SN: 15001-UP

2шт.

9

23A-22-11131

FLANGE

SN: 15360-UP

2шт.

10

07000-15310

O-RING (K2)

SN: 15001-UP

2шт.

|11

23A-22-11402

CAGE ASS'Y

SN: 15360-UP

2шт.

11

0

CAGE,UPPER

SN: 15360-UP

1шт.

|11

0

CAGE,LOWER

SN: 15360-UP

1шт.

12

0

PIN,DOWEL

SN: 15001-UP

2шт.

13

23D-22-11730

PLATE

SN: 15360-UP

2шт.

14

23D-22-11740

PLATE

SN: 15360-UP

4шт.

15

01010-50822

BOLT

SN: 15360-UP

18шт.

16

01643-30823

WASHER

SN: 15360-UP

18шт.

17

01010-51665

BOLT

SN: 15001-UP

28шт.

18

01643-31645

WASHER

SN: 15001-UP

28шт.

19

01010-51225

BOLT

SN: 15001-UP

8шт.

20

01010-51280

BOLT

SN: 15001-UP

8шт.

21

711-28-16560

BOLT

SN: 15360-UP

4шт.

22

23A-22-11460

WASHER

SN: 15001-UP

8шт.

23

01643-31232

WASHER

SN: 15360-UP

24шт.

24

01580-11210

NUT

SN: 15001-UP

12шт.

25

238-22-15122

GASKET (K2)

SN: .-UP

1шт.

|25

0

GASKET (K2)

SN: .-.

1шт.

|25

0

GASKET (K2)

SN: 15001-.

1шт.

26

04020-01228

PIN

SN: 15001-UP

2шт.

27

23A-22-11530

COVER

SN: 15001-UP

1шт.

28

01010-51235

BOLT

SN: 15001-UP

12шт.

29

01643-31232

WASHER

SN: 15001-UP

12шт.

30

07044-12412

PLUG

SN: 15001-UP

1шт.

31

07040-12414

PLUG

SN: 15001-UP

1шт.

32

07002-12434

O-RING (K2)

SN: 15001-UP

2шт.

33

07000-13045

O-RING (K2)

SN: 15001-UP

1шт.

34

23A-22-11560

TUBE

SN: 15001-UP

1шт.

35

01010-51235

BOLT

SN: 15001-UP

2шт.

36

01643-31232

WASHER

SN: 15001-UP

2шт.

37

232-23-11220

BREATHER

SN: 15001-UP

1шт.

38

07003-03036

GASKET (K2)

SN: 15001-UP

1шт.

39

23A-22-11510

TUBE

SN: 15001-UP

2шт.

40

23B-22-11430

HANGER

SN: 15001-UP

1шт.

41

01010-51650

BOLT

SN: 15001-UP

4шт.

42

01643-31645

WASHER

SN: 15001-UP

4шт.

Выбрано товаров: 48