Запчасти Komatsu GD510R-1 СИСТЕМА ТРУБ РАДИАТОРА(№9-) КОМПОНЕНТЫ ДВИГАТЕЛЯ И ЭЛЕКТРИКА

Схема запчастей Komatsu GD510R-1 - СИСТЕМА ТРУБ РАДИАТОРА(№9-) КОМПОНЕНТЫ ДВИГАТЕЛЯ И ЭЛЕКТРИКА
FIT
1:1
100%

Артикул

Название

Примечание

Количество

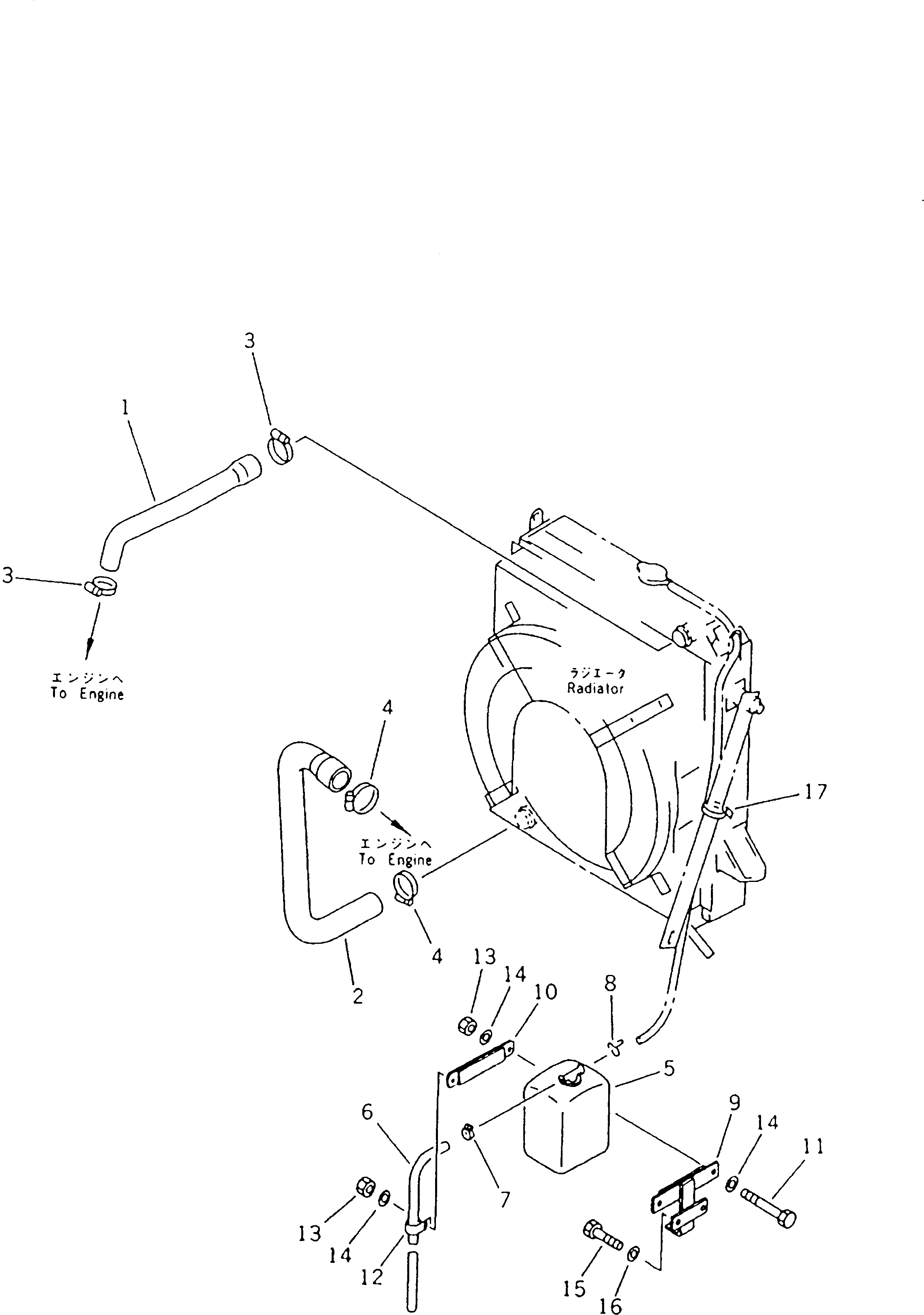
1

23A-03-21210

HOSE

SN: 15090-UP

1шт.

2

23A-03-21220

HOSE

SN: 15090-UP

1шт.

3

07281-00489

CLAMP

SN: 15090-UP

2шт.

4

07281-00549

CLAMP

SN: 15090-UP

2шт.

5

23A-03-12270

TANK

SN: 15090-UP

1шт.

6

07270-00880

TUBE

SN: 15090-UP

1шт.

7

07281-00167

CLAMP

SN: 15090-UP

1шт.

8

206-03-43340

CLIP

SN: 15090-UP

1шт.

9

23A-03-21320

BRACKET

SN: 15090-UP

1шт.

10

23A-03-21330

PLATE

SN: 15090-UP

1шт.

11

01011-51075

BOLT

SN: 15090-UP

2шт.

12

08036-11214

CLIP

SN: 15090-UP

1шт.

13

01598-01011

NUT

SN: 15090-UP

2шт.

14

01643-31032

WASHER

SN: 15090-UP

4шт.

15

01010-51018

BOLT

SN: 15090-UP

2шт.

16

01643-31032

WASHER

SN: 15090-UP

2шт.

17

08034-00519

BAND

SN: 15090-UP

1шт.

Выбрано товаров: 17