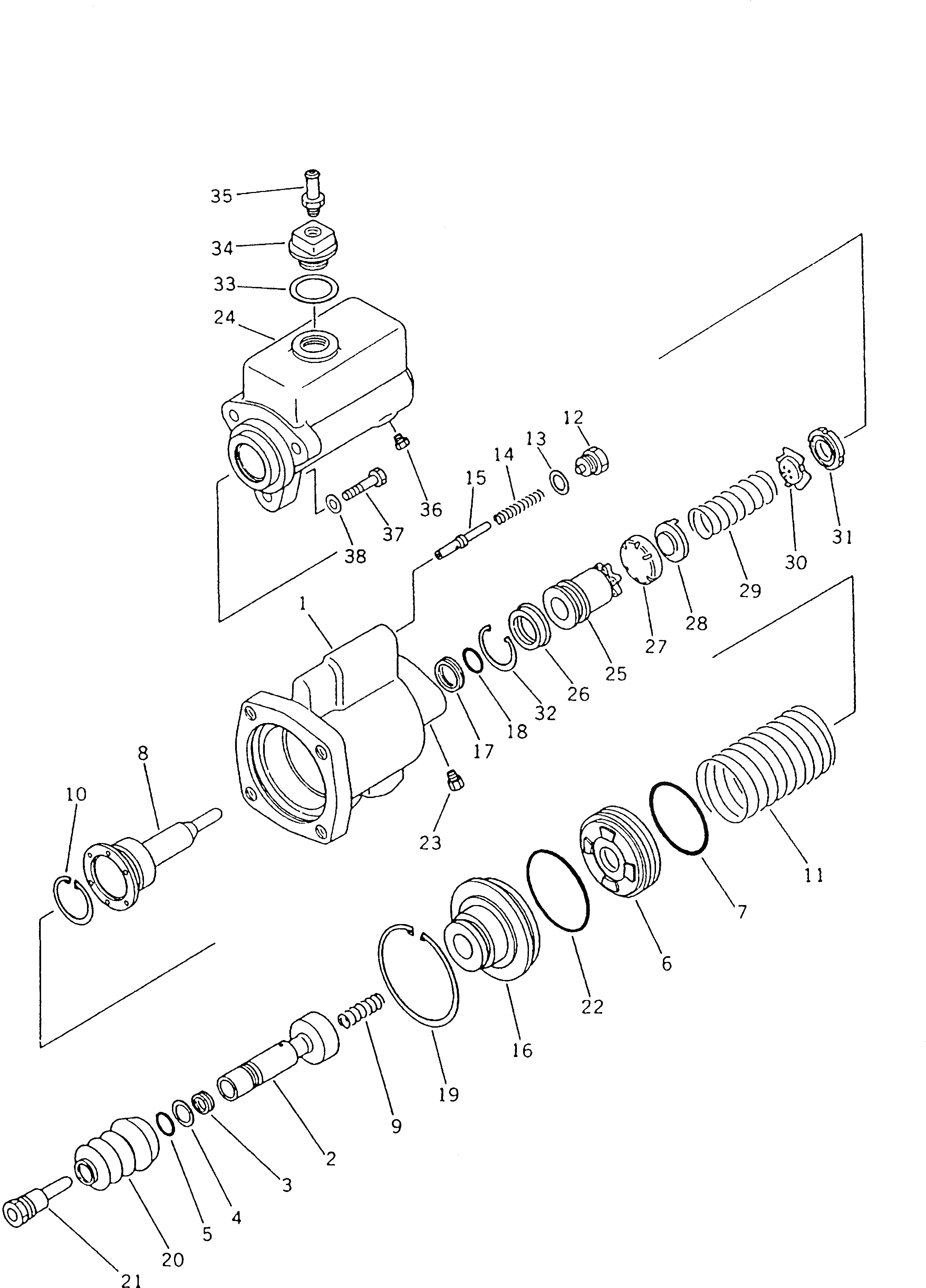
Запчасти Komatsu GD510R-1 УСИЛИТЕЛЬ И ГЛАВН. ЦИЛИНДР РУЛЕВ. УПРАВЛЕНИЕ И СИСТЕМА УПРАВЛЕНИЯS

Схема запчастей Komatsu GD510R-1 - УСИЛИТЕЛЬ И ГЛАВН. ЦИЛИНДР РУЛЕВ. УПРАВЛЕНИЕ И СИСТЕМА УПРАВЛЕНИЯS
FIT
1:1
100%

Артикул

Название

Примечание

Количество

|$0

23A-43-13111

CYLINDER ASS'Y,BOOSTER AND MASTER

SN: 15370-UP

1шт.

|$1

23A-43-13110

CYLINDER ASS'Y,BOOSTER AND MASTER

SN: 15001-15369

1шт.

|$2

23A-43-13211

CYLINDER ASS'Y,BOOSTER

SN: 15370-UP

1шт.

|$3

23A-43-13210

CYLINDER ASS'Y,BOOSTER

SN: 15001-15369

1шт.

1

23A-43-13220

BODY

SN: 15001-UP

1шт.

2

23A-43-13230

PISTON

SN: 15001-UP

1шт.

3

232-843-1410

CAP (K5)

SN: 15001-UP

1шт.

4

232-843-1421

RING,BACK-UP (K5)

SN: 15001-UP

1шт.

5

232-843-1480

O-RING (K5)

SN: 15001-UP

1шт.

6

23A-43-13240

PISTON

SN: 15001-UP

1шт.

7

238-43-19330

O-RING (K5)

SN: 15001-UP

1шт.

8

23A-43-13250

CYLINDER

SN: 15001-UP

1шт.

9

232-843-1320

SPRING

SN: 15001-UP

1шт.

10

23A-43-13260

RING,SNAP

SN: 15001-UP

1шт.

11

23A-43-13270

SPRING

SN: 15001-UP

1шт.

12

23A-43-13280

BOLT

SN: 15001-UP

1шт.

13

238-43-19360

GASKET (K5)

SN: 15001-UP

1шт.

14

23A-43-13291

SPRING

SN: 15370-UP

1шт.

14

23A-43-13290

SPRING

SN: 15001-15369

1шт.

15

232-843-1270

SEAT

SN: 15001-UP

1шт.

16

23A-43-13310

STOPPER

SN: 15001-UP

1шт.

17

238-43-19350

SEAL (K5)

SN: 15001-UP

1шт.

18

238-43-19340

O-RING (K5)

SN: 15001-UP

1шт.

19

04065-09030

RING,SNAP

SN: 15001-UP

1шт.

20

238-43-19310

BOOT (K5)

SN: 15001-UP

1шт.

21

23A-43-13320

ROD

SN: 15001-UP

1шт.

22

238-43-19320

O-RING (K5)

SN: 15001-UP

1шт.

23

232-843-1430

FILTER ASS'Y

SN: 15001-UP

1шт.

|$28

23A-43-13330

CYLINDER ASS'Y,MASTER

SN: 15001-UP

1шт.

24

232-843-1510

CYLINDER

SN: 15001-UP

1шт.

|$30

23A-43-13450

PISTON ASS'Y (K6)

SN: 15001-UP

1шт.

25

23A-43-13340

PISTON

SN: 15001-UP

1шт.

26

23A-43-13350

CAP

SN: 15001-UP

1шт.

27

23A-43-13360

CAP (K6)

SN: 15001-UP

1шт.

28

23A-43-13370

RETAINER (K6)

SN: 15001-UP

1шт.

29

23A-43-13550

SPRING (K6)

SN: 15001-UP

1шт.

30

23A-43-13380

CHECK VALVE ASS'Y (K6)

SN: 15001-UP

1шт.

31

232-843-1680

SEAT (K6)

SN: 15001-UP

1шт.

32

23A-43-13390

RING,SNAP (K6)

SN: 15001-UP

1шт.

33

238-43-19370

GASKET (K6)

SN: 15001-UP

1шт.

34

23A-43-13410

CAP

SN: 15001-UP

1шт.

35

23A-43-13420

JOINT

SN: 15001-UP

1шт.

36

232-843-1720

PLUG

SN: 15001-UP

1шт.

37

23A-43-13440

BOLT

SN: 15001-UP

3шт.

38

23A-43-13430

WASHER,SPRING

SN: 15001-UP

3шт.

Выбрано товаров: 45